GM Service Manual Online
For 1990-2009 cars only

Special Tools

J 41340 Ignition Lock Holding Fixture

Ignition Lock Cylinder

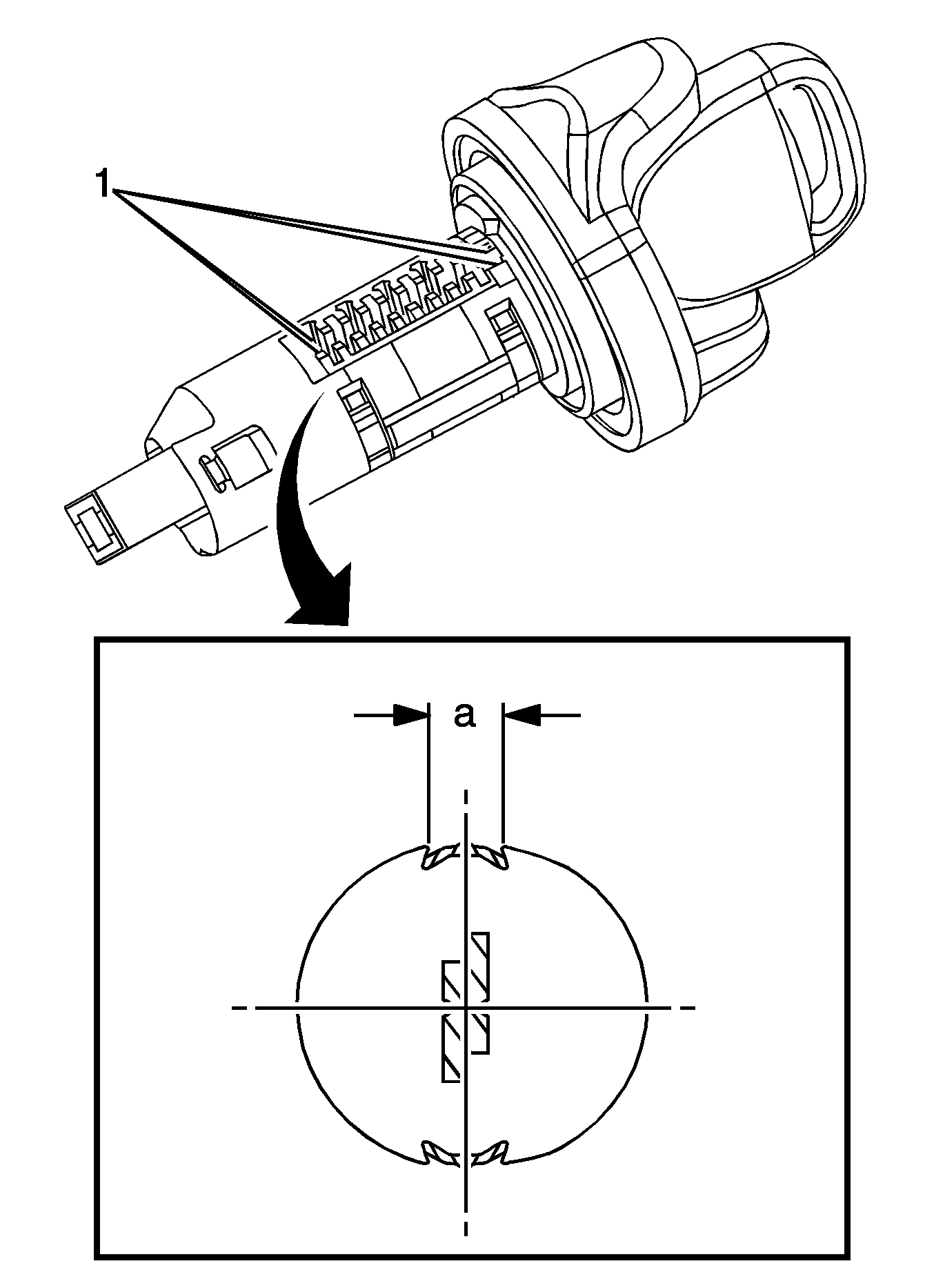
The column-mount ignition lock cylinder uses 9 of the 10 key cut positions, 1-9 when counting from the key head. The tumbler orientations alternate in adjacent locations from side to side with 5 on one side and 4 on the other.


    Object Number: 1987987  Size: MH

    Important: The ignition lock cylinder tumblers (3) are not self-retaining and must be held in place if the key is not fully inserted into the lock cylinder or until the tumbler retainers (4) are properly staked into the cylinder.

  1. Hold the uncoded cylinder assembly (1) positioned so the side with the retention lug is facing upward, spring-loaded retainer facing downward.
  2. Insert one tumbler spring (2) each into the 3 tumbler spring holes.
  3. The first tumbler to be loaded will be key cut position 1, the first number in the key code. Determine the cut depth at this position and install the corresponding tumbler (3) into the tumbler slot nearest the front of the cylinder assembly (1), the end where the key is inserted. It may be necessary to move the sidebar (5), already pre-assembled into the uncoded cylinder assembly, out slightly to fully install the tumbler into the correct tumbler slot.
  4. In the same manner, determine the cut depth and corresponding tumbler and install the 4 remaining tumblers (3) into the tumbler slots located at key cut positions 3, 5, 7, and 9.
  5. Check for correct loading by holding the tumblers (3) in position and fully inserting the matching key into the cylinder assembly (1). The sidebar (5) should be flush with the outside diameter of the cylinder assembly.
  6. Rotate the cylinder assembly (1) so that the side with the retention lug is facing downward, spring-loaded retainer facing upward, and then remove the matching key. Remember the tumblers (3) are not self-retaining and must be held in place.
  7. Insert one tumbler spring (2) each into the 4 tumbler spring holes.
  8. The first tumbler to be loaded will be key cut position 2. Determine the cut depth at this position and install the corresponding tumbler (3) into the tumbler slot nearest the front of the cylinder assembly.
  9. In the same manner, determine the cut depth and corresponding tumbler and install the 3 remaining tumblers (3) into the tumbler slots located at key cut positions 4, 6, and 8.
  10. Check for correct loading by holding the tumblers (3) in position and fully inserting the matching key into the cylinder assembly (1). The sidebar (5) should be flush with the outside diameter of the cylinder assembly.
  11. Lightly lubricate the tumbler (3) surfaces using the lubrication provided.
  12. Load lubricated lock cylinder assembly into J 41340 and staking tool.

  13. Object Number: 1987988  Size: MH
  14. With the matching key fully inserted in the cylinder assembly (1), install and stake one tumbler retainer into recessed area on the cylinder. Stake the retainer in 4 places (6) making sure staked area is below flush with outside diameter of cylinder. Be careful not to damage the cylinder assembly while staking the tumbler retainer.
  15. Rotate the cylinder assembly to the opposite side and repeat the procedure defined in step 13.

Front Side Door Lock Cylinder

The front side door lock cylinder uses 7 of the 10 key cut positions, 4-10 when counting from the key head. The tumbler orientations alternate in adjacent locations from side to side with 4 on each side.


    Object Number: 1987986  Size: MH

    Important: The front side door lock cylinder tumblers (3) are not self-retaining and must be held in place if the key is not fully inserted into the lock cylinder or until the cylinder (1) is assembled into the case assembly (4).

  1. Hold the uncoded cylinder (1) positioned so the side with 4 tumbler spring holes is facing upward, as shown.
  2. Insert one tumbler spring (2) each into the 4 tumbler spring holes.
  3. The first tumbler to be loaded will be key cut position 4, the fourth number in the key code. Determine the cut depth at this position and install the corresponding tumbler (3) into the tumbler slot nearest the front of the lock cylinder assembly, the end where the key is inserted.
  4. In the same manner, determine the cut depth and corresponding tumbler and install the 3 remaining tumblers (3) into the tumbler slots located at key cut positions 6, 8, and 10.
  5. Check for correct loading by holding the tumblers (3) in position and fully inserting the matching key into the cylinder (1). All tumblers should be flush with the outside diameter of the cylinder.
  6. Rotate the cylinder (1) so that the side with 3 tumbler spring holes is facing downward and then remove the matching key. Remember the tumblers (3) are not self-retaining and must be held in place.
  7. Insert one tumbler spring (2) each into the 3 tumbler spring holes.
  8. The first tumbler to be loaded will be key cut position 5. Determine the cut depth at this position and install the corresponding tumbler (3) into the tumbler slot nearest the front of the cylinder.
  9. In the same manner, determine the cut depth and corresponding tumbler and install the 3 remaining tumblers (3) into the tumbler slots located at key cut positions 7 and 9.
  10. Check for correct loading by holding the tumblers (3) in position and fully inserting the matching key into the cylinder (1). All tumblers should be flush with the outside diameter of the cylinder.
  11. Lightly lubricate tumbler (3) surfaces using the lubrication provided.
  12. Hold the case assembly (4) with the pre-staked detent spring retainer facing downward.
  13. First insert one detent spring (5) and then one detent ball (6) into the detent spring hole located to the rear and inside of the cylinder case assembly (4). The detent spring and detent ball are not self-retaining and must be held in place until the coded cylinder is installed into the case assembly.
  14. Caution: Wear safety glasses in order to avoid eye damage.

  15. With the matching key fully inserted into the coded cylinder, install the coded cylinder into the case assembly (4). Make sure the detent spring (5) and detent ball (6) are held in place until the coded cylinder is fully installed. The detent ball should line up with the V-shaped groove on the rear of the cylinder, which will prevent the detent spring and detent ball from falling out of the case assembly.
  16. Remove the matching key being careful to keep the coded cylinder (1) fully inserted into the case assembly (4).
  17. Insert one shutter spring (7) each into the 2 shutter spring holes located on the front face of the cylinder (1).
  18. Install the shutter assembly (8) into the recessed area on the front face of the cylinder (1). Be sure that the ends of the pin on the shutter assembly are positioned in the pin cavities located in the front face of the cylinder.
  19. Install the lock cylinder cap (9) by aligning the drain hole in the cap with the bottom of the case assembly (4). Snap the cap into place with light hand pressure. Be sure the cap is securely retained on the case assembly. Also, be sure that the shutter springs (7) push the shutter assembly (8) up against the inside surface of the cap.
  20. Install the lever (10) onto the end of the cylinder (1).
  21. Install the retaining ring (11) in the groove at the end of the cylinder (1) to secure the lever (10) to the cylinder.
  22. Snap the rod retainer (12) into the hole in the lever (10).

Instrument Panel Compartment Door Lock Cylinder

The instrument panel (I/P) compartment door lock cylinder uses 4 of the 10 key cut positions, 7-10 when counting from the key head. The tumbler orientations alternate in adjacent locations with all 4 tumblers (3) located on the same side. A stainless steel retaining tumbler is used in the I/P compartment door lock cylinder to retain the lock cylinder in the latch assembly and does not move when the key is inserted. The retaining tumbler is located in the tumbler slot closest to the head of the cylinder assembly (1) and comes pre-installed in the cylinder.


    Object Number: 1987989  Size: MH
  1. Hold the uncoded cylinder assembly (1) positioned so the side with 4 tumbler spring holes is facing upward.
  2. Insert one tumbler spring (2) each into the 4 tumbler spring holes.
  3. The first tumbler to be loaded will be key cut position 7, the seventh number in the key code. Determine the cut depth at this position and install the corresponding tumbler (3) into the tumbler slot nearest the front of the cylinder assembly (1), the end where the key is inserted.
  4. In the same manner, determine the cut depth and corresponding tumbler and install the 3 remaining tumblers (3) into the tumbler slots located at key cut positions 8, 9 and 10.
  5. Snap the tumblers (3) into place with light hand pressure.
  6. Check for correct tumbler loading by fully inserting the matching key into the cylinder (1). All tumblers (3) should be flush with the outside diameter of the cylinder.