GM Service Manual Online
For 1990-2009 cars only

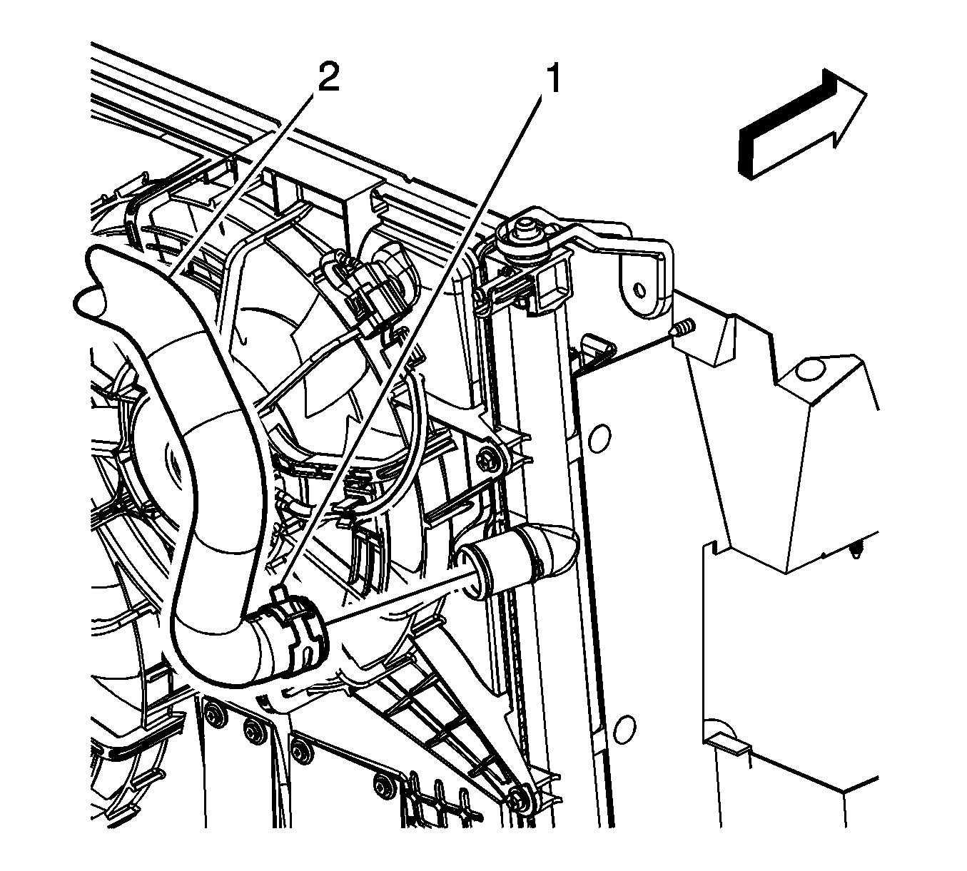
Radiator Inlet Hose Replacement LY7, LLT


Object Number: 1978237  Size: MF

Callout

Component Name

Preliminary Procedure

    • Drain the coolant. Refer to Cooling System Draining and Filling.
    • Remove the radiator fan shroud. Refer to Engine Coolant Fan Shroud Replacement

1

Radiator Inlet Hose

Procedure

Using J 38185 reposition the radiator inlet hose clamps.

Special Tools

J 38185 Hose Clamp Pliers

Radiator Inlet Hose Replacement LSA

Special Tools

J 38185 Hose Clamp Pliers

Removal Procedure

  1. Drain the cooling system. Refer to Cooling System Draining and Filling.
  2. Remove the front compartment sight shield. Refer to Front Compartment Sight Shields Replacement

  3. Object Number: 2173896  Size: SH
  4. Reposition the radiator inlet hose clamp (1) at radiator using J 38185 Hose Clamp Pliers .
  5. Remove the radiator inlet hose (2) from the radiator.

  6. Object Number: 2173900  Size: SH
  7. Unclip the radiator inlet hose retainer (1) from the fan shroud.

  8. Object Number: 2173893  Size: SH
  9. Reposition the radiator inlet hose clamp (1) at engine using J 38185 Hose Clamp Pliers .
  10. Remove the radiator inlet hose (2) from the engine.
  11. Remove the radiator inlet hose from the vehicle.

Installation Procedure


    Object Number: 2173893  Size: SH
  1. Install the radiator outlet hose to the vehicle.
  2. Install the radiator inlet hose (2) to the engine.
  3. Reposition the radiator inlet hose clamp (2) at engine using J 38185 Hose Clamp Pliers .

  4. Object Number: 2173900  Size: SH
  5. Clip the radiator inlet hose retainer (1) to the fan shroud.

  6. Object Number: 2173896  Size: SH
  7. Install the radiator inlet hose (2) to the radiator.
  8. Reposition the radiator inlet hose clamp (1) at radiator using J 38185 Hose Clamp Pliers .
  9. Install the front compartment sight shield. Refer to Front Compartment Sight Shields Replacement
  10. Fill the cooling system. Refer to Cooling System Draining and Filling.