GM Service Manual Online
For 1990-2009 cars only

    Object Number: 2054370  Size: SH

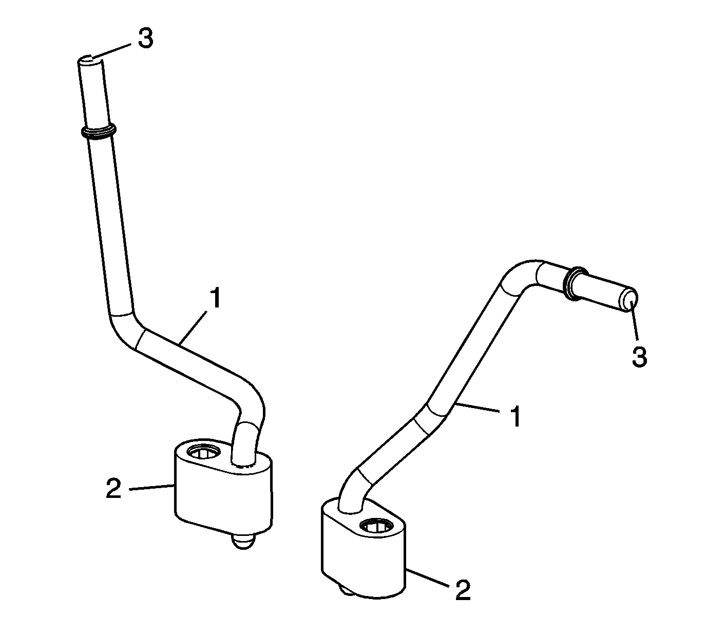
    Note: Do not use the engine coolant air bleed pipe seals again. Upon installation of the pipes, install NEW seals.

  1. Remove the seals (1) from the pipes.

  2. Object Number: 2054371  Size: SH
  3. Clean the pipes in solvent.
  4. Warning: Refer to Safety Glasses Warning in the Preface section.

  5. Dry the pipes with compressed air.
  6. Inspect the pipes for damaged sealing surfaces (1, 2) or restrictions within the pipe (3).