GM Service Manual Online
For 1990-2009 cars only

Brake Pressure Modulator Valve Replacement CTS

Removal Procedure

Warning: Refer to Brake Fluid Irritant Warning in the Preface section.

Caution: Refer to Brake Fluid Effects on Paint and Electrical Components Caution in the Preface section.

Caution: To prevent equipment damage, never connect or disconnect the wiring harness connection from the EBCM with the ignition switch in the ON position.


    Object Number: 1906544  Size: SH
  1. Place the ignition switch in the OFF position.
  2. Remove the RH front compartment sight shield. Refer to Front Compartment Sight Shields Replacement.
  3. Thoroughly clean the area around the EBCM of all dirt and debris.
  4. Disconnect the secondary brake pressure modulator valve (BPMV) inlet brake pipe fitting (1).
  5. Cap the brake pipe fitting and plug the BPMV inlet port to prevent brake fluid loss and contamination.


    Object Number: 1906545  Size: SH
  6. Disconnect the primary BPMV inlet brake pipe fitting (1).
  7. Cap the brake pipe fitting and plug the BPMV inlet port to prevent brake fluid loss and contamination.

  8. Remove the electronic brake control module (EBCM). Refer to Electronic Brake and Traction Control Module with Brake Pressure Modulator Valve Replacement.

  9. Object Number: 1906546  Size: SH
  10. Disconnect the LF brake pipe fitting (1).
  11. Cap the brake pipe fitting and plug the BPMV outlet port to prevent brake fluid loss and contamination.


    Object Number: 1906547  Size: SH
  12. Disconnect the RR brake pipe fitting (1).
  13. Cap the brake pipe fitting and plug the BPMV outlet port to prevent brake fluid loss and contamination.


    Object Number: 1906549  Size: SH
  14. Disconnect the LR brake pipe fitting (1).
  15. Cap the brake pipe fitting and plug the BPMV outlet port to prevent brake fluid loss and contamination.


    Object Number: 1906551  Size: SH
  16. Disconnect the RF brake pipe fitting (1).
  17. Cap the brake pipe fitting and plug the BPMV outlet port to prevent brake fluid loss and contamination.


    Object Number: 1906552  Size: SH
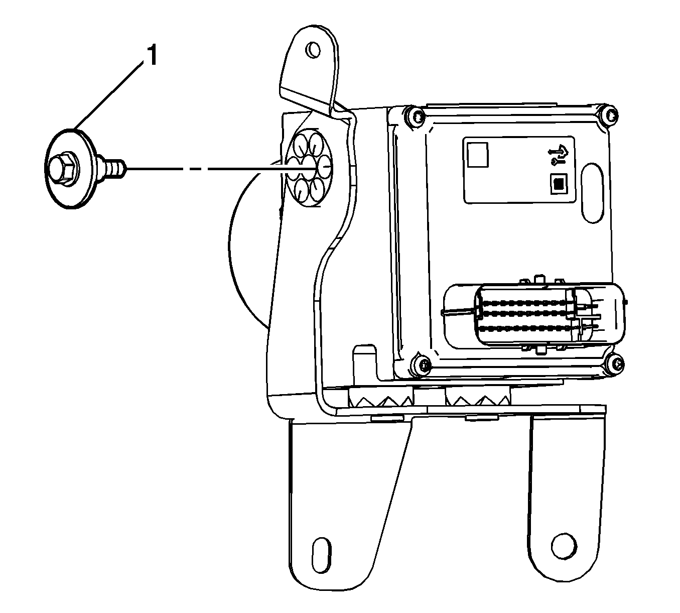
  18. Remove the BPMV bolt (1).

  19. Object Number: 1906553  Size: SH
  20. Remove the BPMV (1).

Installation Procedure


    Object Number: 1906553  Size: SH
  1. Install the BPMV (1).
  2. Caution: Refer to Fastener Caution in the Preface section.


    Object Number: 1906552  Size: SH
  3. Install the BPMV bolt (1) and tighten to  12 N·m (106 lb in).

  4. Object Number: 1906551  Size: SH
  5. Connect the RF brake pipe fitting (1) and tighten to  20 N·m (15 lb ft).

  6. Object Number: 1906549  Size: SH
  7. Connect the LR brake pipe fitting (1) and tighten to  20 N·m (15 lb ft).

  8. Object Number: 1906547  Size: SH
  9. Connect the RR brake pipe fitting (1) and tighten to  20 N·m (15 lb ft).

  10. Object Number: 1906546  Size: SH
  11. Connect the LF brake pipe fitting (1) and tighten to  20 N·m (15 lb ft).
  12. Install the electronic brake control module (EBCM). Refer to Electronic Brake and Traction Control Module with Brake Pressure Modulator Valve Replacement.

  13. Object Number: 1906545  Size: SH
  14. Connect the primary BPMV inlet brake pipe fitting (1) and tighten to  32 N·m (24 lb ft).

  15. Object Number: 1906544  Size: SH
  16. Connect the secondary BPMV inlet brake pipe fitting (1) and tighten to  32 N·m (24 lb ft).
  17. Install the RH front compartment sight shield. Refer to Front Compartment Sight Shields Replacement.
  18. Bleed the hydraulic brake system. Refer to Hydraulic Brake System Bleeding.
  19. Perform the Antilock Brake System Automated Bleed Procedure.
  20. Perform the Diagnostic System Check - Vehicle.

Brake Pressure Modulator Valve Replacement CTS-V

Removal Procedure

Warning: Refer to Brake Fluid Irritant Warning in the Preface section.

Caution: Refer to Brake Fluid Effects on Paint and Electrical Components Caution in the Preface section.

Caution: To prevent equipment damage, never connect or disconnect the wiring harness connection from the EBCM with the ignition switch in the ON position.


    Object Number: 2090847  Size: SH
  1. Place the ignition switch in the OFF position.
  2. Remove the front compartment sight shield. Refer to Front Compartment Sight Shields Replacement.
  3. Release the brake clips from the vehicle front frame (1).
  4. Thoroughly clean the area around the electronic brake control module (EBCM) and the brake pressure modulator valve (BPMV) of all dirt and debris.

  5. Object Number: 2090849  Size: SH

    Note: Note the location of the brake pipes to the BPMV to ensure correct installation.

  6. Disconnect the left front (1), master cylinder primary (2), and master cylinder secondary (3) brake pipe fittings from the BPMV.
  7. Cap the brake pipe fittings and plug the BPMV inlet and outlet ports to prevent brake fluid loss and contamination.


    Object Number: 2090851  Size: SH
  8. Release the brake pipe clips (1) from the right side engine compartment side rail.
  9. Note: Note the location of the brake pipes to the BPMV to ensure correct installation.


    Object Number: 2090854  Size: SH
  10. Disconnect the right rear (1), left rear (2), and the right front (3) brake pipe fittings from the BPMV.
  11. Cap the brake pipe fittings and plug the BPMV outlet ports to prevent brake fluid loss and contamination.


    Object Number: 2090856  Size: SH
  12. Remove the BPMV assembly bracket bolt (1).
  13. Raise and support the vehicle. Refer to Lifting and Jacking the Vehicle.
  14. Remove the front air deflector. Refer to Front Air Deflector Replacement.
  15. Remove the right front wheelhouse liner. Refer to Front Wheelhouse Liner Replacement.
  16. Remove the washer solvent container fasteners and position the washer solvent container aside. Refer to Windshield Washer Solvent Container Replacement.

  17. Object Number: 2090860  Size: SH
  18. Disconnect the electronic brake control module (EBCM) electrical connector
  19. Remove the BPMV bracket nuts (1).

  20. Object Number: 2090863  Size: SH
  21. Remove the BPMV and bracket assembly (1).

  22. Object Number: 2090865  Size: SH
  23. Remove the BPMV bolt (1).

  24. Object Number: 2090873  Size: SH
  25. Remove the BPMV (1) from the bracket.
  26. If installing a new BPMV, remove the EBCM. Refer to Electronic Brake and Traction Control Module with Brake Pressure Modulator Valve Replacement.

Installation Procedure

  1. If installing a new BPMV, install the EBCM. Refer to Electronic Brake and Traction Control Module with Brake Pressure Modulator Valve Replacement.

  2. Object Number: 2090873  Size: SH
  3. Install the BPMV (1) to the bracket.
  4. Caution: Refer to Fastener Caution in the Preface section.


    Object Number: 2090865  Size: SH
  5. Install the BPMV bolt (1) and tighten to 12 N·m (106 lb in).

  6. Object Number: 2090863  Size: SH
  7. Install the BPMV and bracket assembly (1).

  8. Object Number: 2090860  Size: SH
  9. Install the BPMV bracket nuts (1) and tighten to 12 N·m (106 lb in).
  10. Connect the electronic brake control module (EBCM) electrical connector
  11. Position the washer solver container and install the fasteners. Refer to Windshield Washer Solvent Container Replacement.
  12. Install the right front wheelhouse liner. Refer to Front Wheelhouse Liner Replacement.
  13. Install the front air deflector. Refer to Front Air Deflector Replacement.
  14. Lower the vehicle.

  15. Object Number: 2090856  Size: SH
  16. Install the BPMV assembly bracket bolt (1) and tighten to 12 N·m (106 lb in).

  17. Object Number: 2090854  Size: SH

    Note: Note the location of the brake pipes to the BPMV to ensure correct installation.

  18. Connect the right rear (1), left rear (2), and the right front (3) brake pipe fittings from the BPMV and tighten to 20 N·m (15 lb ft).

  19. Object Number: 2090851  Size: SH
  20. Install the brake pipes to the brake pipe clips (1) on the right side engine compartment side rail.
  21. Note: Note the location of the brake pipes to the BPMV to ensure correct installation.


    Object Number: 2090849  Size: SH
  22. Connect the left front (1) brake pipe fitting to the BPMV and tighten to 20 N·m (15 lb ft).
  23. Connect the master cylinder primary (2), and master cylinder secondary (3) brake pipe fittings to the BPMV and tighten to 32 N·m (24 lb ft).

  24. Object Number: 2090847  Size: SH
  25. Install the brake pipes to the brake pipe clips on the vehicle front frame (1).
  26. Install the front compartment sight shield. Refer to Front Compartment Sight Shields Replacement.
  27. Bleed the hydraulic brake system. Refer to Hydraulic Brake System Bleeding.
  28. Perform the Antilock Brake System Automated Bleed Procedure.
  29. Perform the Diagnostic System Check - Vehicle.