GM Service Manual Online
For 1990-2009 cars only

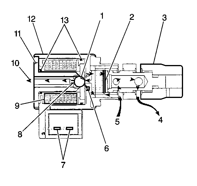
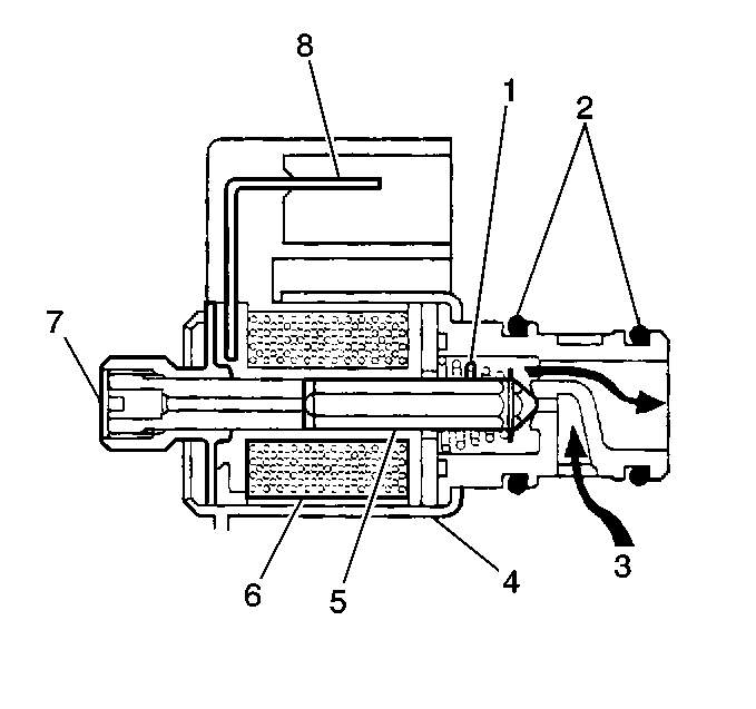
Torque Converter Clutch (TCC) Solenoid


Object Number: 20490  Size: SF
(1)Electrical Connection
(2)Thrust Spring
(3)Fluid Pressure Control
(4)Fluid Pressure Supply
(5)Housing
(6)Iron Core
(7)Winding

The TCC solenoid connects to the adapter case valve body. When the solenoid de-energizes (Off), the solenoid spring force keeps the plunger against the fluid inlet port. This blocks the solenoid feed fluid pressure from entering the solenoid signal fluid circuit. With the plunger in this position, the solenoid signal fluid circuit is open to an exhaust port through the end of the solenoid. Without the solenoid signal fluid pressure, the TCC releases.

When the solenoid energizes (commanded on) by the TCM, the magnetic field in the coil moves the plunger against the solenoid spring force, away from the fluid inlet port, and blocks the exhaust port through the solenoid. This allows the solenoid feed fluid to flow through the solenoid, causing the signal fluid pressure to increase, thereby moving the TCC control valve into the apply position.

The TCC is normally applied in the 3rd and the 4th gears (but will apply in the 2nd gear on some models if transmission fluid temperatures become excessively high). The following conditions will cause the TCM to change the operating state of the solenoid:

    • The TCC releases prior to all of the upshifts and downshifts and may reapply after the shift is complete if operating conditions are appropriate.
    • The TCC is released when the brake pedal is depressed, as signaled to the TCM by the brake switch.
    • Transmission fluid must be above approximately 30°C (86°F) before the TCM will signal TCC apply.
    • Engine coolant temperature must be above approximately 70°C (158°F) before the TCM will signal TCC apply.
    • In the event of an electrical or system failure the TCC solenoid remains off and the TCC released.

Shift Solenoids

The shift solenoids are located in the valve body in the main case of the transmission. The TCM selects the required gear by controlling the appropriate solenoid. The following table indicates the solenoid control combinations which result in the 4 forward drive ranges:

Shift Solenoid Control Combinations

D1

D2

D3

D4

1-2/3-4 Shift Solenoid

OFF

ON

ON

OFF

2-3 Shift Solenoid

ON

ON

OFF

OFF

The Shift Solenoids are supplied power via the Transmission Power Relay (internal to the TCM). The TCM controls the solenoids by grounding the appropriate control circuit via an internal solid state device called a driver. Hydraulic properties are as follows:

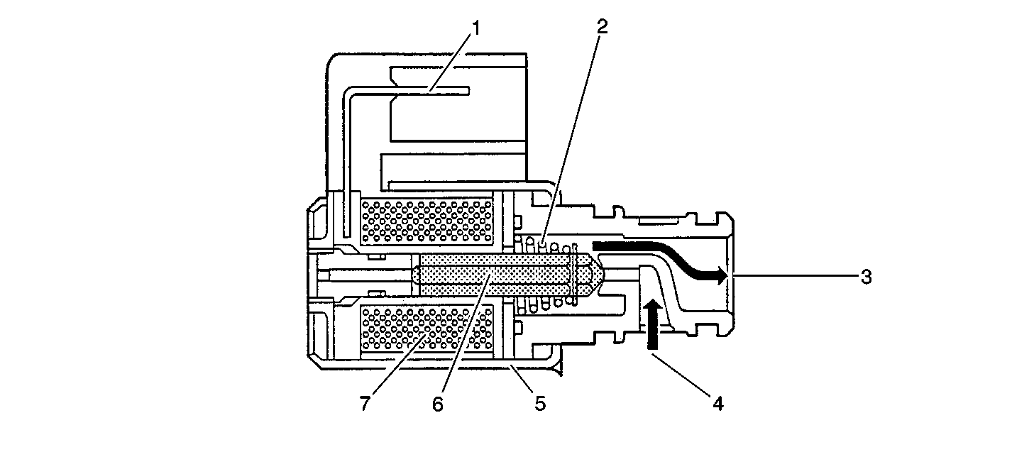
1-2/3-4 Shift Solenoid (Normally Closed)


Object Number: 61670  Size: SH
(1)Spring
(2)O-Ring
(3)D32/1-2 Fluid
(4)Frame
(5)Plunger
(6)Coil Assembly
(7)Exhaust
(8)Connector

1-2/3-4 Shift Solenoid - Located at the end of the 1-2/3-4 shift valve, the 1-2/3-4 shift solenoid is normally closed and fed D32/1-2 fluid. When de-energized (OFF), solenoid spring force keeps the plunger against the fluid inlet port. This blocks D32/1-2 fluid pressure from acting on the 1-2/3-4 shift valve. Without D32/1-2 fluid pressure, 1-2.3-4 shift valve spring force keeps the shift valve in the 1st and 4th gear position. With the shift valve in this position the cavity at the end of the valve is open to an exhaust port through the solenoid.

When energized (commanded on) by the TCM, the magnetic field created in the coil moves the plunger against solenoid spring force, away from the fluid inlet port, and blocks the exhaust port through the solenoid. This allows D32/1-2 fluid to flow through the solenoid and act on the 1-2/3-4 shift valve. With the exhaust port blocked, D32/1-2 fluid pressure at the end of the shift valve increases, moves the valve against spring force and into the 2nd and 3rd gear positions.

2-3 Shift Solenoid (Normally Open)


Object Number: 61673  Size: SH
(1)Metering Ball
(2)O-Ring
(3)D32/1-2 Fluid
(4)Frame
(5)Plunger
(6)Coil Assembly
(7)Exhaust
(8)Connector
(9)Spring

2-3 Shift Solenoid -- Located at the end of the 2-3 shift valve, the 2-3 shift solenoid is normally open and fed D32/1-2 fluid. When de-energized (off), D32/1-2 fluid pressure moves the solenoid checkball against the solenoid spring force. This also moves the plunger in the solenoid in order to block the exhaust port in the solenoid. D32/1-2 fluid flows past the ball and acts on the 2-3 shift valve. With the exhaust port blocked, the D32/1-2 fluid pressure at the end of the shift valve increases. The D32/1-2 fluid pressure moves the shift valve against the 2-3 shift valve spring force and into the 3rd and 4th gear position.

When energized (commanded on) by the TCM, the magnetic field created in the coil moves the plunger against the solenoid checkball. The force from the plunger assists the spring force and seats the ball against the fluid inlet port, thereby blocking D32/1-2 fluid. With the plunger in this position, residual D32/1-2 fluid at the end of the shift valve opens to the exhaust passage through the solenoid. This allows the shift valve spring force to move the 2-3 shift valve into the 1st and 2nd gear position.

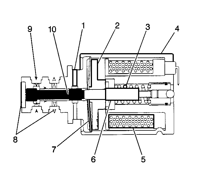
Band Apply Solenoid


Object Number: 61669  Size: SH
(1)Metering Ball
(2)Snap Ring
(3)Spool Housing
(4)Pressure Control (Servo Apply)
(5)Pressure Supply (D32/1-2)
(6)Spring
(7)Connector
(8)Exhaust Seat
(9)Coil Assembly
(10)Flow Regulation (Exhaust)
(11)Center Pole
(12)Housing
(13)O-Ring

The Band Apply solenoid is a normally open solenoid that controls the brake band apply and the release. This is accomplished by the TCM varying the solenoid's duty cycle (percent time energized) in relation to vehicle operating conditions and the various TCM input signals. The brake band is always applied in the 1st and 2nd gears.

Power to the solenoid is provided by the TCM via the Transmission Power Relay Output circuit. The Band Apply solenoid control circuit has a constant operating frequency of 32 Hz (cycles per second). The solenoid movement is controlled by varying the duty cycle (on-time) of this signal. With the solenoid being normally open, a greater duty cycle drives the solenoid farther closed causing less fluid flow through the solenoid (closed with respect to D32/1-2 fluid entering the valve and servo apply fluid circuit). The Hydraulic properties are as follows:

    • Brake Band Applied -- When the band is applied, the electrical path to ground for the solenoid is always open and the duty cycle is 0%. Therefore, the current does not flow through the coil in the solenoid and the solenoid is always off. With the solenoid off, the solenoid spring force holds the ball away from the D32/1-2 fluid inlet port and against the exhaust seat in the solenoid. This allows the D32/1-2 fluid to flow through the inlet port, past the ball, and into the two passages leading to the solenoid valve. This D32/1-2 fluid pressure moves the valve completely to one side. With the valve in this position, D32/1-2 fluid flows through the valve and enters the servo apply fluid circuit, tightening the band.
    • Brake Band Application Rate -- If the solenoid remained off and fully open (0 percent duty cycle) during the band apply, the servo apply fluid pressure would increase too rapidly and create a harsh shift. Therefore, in order to control the band apply rate, the solenoid's duty cycle is increased from 0 percent. As the TCM increases the duty cycle which creates a magnetic field that magnetizes the center pole, The magnetized pole repels the ball against the spring force, seating the ball against the inlet port. This allows D32/1-2 fluid from the end of the valve to exhaust past the ball and through the solenoid.
        Without D32/1-2 fluid pressure at the end of the valve, the fluid dynamics acting on the valve shift the valve completely to one side. This blocks the D32/1-2 fluid from entering the valve and supplying the servo apply fluid circuit. A higher percentage duty cycle increases the current flowing through the solenoid, thereby increasing the coil's magnetic field. This causes a slower increase in the servo apply fluid pressure and slower application of the brake band.
    • Brake Band Release -- The solenoid state during the band release depends on the vehicle speed and the gear selector lever position. During a shift from a forward Drive Range to Park, Reverse, or Neutral, or a 2-3 upshift at speeds above approximately 20 km/h (13 mph), the TCM operates the solenoid at a 0 percent duty cycle (fully open). This allows excess servo apply fluid pressure to exhaust quickly through the solenoid, thereby releasing the band quickly.
        During a 2-3 upshift at low speed, below approximately 20 km/h (13 mph), the TCM operates the solenoid at 100 percent duty cycle. With a 100 percent duty cycle the solenoid valve is completely closed, and blocks exhausting servo apply fluid from entering the valve and the D32/1-2 fluid circuit. This forces the exhausting servo apply fluid pressure through a small orifice. Orificing this fluid slows the exhaust and creates a slower band release. At low speeds a slow band release takes place in order to prevent a harsh release feel.
         Approximately every 15 seconds the TCM pulses the band apply solenoid to either a maximum or minimum duty cycle. These pulses prevent possible contamination from sticking the solenoid valve or plunger in any given position.

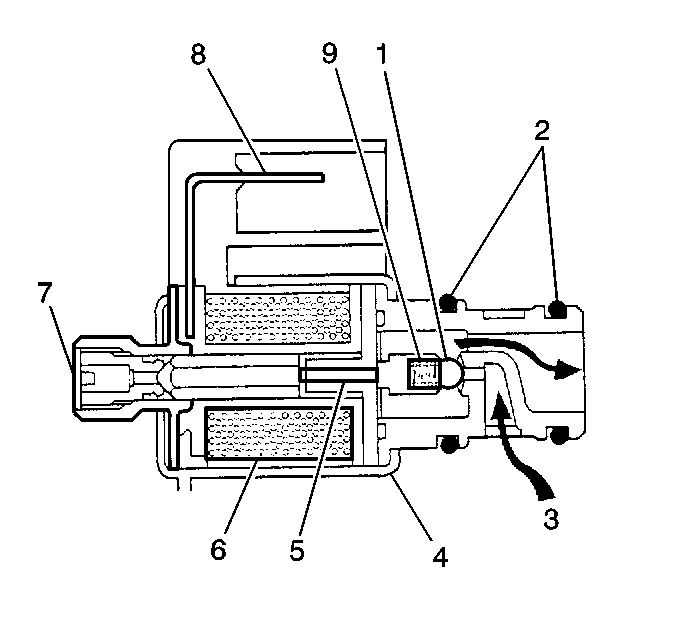
Pressure Control Solenoid


Object Number: 61663  Size: SH
(1)Exhaust
(2)Armature
(3)Spring
(4)Frame
(5)Coil Assembly
(6)Plunger
(7)Damper Spring
(8)Throttle Signal Fluid
(9)Feed Limit Fluid
(10)Valve

The Pressure Control solenoid, controlled by the TCM, is a precision electronic pressure regulator that controls the line pressure. The Pressure Control solenoid operates at approximately 600 Hz (cycles per second) and regulates the feed limit fluid pressure into the throttle signal fluid circuit. The TCM controls the pressure by varying the current at the solenoid coil. The varying the duty cycle of the solenoid controls the amount of current. A greater duty cycle creates a higher current at the solenoid. Similar to the Band Apply solenoid, the duty cycle represents the percentage of time that the current flow energizes the coil. The high frequency of the Pressure Control Solenoid acts to smooth the pulses that are created by the duty cycle.

The duty cycle and the amount of the current flow to the force motor are mainly affected by the throttle position. Both the current flow and the duty cycle are inversely proportional to the throttle angle. As the throttle angle increases, the duty cycle is decreased by the TCM which decreases the current flow.

The current flow to the solenoid creates a magnetic field that attracts the armature, thereby moving the plunger against the spring force. Note that the Pressure Control Solenoid is assembled with some transmission fluid inside. This fluid assists the damper spring in cushioning the armature movement.

At minimum throttle (idle), the duty cycle is at maximum and current flow approaches 1.1 amps (fully on). This forces the armature against the plunger and compresses the spring. Therefore, throttle signal fluid pressure acting on the end of the Pressure Control Solenoid valve moves the valve towards the armature and blocks the feed limit fluid circuit. The throttle signal fluid circuit is then open to an exhaust port and the throttle signal fluid pressure is at a minimum.

At maximum throttle, the duty cycle is at a minimum and the current flow approaches 0.1 amps (fully off). Therefore, the magnetic field is a minimum and the spring force holds the plunger, the armature and the valve against the throttle signal fluid pressure acting on the end of the valve. This closes the exhaust port and opens the throttle signal fluid circuit to the feed limit fluid, creating maximum throttle signal fluid pressure.

Under normal operating conditions between the maximum and minimum throttle positions, the TCM varies the duty cycle which varies the current flow to the Pressure Control Solenoid between approximately 0.1 and 1.1 amps in order to control the throttle signal fluid pressure. This regulates the valve between opening and closing the exhaust port in order to regulate the throttle signal fluid pressure. The throttle signal fluid pressure then controls the line pressure at the pressure regulator valve accordingly. If the electrical system becomes disabled for any reason, the current flow will be 0.0 amps and the Pressure Control Solenoid will allow maximum throttle signal fluid pressure. This creates maximum line pressure in order to prevent any apply components from slipping until the condition can be corrected.

The throttle signal fluid pressure also acts on the accumulator valve in order to increase the accumulator pressure, and the apply rate of the clutches and bands as the throttle angle increases. Remember that with greater accumulator fluid pressure, there is less cushion for clutch apply fluid.

Approximately every 20 seconds the TCM pulses the Pressure Control Solenoid at either maximum (100 percent duty cycle) or minimum current flow (0 percent duty cycle) depending on the Pressure Control Solenoid operating conditions. These pulses prevent possible contamination from sticking the Pressure Control Solenoid valve or plunger in any given position.