GM Service Manual Online
For 1990-2009 cars only
Figure 1:

SIR Module Power and Ground, DLC and Instrument Cluster


Object Number: 161940  Size: FS
SIR Components
SIR System Component Description and Definitions
Side Impact Sensors and Seat Modules Not Used on MY 97
Power Distribution Schematics
Data Link Connector Schematics
Ground Distribution Schematics
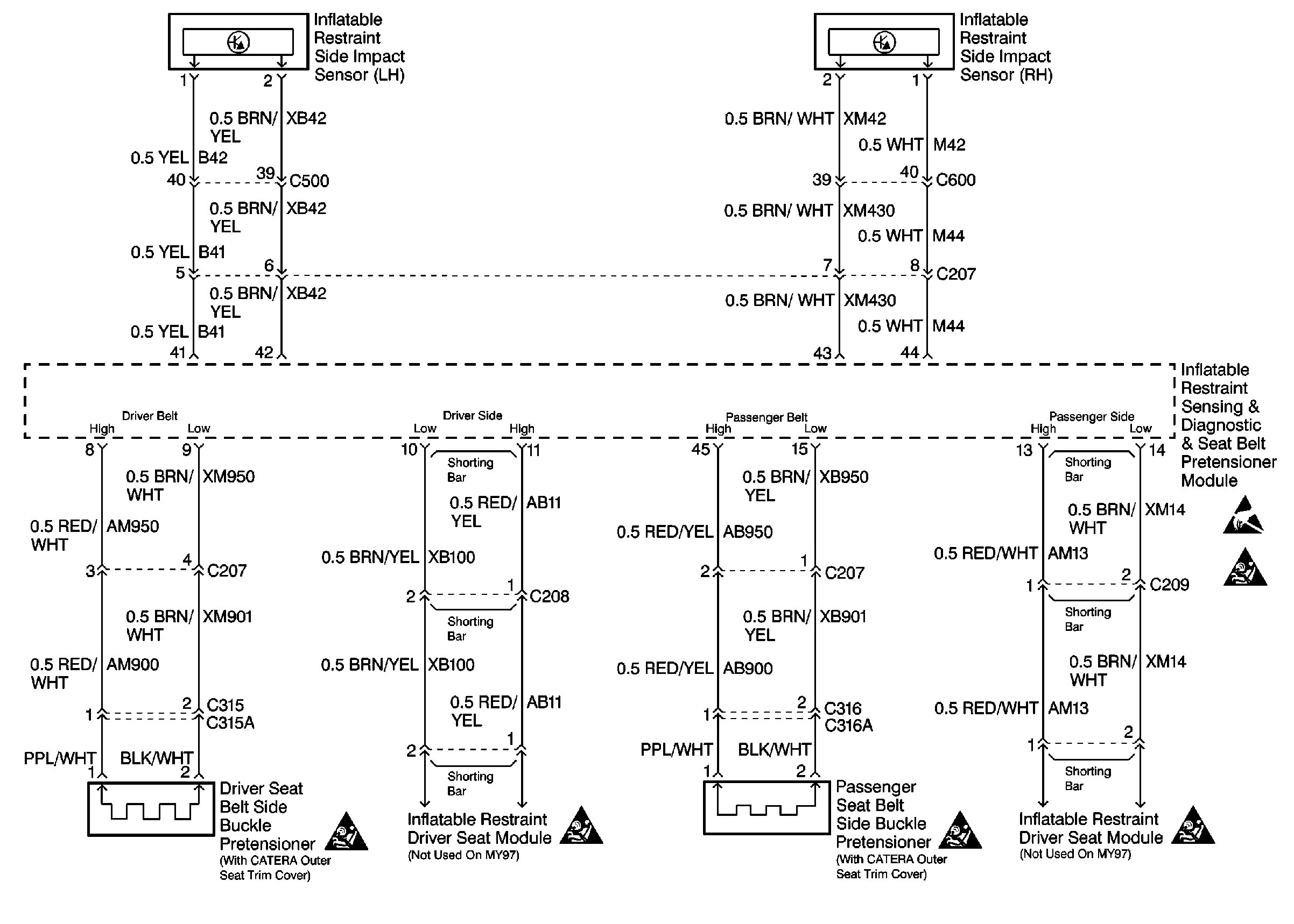
Figure 2:

Side Impact Sensors and Seat Modules Not Used on MY 97


Object Number: 161943  Size: FS
SIR Components
SIR System Component Description and Definitions
SIR Module Power and Ground, DLC and Instrument Cluster