GM Service Manual Online
For 1990-2009 cars only
Makes
🢒
Cadillac
🢒
1997
🢒
Catera
🢒
Body and Accessories
🢒
Garage Door Opener
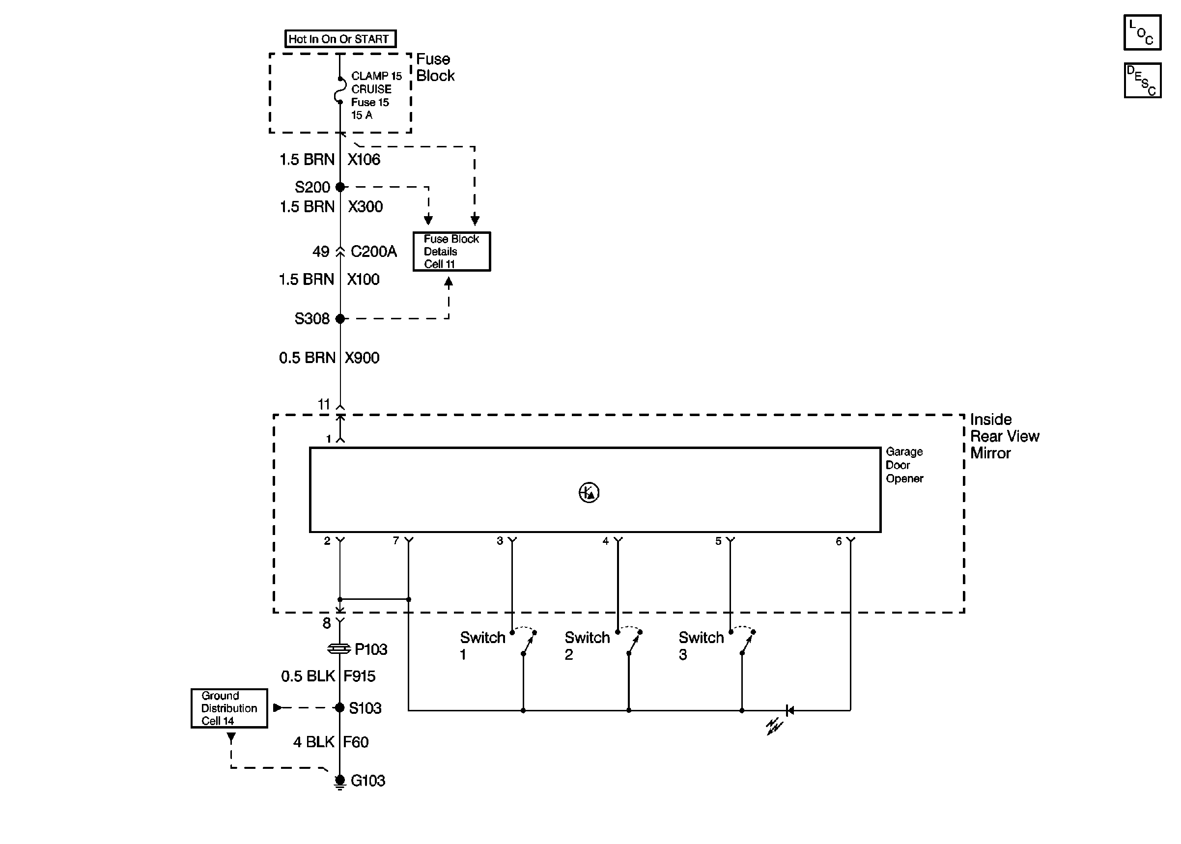
🢒 Garage Door Opener Schematics
Cell 136
Garage Door Opener Components
Garage Door Opener Circuit Description
Fuse Block Schematics Schematics
Ground Distribution Schematics