GM Service Manual Online
For 1990-2009 cars only

SMU-SECTION -6A4A-REVISED OIL PAN HOUSING

SUBJECT: SMU - SECTION 6A4A - REVISED OIL PAN HOUSING (UPPER OIL PAN) INSTALLATION PROCEDURE

MODEL: 1997 CADILLAC CATERA

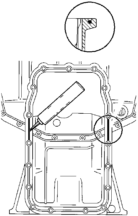
THE FOLLOWING STEPS NEED TO BE ADDED TO THE OIL PAN HOUSING INSTALLATION PROCEDURE IN SECTION 6A4A OF THE 1997 CATERA PRELIMINARY SERVICE MANUAL SUPPLEMENT. THESE ADDITIONAL STEPS ARE PERFORMED PRIOR TO INSTALLING THE RUBBER GASKET INTO THE OIL PAN HOUSING. MAKE SURE ALL SURFACES ARE CLEAN, USE A NEW RUBBER GASKET, AND PERFORM THE FOLLOWING STEPS:

1. APPLY A BEAD OF SILICONE SEALING COMPOUND, P/N 12346286 OR EQUIVALENT, IN THE BOTTOM OF THE OIL PAN GROOVE AS SHOWN IN FIGURE G3195. KEEP THE BEAD AT LEAST 10MM (0.4IN.) FROM THE BOLT HOLES TO PREVENT OOZING ONTO BOLT THREADS.

2. INSERT AND POSITION THE NEW RUBBER GASKET IN THE GROOVE OF THE OIL PAN HOUSING.

3. APPLY A 3MM (0.12 IN.) BEAD OF SILICONE SEALANT, P/N 12346286 OR EQUIVALENT, ON THE OIL PAN HOUSING SURFACES INBOARD AND OUTBOARD OF THE GASKET GROOVE AS SHOWN IN FIGURE G3196. ON PARTS OF THE HOUSING, THE SEALANT BEAD IS TO BE INBOARD OF THE GASKET GROOVE AND ON OTHER PARTS THE SEALANT BEAD IS TO BE OUTBOARD OF THE GASKET GROOVE. APPLY THE SEALANT EXACTLY AS SHOWN IN THE ILLUSTRATION. ASSEMBLY OF THE OIL PAN HOUSING MUST BE CARRIED OUT WITHIN 10 --------------------------------------------------------------- MINUTES OF APPLYING THE SILICONE SEALANT. -----------------------------------------

4. PROCEED WITH THE INSTALLATION OF THE OIL PAN HOUSING AS OUTLINED IN SECTION 6A4A OF THE 1997 CATERA PRELIMINARY SERVICE MANUAL SUPPLEMENT.

FIGURES: 2 ATTACHMENTS: 0


Object Number: 169517  Size: MH


Object Number: 169518  Size: MH

GENERAL MOTORS BULLETINS ARE INTENDED FOR USE BY PROFESSIONAL TECHNICIANS, NOT A "DO-IT-YOURSELFER". THEY ARE WRITTEN TO INFORM THOSE TECHNICIANS OF CONDITIONS THAT MAY OCCUR ON SOME VEHICLES, OR TO PROVIDE INFORMATION THAT COULD ASSIST IN THE PROPER SERVICE OF A VEHICLE. PROPERLY TRAINED TECHNICIANS HAVE THE EQUIPMENT, TOOLS, SAFETY INSTRUCTIONS AND KNOW-HOW TO DO A JOB PROPERLY AND SAFELY. IF A CONDITION IS DESCRIBED, DO NOT ASSUME THAT THE BULLETIN APPLIES TO YOUR VEHICLE, OR THAT YOUR VEHICLE WILL HAVE THAT CONDITION. SEE A GENERAL MOTORS DEALER SERVICING YOUR BRAND OF GENERAL MOTORS VEHICLE FOR INFORMATION ON WHETHER YOUR VEHICLE MAY BENEFIT FROM THE INFORMATION.

COPYRIGHT 1997 GENERAL MOTORS CORPORATION. ALL RIGHTS RESERVED.