GM Service Manual Online
For 1990-2009 cars only

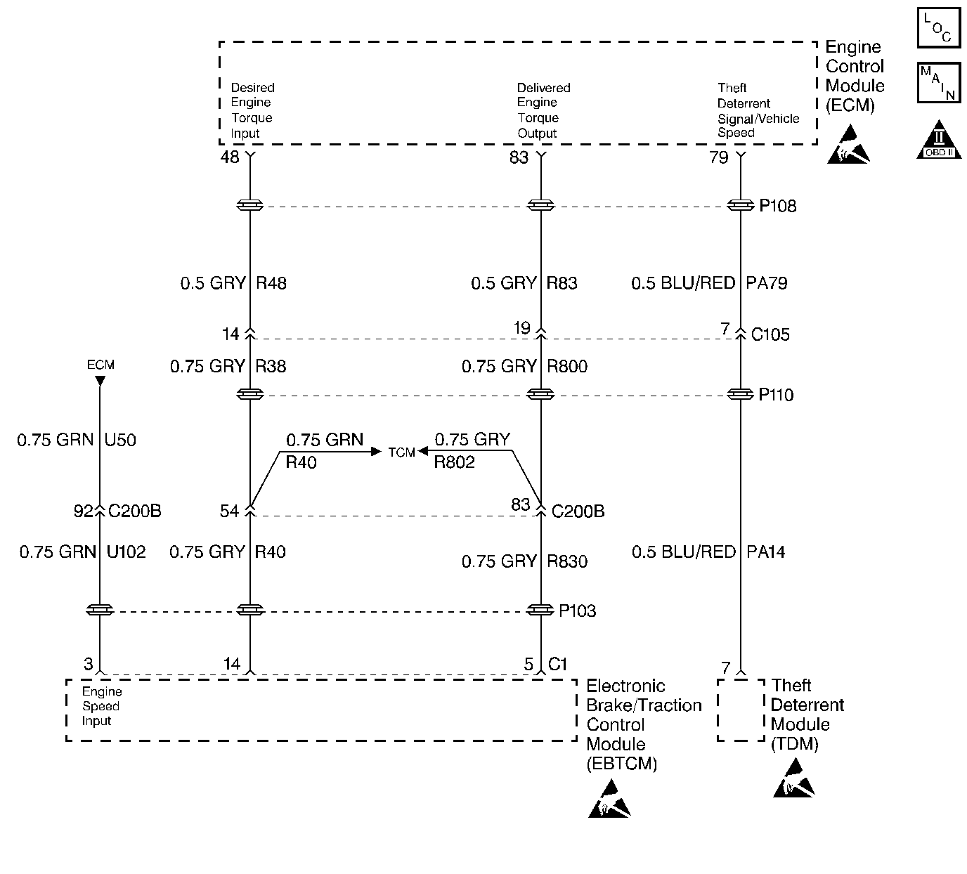
Object Number: 70490  Size: LF
Engine Controls Components
Cell 20: EBTCM and Theft Deterrent Module
OBD II Symbol Description Notice
Handling ESD Sensitive Parts Notice
Handling ESD Sensitive Parts Notice
Handling ESD Sensitive Parts Notice

Circuit Description

When the ignition switch is turned on, and the ECM illuminates the MIL (bulb check), the voltage change on the MIL control circuit is used as a wake up signal to the Theft Deterrent Module. If a problem with this circuit prevents the Theft Deterrent Module from receiving the wake up signal, this DTC will set. The head of the ignition key contains a transponder which is matched to a code in the Theft Deterrent system. If a key is used that has the wrong (or no) code, the vehicle will not start and this DTC will set. This DTC can also indicate that the Theft Deterrent Module has detected a problem within the Theft Deterrent system. The Theft Deterrent Module sends a signal to the ECM causing this DTC to set.

Conditions for Running the DTC

Engine cranking

Conditions for Setting the DTC

Requested by the Theft Deterrent Module

Action Taken When the DTC Sets

The ECM will not illuminate the malfunction indicator lamp (MIL).

Conditions for Clearing the MIL/DTC

    • The DTC clears after forty consecutive warm-up cycles if no failures report by this diagnostic or any other non-emission related diagnostic.
    • The scan tool clears the MIL/DTC.

DTC P1501 - Theft Deterrent System

Step

Action

Value(s)

Yes

No

1

Did you perform the Powertrain On-Board Diagnostic (OBD) System check?

--

Go to Theft Deterrent System Diagnosis

Go to Powertrain On Board Diagnostic (OBD) System Check