GM Service Manual Online
For 1990-2009 cars only

Engine Controls Component Views Engine Control Sensors I

Engine Compartment


Object Number: 189248  Size: LF
(1)Fuel Pressure Regulator
(2)Engine Coolant Temperature (ECT) Sensor
(3)Idle Air Control (IAC) Valve
(4)Engine Control Module (ECM)
(5)ECM Housing
(6)Camshaft Position (CMP) Sensor
(7)Intake Air Temperature (IAT) Sensor
(8)Evaporative (EVAP) Tank Solenoid Valve
(9)Evaporative (EVAP) Purge Solenoid Valve

Engine Controls Component Views Engine Control Sensors II

Engine Compartment


Object Number: 189249  Size: LF
(1)Ignition Coil
(2)Intake Plenum Switch-Over Solenoid Valve
(3)Intake Plenum Switch-Over Valve
(4)Throttle Position (TP) Sensor
(5)Intake Resonance Switch-Over Valve
(6)Intake Resonance Switch-Over Solenoid Valve
(7)Mass Air Flow (MAF) Sensor
(8)Knock Sensor (KS Bank 1)

Engine Controls Component Views Engine Control Sensors III

Top LH Side of Engine


Object Number: 189263  Size: LF
(1)Idle Air Control (IAC) Valve
(2)Intake Plenum Switch-Over Solenoid Valve
(3)Knock Sensor (KS Bank 2)
(4)Camshaft Position (CMP) Sensor
(5)Throttle Position (TP) Sensor

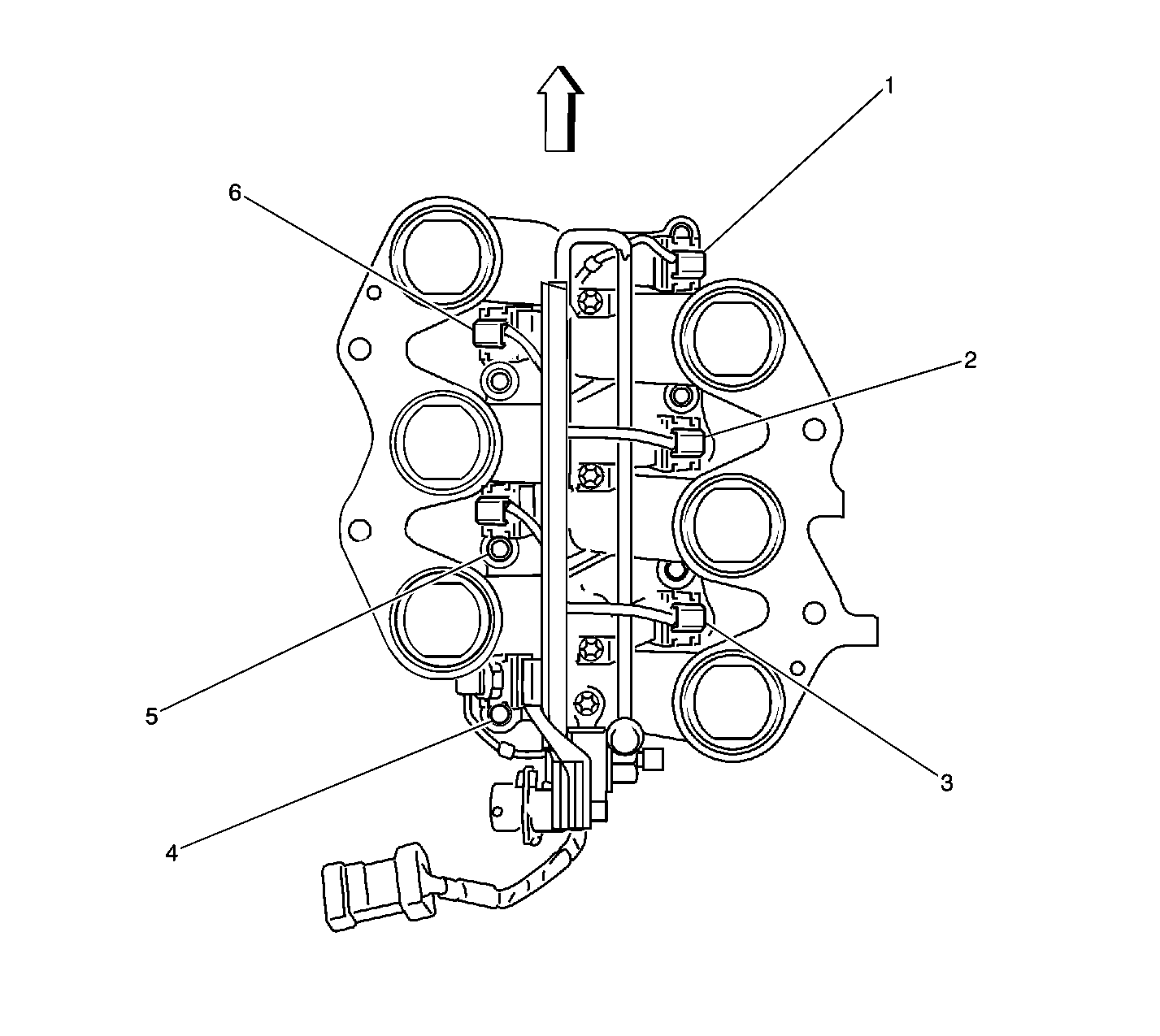
Engine Controls Component Views Fuel Injectors

Top of Engine


Object Number: 189273  Size: LF
(1)Fuel Injector (Cylinder #1)
(2)Fuel Injector (Cylinder #3)
(3)Fuel Injector (Cylinder #5)
(4)Fuel Injector (Cylinder #6)
(5)Fuel Injector (Cylinder #4)
(6)Fuel Injector (Cylinder #2)

Engine Controls Component Views ECM Blower

LH Front of Engine Compartment


Object Number: 189277  Size: LF
(1)A/C Control Wiring Harness
(2)Engine Control module (ECM) Cooling Blower

Engine Controls Component Views LH Rear of Engine Block


Object Number: 189280  Size: LF
(1)Ignition Coil
(2)Crankshaft Position (CKP) Sensor

LH Rear of Engine