GM Service Manual Online
For 1990-2009 cars only

Removal Procedure

Tools Required

    • J 36660-A
    • J 42066
    • J 42094-1
    • J 42094-2
    • J 42094-3
    • J 42094-4
    • J 42094-5
    • J 42094-6
    • J 42094-7
    • J 42094-8
    • J 42094-9
    • J 42094-10
    • J 42072
  1. Raise and support the vehicle. Refer to Lifting and Jacking the Vehicle in General Information.
  2. Remove the tire and wheel assembly. Refer to Wheel Removal in Tires and Wheels.
  3. Use the J 42066 and use a ½ in breaker bar to counter hold the rear wheel hub.

  4. Object Number: 156134  Size: SH

    Important: DO NOT allow the drive shaft to hang freely. Suspend the drive shaft upward.

  5. Remove the drive shaft bolts.
  6. Remove the drive shaft from the rear wheel hub flange.

  7. Object Number: 156148  Size: SH
  8. Remove the brake pipe clip from the lower control arm.
  9. Remove the brake pipe from the lower control arm.
  10. Remove the rear brake caliper.
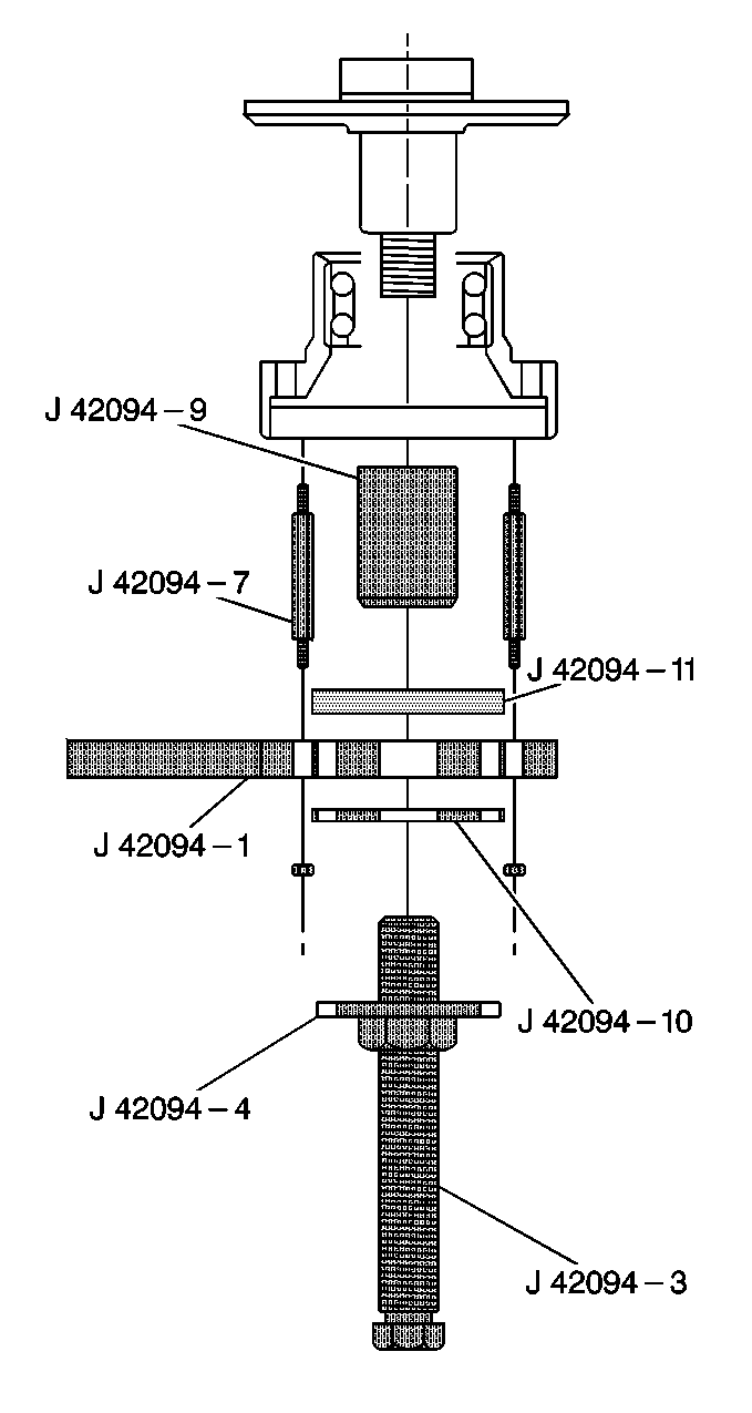
  11. Suspend the rear brake caliper. Refer to Brake Caliper Replacement in Brakes. The brake system remains closed.

  12. Object Number: 156154  Size: SH
  13. Remove the brake disc rotor set screw.
  14. Remove the brake disc rotor. It may be necessary to back off the parking brake adjustment to remove the brake disc rotor. Refer to Parking Brake Lever Adjustment in Parking Brake.

  15. Object Number: 156156  Size: SH
  16. Use the J 42072 to back out three of the four brake backing plate bolts to approximately nine revolutions or about 12 mm (0.47 in). This will allow for the rear wheel hub puller pin installation.

  17. Object Number: 156157  Size: SH
  18. Attach the J 42094-2 and attach the J 42094-1 to the rear wheel hub flange to hold the rear wheel hub while removing the rear wheel hub nut. Use the drive shaft bolts if neccesary.

  19. Object Number: 156159  Size: SH
  20. Remove the rear wheel hub nut.
  21. Use the J 42094-10 as a spacer to attach the J 42094-4 to the J 42094-1 with the supplied three bolts.

  22. Object Number: 156161  Size: LH
  23. Attach the J 42094-3 into the J 42094-4 .
  24. Place the J 42094-5 onto the J 42094-3 .

  25. Object Number: 156163  Size: SH
  26. Turn the J 42094-3 to pull off the rear wheel hub flange.

  27. Object Number: 156165  Size: LH
  28. Screw the three J 42094-7 into the back plate.
  29. Attach the J 42094-1 with the stem pointed upward, to the three J 42094-7 .

  30. Object Number: 156171  Size: SH

    Important: Damage to the wheel bearing seal may occur when pressing out the rear wheel hub. Inspect the bearing seal prior to re-installation of the rear wheel hub if re-using the old bearing seal.

  31. Use the J 42094-3 to press out the rear wheel hub.

  32. Object Number: 156175  Size: SH
  33. Remove the wheel bearing retaining ring.

  34. Object Number: 156179  Size: LH
  35. Attach the J 42094-6 to the end of the Threaded Driver.

  36. Object Number: 156180  Size: SH
  37. Turn the J 42094-3 clockwise to press out the bearing.

Installation Procedure


    Object Number: 205570  Size: LH
  1. Insert the J 42094-8 through the wheel bearing.
  2. Thread theJ 42094-8 into the J 42094-3 .

  3. Object Number: 205574  Size: SH
  4. Turn the J 42094-3 to press the wheel bearing until fully seated.

  5. Object Number: 156175  Size: SH
  6. Install the wheel bearing retaining ring.

  7. Object Number: 205577  Size: LH
  8. Insert the rear wheel J 42094-9 on the shaft of the J 42094-3 . Ensure that the rear wheel J 42094-9 is on the inner ring of the wheel bearing.
  9. Attach the J 42094-1 to the J 42094-7 .
  10. Remove the supplied anchoring bolts from the J 42094-4 .
  11. Thread the rear wheel hub into the J 42094-3 .
  12. Important: 

       • Center the J 42094-3 inside of the wheel bearing to prevent binding of the rear wheel hub while drawing it into the bearing.
       • Adjust the J 42094-7 if necessary.

  13. Draw the rear wheel hub into the wheel bearing by holding the J 42094-3 and turning the J 42094-4 clockwise.
  14. Remove the tool assembly from the vehicle.

  15. Object Number: 205585  Size: LH
  16. Use drive shaft bolts to connect the following special tools to the rear wheel flange:
  17. • Connect J 42094-4 .
    • Connect J 42094-3 .
    • Connect J 42094-1 .
    • Connect J 42094-2 .
    • Connect J 42094-10 .
  18. Install the rear wheel hub flange to the rear wheel hub. Ensure the splines are aligned properly.
  19. Press the rear wheel hub flange fully onto the rear wheel hub by turning the J 42094-4 clockwise and counter-holding with the J 42094-3 .
  20. Remove the following special tools:
  21. • Remove the J 42094-4 .
    • Remove the J 42094-3 .
    • Remove the J 42094-10 .

    Object Number: 156157  Size: SH
  22. Leave the following special tools attached to the rear wheel flange:
  23. • Leave the J 42094-1
    • Leave the J 42094-2

    Notice: Use the correct fastener in the correct location. Replacement fasteners must be the correct part number for that application. Fasteners requiring replacement or fasteners requiring the use of thread locking compound or sealant are identified in the service procedure. Do not use paints, lubricants, or corrosion inhibitors on fasteners or fastener joint surfaces unless specified. These coatings affect fastener torque and joint clamping force and may damage the fastener. Use the correct tightening sequence and specifications when installing fasteners in order to avoid damage to parts and systems.

  24. Install the rear wheel hub nut.
  25. Tighten
    Tighten the rear wheel hub nut to 300 N·m (221 lb ft).

  26. Remove the following special tools after tightening the rear wheel hub nut:
  27. • Remove the J 42094-1 .
    • Remove the J 42094-2 .

    Object Number: 205592  Size: SH
  28. Install the retaining washer.
  29. Install the peen retaining washer to the rear wheel hub.
  30. Tighten
    Use theJ 36660-A to tighten the brake backing plate bolts to 50 N·m  (37 lb ft) + 40 °.


    Object Number: 156148  Size: SH
  31. Install the rear brake caliper. Refer to Brake Caliper Replacement in Brakes.
  32. Install the brake pipe to the lower control arm.
  33. Secure the brake pipe to the lower control arm with a clip.

  34. Object Number: 156134  Size: SH
  35. Install the drive shaft to the rear wheel hub flange.
  36. Use the J 42066 to counter hold the rear wheel hub.
  37. Install the drive shaft bolts.
  38. Tighten
    Use J 36660-A to tighten the drive shaft bolts to 50 N·m  (37 lb ft) + 70°.

  39. Install the tire and wheel assembly. Refer to Wheel Installation in Tires and Wheels.
  40. Lower the vehicle.