GM Service Manual Online
For 1990-2009 cars only

Removal Procedure

Check the cold start counter (also called a heavy duty register) with a scan tool. If there are any cold starts (below -28°C or -20°F) visually inspect the timing belt for cracks. If cracks are noted, replace the belt and clear the cold start counter. If the belt is okay, and is not replaced, do not clear the cold start counter. Refer to the vehicle maintenance schedule for inspection intervals.

Tools Required

    • J 42069 Timing Belt Alignment Kit
    • J 42098 Crank Hub Torx Socket

Notice: Failure to follow this procedure could result in severe engine damage.

  1. Disconnect the negative battery cable.
  2. Caution: Unless directed otherwise, the ignition and start switch must be in the OFF or LOCK position, and all electrical loads must be OFF before servicing any electrical component. Disconnect the negative battery cable to prevent an electrical spark should a tool or equipment come in contact with an exposed electrical terminal. Failure to follow these precautions may result in personal injury and/or damage to the vehicle or its components.

  3. Remove the intake air resonator. Refer to Intake Air Resonator Replacement .
  4. Remove the timing belt cover. Refer to Timing Belt Cover Replacement .

  5. Object Number: 217342  Size: SH
  6. Remove the harmonic balancer bolts.
  7. Remove the harmonic balancer from the crankshaft drive gear.

  8. Object Number: 158963  Size: SH
  9. Rotate the crankshaft clockwise to 60 degrees Before Top Dead Center (BTDC).

  10. Object Number: 158965  Size: SH
  11. Install the J 42069-10 Crankshaft Locking Tool to the crankshaft drive gear with the knurled bolt.
  12. Use the J 42098 Crank Hub Torx Socket to carefully turn the crankshaft in the engine rotational direction (clockwise) until the lever of the J 42069-10 Crankshaft Locking Tool firmly contacts the water pump pulley flange.
  13. Secure the moveable lever of the tool to the water pump pulley flange.
  14. Important: Ensure that the alignment of the crankshaft is not 180 degrees off.

    The alignment marks on the camshaft gears must align with the corresponding notches on the rear timing belt cover.


    Object Number: 158966  Size: SH
  15. Install the J 42069-1 and the J 42069-2 Camshaft Locking Tools to the camshaft gears. If the J 42069-1 or the J 42069-2 Camshaft Locking Tools do not fit into the teeth of the camshaft gears, it may be necessary to loosen the relevant timing belt idler pulley and turn the eccentric until the J 42069-1 or the J 42069-2 can be inserted.
  16. Loosen the timing belt tensioner and idler pulleys, remove the timing belt.
  17. Important: Do not move the crankshaft while the timing belt is removed.

    Do not move the camshaft while the timing belt is removed.

    Do not remove the locking tools, J 42069-1 and the J 42069-2 Camshaft Locking Tools, while the belt is removed.

Installation Procedure

Tools Required

    • J 42069 Timing Belt Alignment Kit
    • J 42098 Crank Hub Torx Socket

Important: Guide marks are printed on the timing belt to aid in installation. If these marks are not identifiable, install a new belt.

Arrows are printed on the timing belt indicating the required direction of travel. When installing the timing belt, ensure the arrows are traveling in engine rotational direction (clockwise).

Install the timing belt with the engine at room temperature and use care so as not to crimp the belt.

  1. Remove the J 42069-10 Crankshaft Locking Tool.
  2. Raise and support the vehicle. Refer to Lifting and Jacking the Vehicle in General Information.

  3. Object Number: 158969  Size: SH
  4. Start at the crankshaft drive gear and install the timing belt with the double dash (TDC) mark on the belt aligned with the marks on the oil pump and on the belt drive gear.
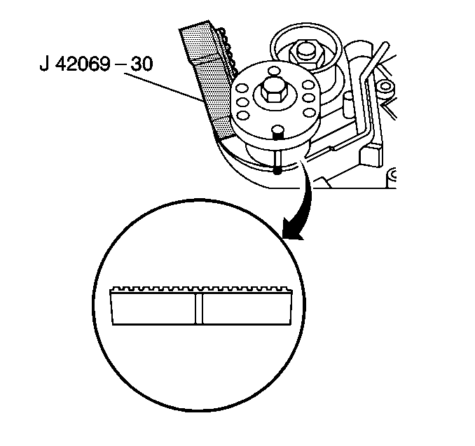
  5. Use the J 42069-30 to pinch the belt to prevent the teeth from jumping.
  6. Lower the vehicle.

  7. Object Number: 242085  Size: SH
  8. Route the timing belt through the timing belt tensioner.
  9. Slip the timing belt through camshaft gears 1 and 2 simultaneously, ensuring the dash marks on the timing belt align with the marks on the camshaft gears and the notches on the rear timing belt cover.
  10. Route the timing belt through the idler pulley for camshafts 1 and 2.
  11. Route the timing belt through the idler pulley for camshafts 3 and 4.
  12. Slip the timing belt through camshaft gears 3 and 4 simultaneously, ensuring the dash marks on the timing belt align with the marks on the camshaft gears and the notches on the rear timing belt cover.

  13. Object Number: 158973  Size: MH
  14. Measure the timing belt deflection between camshaft gear number 4 and the idler pulley for camshafts 3 and 4, the deflection must be no more than 1 cm (0.4 in).
  15. If timing belt deflection adjustment is necessary:

  16. Object Number: 158978  Size: MH
    12.1. Turn the timing belt idler pulley eccentric for camshafts 3 and 4 COUNTERCLOCKWISE, with J 42069-40, until the high point of the eccentric is in approximately the 12 o'clock position.
    12.2. Tighten the idler pulley locking bolt, while holding the eccentric with J 42069-40, until snug. The idler pulley bolt will be tightened to specifications after all final adjustments are made.
  17. Apply additional tension to the timing belt, at the idler pulley for camshafts 1 and 2, by turning the high point of the eccentric to approximately the 9 o'clock position. Then, tighten the idler pulley locking bolt, while holding the eccentric with J 42069-40, until snug. The idler pulley bolt will be tightened to specifications after all final adjustments are made.

  18. Object Number: 158979  Size: MH
  19. Set the initial timing belt tension:
  20. 14.1. Turn the tensioner eccentric COUNTERCLOCKWISE to full stop, then, turn the eccentric back until the reference mark is 1 mm (0.003 in) over the flange.
    14.2. Tighten the timing belt tensioner locking nut until snug, the locking nut will be tightened to specifications after all final adjustments are made.
  21. Inspect the alignment marks on the timing belt to ensure that they are aligned with the appropriate reference points on the camshaft gears, the rear timing belt cover and on the oil pump housing.

  22. Object Number: 158963  Size: SH
  23. Remove the J 42069-30, the J 42069-1 and the J 42069-2 locking tools from the engine.
  24. Rotate the crankshaft, with J  42098 Crank Hub Torx Socket, in the clockwise direction two revolutions stopping at 60 degrees BTDC.

  25. Object Number: 158965  Size: SH
  26. Install the J 42069-10 Crankshaft Locking Tool to the crankshaft drive gear with the knurled bolt.
  27. Turn the crankshaft until the lever of the J 42069-10 Crankshaft Locking Tool firmly contacts the water pump pulley flange.
  28. Secure the moveable lever of the tool to the water pump pulley flange.
  29. Important: The alignment marks on the timing belt will no longer align with the marks on the camshaft gears after one or more engine revolutions.

  30. Inspect the alignment of the reference marks on the camshaft gears with the notches on the rear timing belt cover, as well as, the mark on the crankshaft drive gear and oil pump housing.
  31. Use the J 42069-20 Checking Gauge to inspect the alignment of camshaft gears 3 & 4.
  32. Use the J 42069-20 Checking Gauge to inspect the alignment of camshaft gears 1 & 2.
  33. Important: The reference marks on both sets of the camshaft gears must match exactly with the marks on the J 42069-20 Checking Gauge.

    If timing belt adjustment is necessary, always set the adjustment for camshafts 3 and 4 first.

  34. If timing belt adjustment IS required, refer to Timing Belt Timing Adjustment .

  35. Object Number: 158993  Size: MH
  36. If timing belt adjustment IS NOT required, set the final timing belt tension:
  37. 25.1. Loosen the timing belt tensioner eccentric locking nut.
    25.2. Turn the eccentric counterclockwise to full stop, then back until the reference mark is 2-4 mm (0.078-0.157 in) ABOVE the reference mark on the flange.

    Notice: Use the correct fastener in the correct location. Replacement fasteners must be the correct part number for that application. Fasteners requiring replacement or fasteners requiring the use of thread locking compound or sealant are identified in the service procedure. Do not use paints, lubricants, or corrosion inhibitors on fasteners or fastener joint surfaces unless specified. These coatings affect fastener torque and joint clamping force and may damage the fastener. Use the correct tightening sequence and specifications when installing fasteners in order to avoid damage to parts and systems.

    Tighten
    Tighten the timing belt tensioner eccentric locking nut 20 N·m (15 lb ft).

  38. Hold the timing belt idler pulley eccentrics in place for camshafts 1 & 2 and 3 & 4 with the J 42069-40 Adjustment Wrench.
  39. Tighten
    Tighten both idler pulley bolts to 40 N·m (30 lb ft).


    Object Number: 158978  Size: MH
  40. Inspect the highpoints of the timing belt tensioner eccentrics. The idler pulley eccentric high point for camshafts 3 and 4 will be in approximately the 12 o'clock position. The idler pulley eccentric high point for camshafts 1 and 2 will be in approximately the 9 o'clock position.
  41. Remove the J 42069-20 Checking Gauge and the J 42069-10 Crankshaft Locking Tool.
  42. For final inspection, rotate the engine in the clockwise direction two revolutions until reaching 60 degrees BTDC.

  43. Object Number: 158965  Size: SH
  44. Install the J 42069-10 Crankshaft Locking Tool to the crankshaft drive gear with the knurled bolt.
  45. Turn the crankshaft until the lever of the J 42069-10 Crankshaft Locking Tool firmly contacts the water pump pulley flange.
  46. Secure the moveable lever of the tool to the water pump pulley flange.
  47. Inspect the alignment of the reference marks on the camshaft gears with the notches on the rear timing belt cover, as well as, the mark on the crankshaft gear and the mark on the oil pump housing.
  48. Use the J 42069-20 Checking Gauge to inspect the alignment of camshaft gears 3 and 4.
  49. Use the J 42069-20 Checking Gauge to inspect the alignment of camshaft gears 1 and 2.
  50. If the reference marks on the camshaft gears do not match exactly, adjust the timing belt. Refer to Timing Belt Timing Adjustment .
  51. If further timing belt adjustment IS NOT necessary, continue with reassembly.
  52. Ensure all tools are removed from the engine.

  53. Object Number: 217342  Size: SH
  54. Install the harmonic balancer to the crankshaft drive gear.
  55. Tighten
    Tighten the harmonic balancer bolts to 20 N·m (15 lb ft).

  56. Install the timing belt cover. Refer to Timing Belt Cover Replacement .
  57. Install the intake air resonator. Refer to Intake Air Resonator Replacement .
  58. Reconnect the negative battery cable.
  59. Reprogram the applicable accessories.