GM Service Manual Online
For 1990-2009 cars only

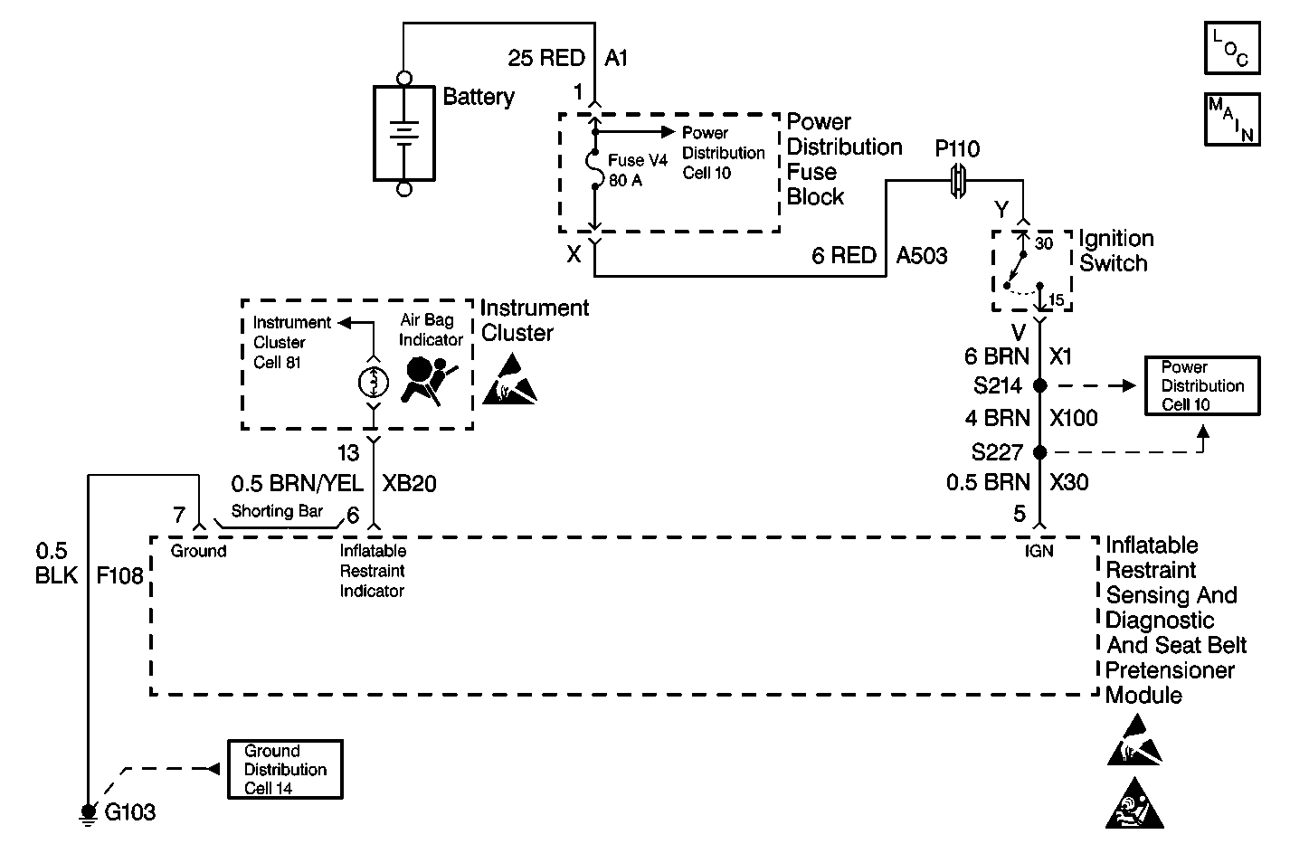
Object Number: 255457  Size: MF
SIR Components
SIR Schematics
Handling ESD Sensitive Parts Notice
Handling ESD Sensitive Parts Notice
SIR Caution

Circuit Description

The starter switch applies system voltage to the Ignition input, terminal 5, when the ignition switch is first turned ON. The ignition voltage is applied from the inflatable restraint Sensing and Diagnostic and Seat Belt Pretensioner Module (SDM) to the AIR BAG warning lamp which is connected to the SIR Indicator, terminal 6. The SDM responds by flashing the AIR BAG warning lamp seven times. The AIR BAG warning lamp comes ON solid if the Ignition voltage is outside of the normal operating voltage range.

When measurements are requested in this table, use J 39200 Digital Multimeter with the correct terminal adapter from J 35616 Connector Test Adapter Kit. When a check for proper connection is requested, refer to Intermittents and Poor Connections . When a wire, connector or terminal repair is requested, use J-38125 Terminal Repair Kit and refer to Wiring Repair .

Test Description

The numbers below refer to step numbers on the diagnostic table.

  1. This test determines whether the malfunction is in the SDM circuitry or in the instrument cluster power feed circuitry.

  2. This test determines if the open is due to a bad bulb.

  3. This test checks for a short from the instrument cluster power feed circuit to ground.

  4. This test determines whether the malfunction is due to a short-to-B+ condition in CKT XB20.

  5. This test determines whether the malfunction is due to an open circuit condition in CKT XB20.

Air Bag Warning Lamp Does Not Come On

Step

Action

Value(s)

Yes

No

1

Were you sent here from a Symptom Table or a Diagnostic Trouble Code Table?

--

Go to Step 2

Go to SIR Diagnostic System Check

2

Note the instrument cluster while turning the ignition switch to ON.

Did the ABS indicator come ON for a short time?

--

Go to Step 3

Go to Step 4

3

  1. Turn the ignition switch to the OFF position.
  2. Remove the instrument cluster. Refer to Instrument Panel, Gauges and Console.
  3. Check for proper connection to the instrument cluster at terminal 13.
  4. If OK, remove the air bag bulb.
  5. Inspect the air bag bulb.

Is the air bag bulb good?

--

Go to Step 4

Go to Step 5

4

Check for an open circuit or a short-to-ground condition in the power feed circuitry from the battery to the instrument cluster.

Is the power feed circuitry to the instrument cluster OK?

--

Go to Step 6

Go to Step 7

5

  1. Replace the air bag bulb.
  2. Install the instrument cluster.

Is the replacement complete and is instrument cluster installed?

--

Go to Step 13

--

6

  1. Turn the ignition switch to the OFF position.
  2. Wait one minute until the SDM energy reserve capacitors have discharged.
  3. disconnect the negative battery cable. Refer to

    Caution: Unless directed otherwise, the ignition and start switch must be in the OFF or LOCK position, and all electrical loads must be OFF before servicing any electrical component. Disconnect the negative battery cable to prevent an electrical spark should a tool or equipment come in contact with an exposed electrical terminal. Failure to follow these precautions may result in personal injury and/or damage to the vehicle or its components.

    .
  4. Disconnect the SDM Connector Position Assurance (CPA).
  5. Disconnect the SDM harness connector.
  6. Inspect the SDM harness connector terminals 6 and 7.

Are the SDM harness connector terminals damaged and/or corroded?

--

Go to Step 8

Go to Step 9

7

  1. Locate the open circuit or the short-to-ground condition in the power feed circuitry to the instrument cluster.
  2. Repair the open circuit or the short-to-ground condition in the power feed circuitry to the instrument cluster.

Is the repair complete?

--

Go to Step 13

--

8

Use the J 42250 Catera Terminal Repair Kit to repair the SDM harness connector.

Is the replacement complete?

--

Go to Step 13

--

9

  1. Turn the ignition switch to the ON position.
  2. Insert the J 42113 SIR Shorting Bar Tool into the SDM harness connector above terminal 6 and terminal 7.
  3. Measure the voltage from terminal 13 of the instrument cluster connector and ground.

Is the voltage reading greater than the specified value?

1 V

Go to Step 10

Go to Step 11

10

  1. Turn the ignition switch to the OFF position.
  2. Repair the short to B+ condition in CKT XB20.

Is the repair complete?

--

Go to Step 13

--

11

  1. Turn the ignition switch to the OFF position.
  2. Zero the J 39200 Digital Multimeter.
  3. Use the J 39200 Digital Multimeter to measure the resistance from the instrument cluster connector terminal 13 to the SDM harness connector terminal 6.

Is the resistance reading within the specified value?

0-5.0 ohms

Go to Integrity Check

Go to Step 12

12

Repair the open circuit condition in CKT XB20.

Is the circuit repair complete?

--

Go to Step 13

--

13

Reconnect all the SIR system components. Ensure all components are properly mounted.

Are all the SIR components reconnected and are all the SIR components properly mounted?

--

Go to SIR Diagnostic System Check

--