GM Service Manual Online
For 1990-2009 cars only

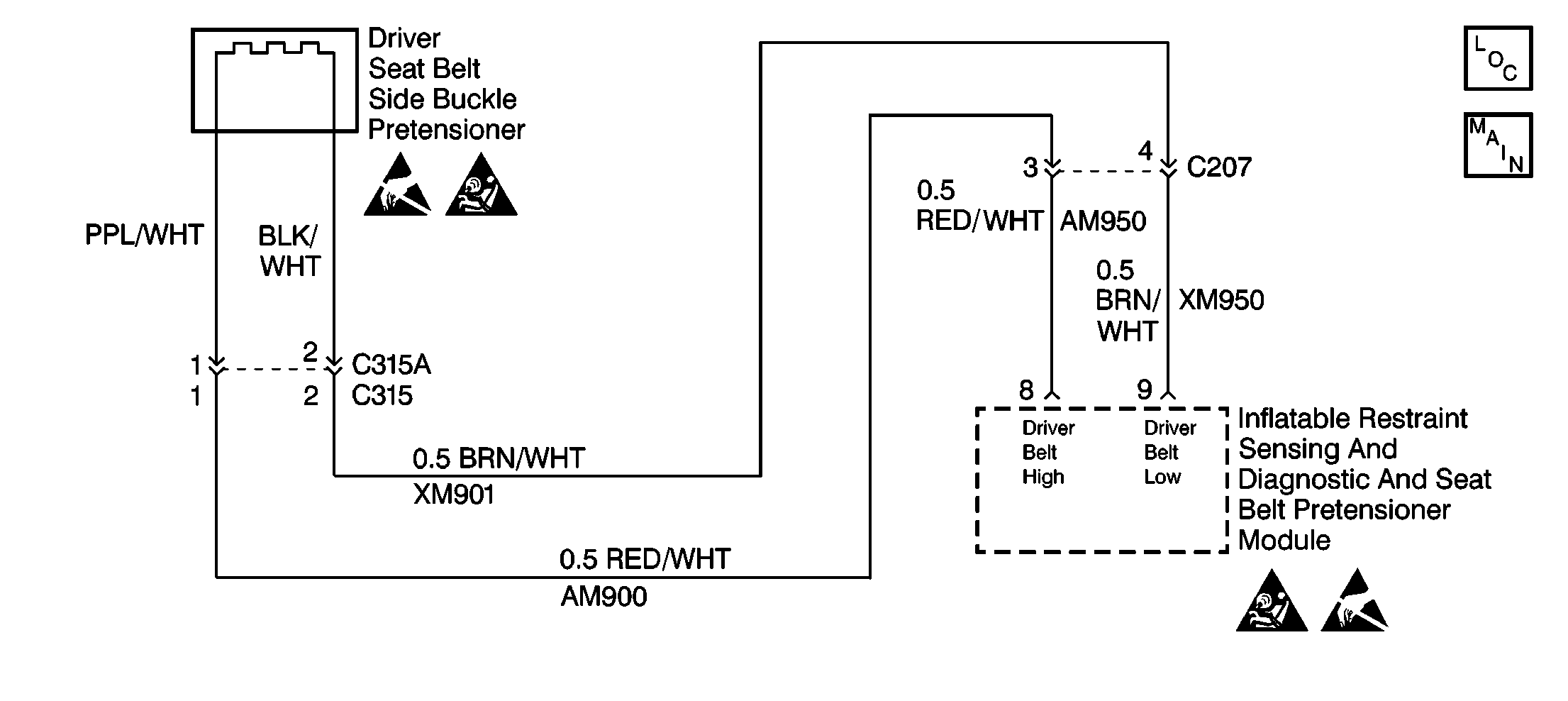
Object Number: 255421  Size: SF
SIR Components
SIR Schematics
Handling ESD Sensitive Parts Notice
SIR Caution
SIR Caution
Handling ESD Sensitive Parts Notice

Circuit Description

The inflatable restraint Sensing and Diagnostic and Seat Belt Pretensioner Module (SDM) performs TURN-ON tests to diagnose critical malfunctions within itself when the ignition switch is turned ON. The SDM monitors the six firing loops to detect leakage currents to ground and system voltage in the frontal and side air bag inflator module and seat belt pretensioner circuits. Then, the SDM proceeds with the RESISTANCE MEASUREMENT test to measure the deployment loop resistances to ensure they are within their respective normal resistance ranges. Upon passing these tests, and if the energy reserve is charged up, the firing transistors are tested. The SDM then goes into CONTINUOUS MONITORING mode. The SDM service wait time is 1 minute. Refer to On-Vehicle Service for enable/disable procedures.

Conditions for Setting the DTC

    • The ignition is within normal operating voltage range.
    • The measured leakage currents to system voltage in the driver seat belt pretensioner deployment loop are above a specified value caused by a short circuit between the driver seat belt pretensioner deployment loop and system voltage.

DTC 16 will set once one of these conditions is met. This test is run during the SDM Turn-ON tests.

Action Taken When the DTC Sets

    • The SDM sets a Diagnostic Trouble Code.
    • The SDM turns ON the AIR BAG warning lamp.

Conditions for Clearing the DTC

Current and History DTC codes must be cleared using a scan tool Clear DTC Information command. If the circuit fault has been successfully repaired and the conditions which caused the Current DTC 16 to set are no longer existing, History DTC 16 will set. History DTC 16 may be cleared using the scan tool.

Diagnostic Aids

A short circuit to a voltage source in the driver seat belt pretensioner circuit or a short circuit between the communication signal line of the LH or RH inflatable restraint Side Impact Sensor (SIS) can set this DTC. Inspect CKTs AM900, AM950, XM901and XM950 carefully for cutting and/or chafing.

    •  If DTC 16 and DTC 73 are set, inspect CKTs AM900, AM950, XM901, XM950 and B41 carefully for cutting and/or chafing.
    •  If DTC 16 and DTC 83 are set, inspect AM900, AM950, XM901, XM950 and M44 carefully for cutting and/or chafing.

When measurements are requested in this table, use J 39200 Digital Multimeter with the correct terminal adapter from J 35616 Connector Test Adapter Kit. When a check for proper connection is requested, refer to Intermittents and Poor Connections . When a wire, connector or terminal repair is requested, use J-38125 Terminal Repair Kit and refer to Wiring Repair .

Test Description

The numbers below refer to step numbers on the diagnostic table.

  1. This test checks for a damaged or corroded SDM harness connector.

  2. This test determines whether the malfunction is in CKT AM900 or AM950 in the SIR wiring harness.

  3. This test determines whether the malfunction is in CKT XM901or XM950 in the SIR wiring harness.

  4. This test determines whether the malfunction is in CKT AM900 in the driver seat belt pretensioner wiring harness.

  5. This test determines whether the malfunction is in CKT XM901 in the driver seat belt pretensioner wiring harness.

DTC 16 Driver Pretens Deploy. Loop Short to Voltage

Step

Action

Value(s)

Yes

No

1

Was the SIR Diagnostic System Check performed?

--

Go to Step 2

Go to SIR Diagnostic System Check

2

  1. Turn the ignition switch to the OFF position.
  2. Wait one minute until the SDM energy reserve capacitors have discharged.
  3. Disconnect the negative battery cable. Refer to

    Caution: Unless directed otherwise, the ignition and start switch must be in the OFF or LOCK position, and all electrical loads must be OFF before servicing any electrical component. Disconnect the negative battery cable to prevent an electrical spark should a tool or equipment come in contact with an exposed electrical terminal. Failure to follow these precautions may result in personal injury and/or damage to the vehicle or its components.

    .
  4. Disconnect the 8-way body harness-to-driver seat connector seat connector C315 from the 8-way driver seat connector located under the LH front seat track cover.
  5. Disconnect the inflatable restraint Sensing and Diagnostic and Seat Belt Pretensioner Module (SDM). Refer to Inflatable Restraint Sensing and Diagnostic and Seat Belt Pretensioner Module Replacement .
  6. Check for proper connection at terminals 8 and 9 on the SDM harness connector.

Are the terminals damaged or corroded?

--

Go to Step 3

Go to Step 5

3

Use the J 42250 Catera Terminal Repair Kit to repair the SDM harness connector.

Are the repairs complete?

--

Go to Step 4

--

4

Check for proper connection at terminal 8 and terminal 9 on the SDM.

Are the terminals damaged or corroded?

--

Go to Step 6

Go to Step 14

5

Check for proper connection at terminal 8 and terminal 9 on the SDM.

Are the terminals damaged or corroded?

--

Go to Step 6

Go to Step 7

6

Replace the inflatable restraint Sensing and Diagnostic and Seat Belt Pretensioner Module (SDM). Refer to Inflatable Restraint Sensing and Diagnostic and Seat Belt Pretensioner Module Replacement .

Are the repairs complete?

--

Go to Step 14

--

7

  1. Reconnect the negative battery cable.
  2. Turn the ignition switch to the ON position.
  3. Use the J 39200 Digital Multimeter to measure the voltage on the SDM harness connector from terminal 8 to terminal 7 (ground).

Is the measured voltage less than the specified value?

1 V

Go to Step 9

Go to Step 8

8

Repair the short to B+ condition in CKT AM900 or CKT AM950 between the 8-way body harness-to-driver seat connector C315 and the SDM harness connector.

Is the repair complete?

--

Go to Step 14

--

9

Use the J 39200 Digital Multimeter to measure the voltage on the SDM harness connector from terminal 9 to terminal 7 (ground).

Is the measured voltage less than the specified value?

1 V

Go to Step 10

Go to Step 11

10

Repair the short to B+ condition in CKT XM901 or XM950 between the 8-way body harness-to-driver seat connector C315 and the SDM harness connector.

Is the repair complete?

--

Go to Step 14

--

11

  1. Remove the driver seat from the vehicle. Refer to Seat Replacement in Seats.
  2. Disconnect the driver pretensioner orange 2-way integral harness connector
  3. Place the driver seat in it's proper position.
  4. Connect the driver seat harness connectors.
  5. Reconnect the negative battery cable.
  6. Turn the ignition switch to the ON position.
  7. Use the J 39200 Digital Multimeter to measure the voltage on the driver pretensioner orange 2-way integral harness connector terminal 1 to ground.

Is the measured voltage less than the specified value?

1 V

Go to Step 12

Go to Step 13

12

Use the J 39200 Digital Multimeter to measure the voltage on the driver pretensioner orange 2-way integral harness connector terminal 2 to ground.

Is the measured voltage less than the specified value?

1 V

Go to Integrity Check

Go to Step 13

13

  1. Inspect the driver seat belt side buckle pretensioner seat harness for damage, cutting or chafing.
  2. Replace the Driver Seat Belt Side Buckle Pretensioner. Refer to Seat Belt Buckle Pretensioner Replacement - LH in Seat Belts.

Are the repairs complete?

--

Go to Step 14

--

14

Reconnect all the SIR system components. Ensure all the SIR system components are properly mounted.

Are all the SIR system components reconnected and are all the SIR system components properly mounted?

--

Go to Step 15

--

15

Clear the SIR diagnostic trouble codes.

Are the SIR diagnostic trouble codes clear?

--

Go to SIR Diagnostic System Check

--