GM Service Manual Online
For 1990-2009 cars only

Door Jamb Switch Replacement Front

Removal Procedure


    Object Number: 243299  Size: SH
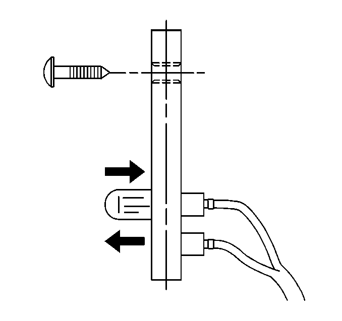
  1. Remove the jamb switch screw.
  2. Disconnect the jamb switch connectors.
  3. Remove the jamb switch.

Installation Procedure


    Object Number: 243299  Size: SH
  1. Install the jamb switch.
  2. Connect the jamb switch connectors.
  3. Install the jamb switch screw.

Door Jamb Switch Replacement Rear

Removal Procedure


    Object Number: 243440  Size: SH
  1. Remove the jamb switch screw.
  2. Unplug the jamb switch.

Installation Procedure


    Object Number: 243440  Size: SH
  1. Plug in the jamb switch.
  2. Notice: Use the correct fastener in the correct location. Replacement fasteners must be the correct part number for that application. Fasteners requiring replacement or fasteners requiring the use of thread locking compound or sealant are identified in the service procedure. Do not use paints, lubricants, or corrosion inhibitors on fasteners or fastener joint surfaces unless specified. These coatings affect fastener torque and joint clamping force and may damage the fastener. Use the correct tightening sequence and specifications when installing fasteners in order to avoid damage to parts and systems.

  3. Install the jamb switch screw.
  4. Tighten
    Tighten door jamb switch screw until fully seated but not stripped.