GM Service Manual Online
For 1990-2009 cars only
Makes
🢒
Cadillac
🢒
1998
🢒
Catera
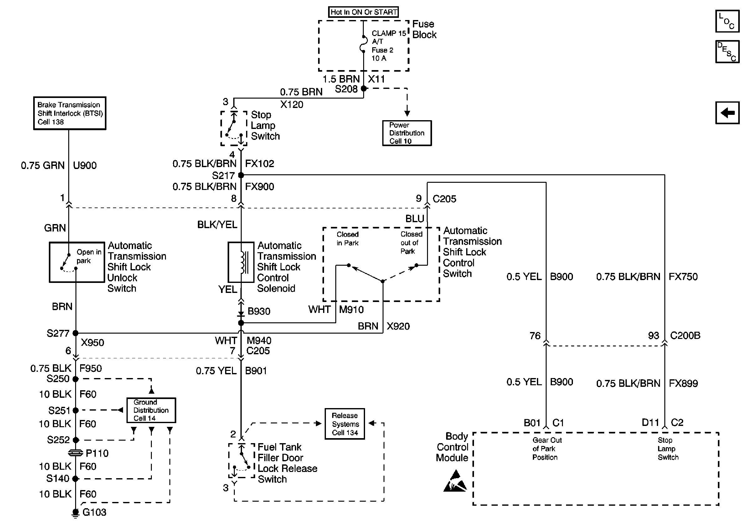
🢒 (Automatic Door Lock Schematics) Cell 131 Stop Lamp Switch, BCM, and Transmission Control Selector Switch
(Automatic Door Lock Schematics) Cell 131 Stop Lamp Switch, BCM, and Transmission Control Selector Switch
(Automatic Door Lock Schematics) Cell 131 Stop Lamp Switch, BCM, and Transmission Control Selector Switch
Power Door Systems Components
Power Door Locks Circuit Description
(Power Door Lock Schematics) Cell 130/131 LH and RH Front and Rear Side Door Actuators
Cell 138
Cell 10 Fuse Block, Window Regulator Motors and Automatic Transmission Switches
Ground Distribution Schematics
Cell 134 Door Lock Relay, BCM, Fuel Tank Filler Door Lock Actuator, Rear Compartment Acuator
Handling Electrostatic Discharge Sensitive Parts Notice