GM Service Manual Online
For 1990-2009 cars only

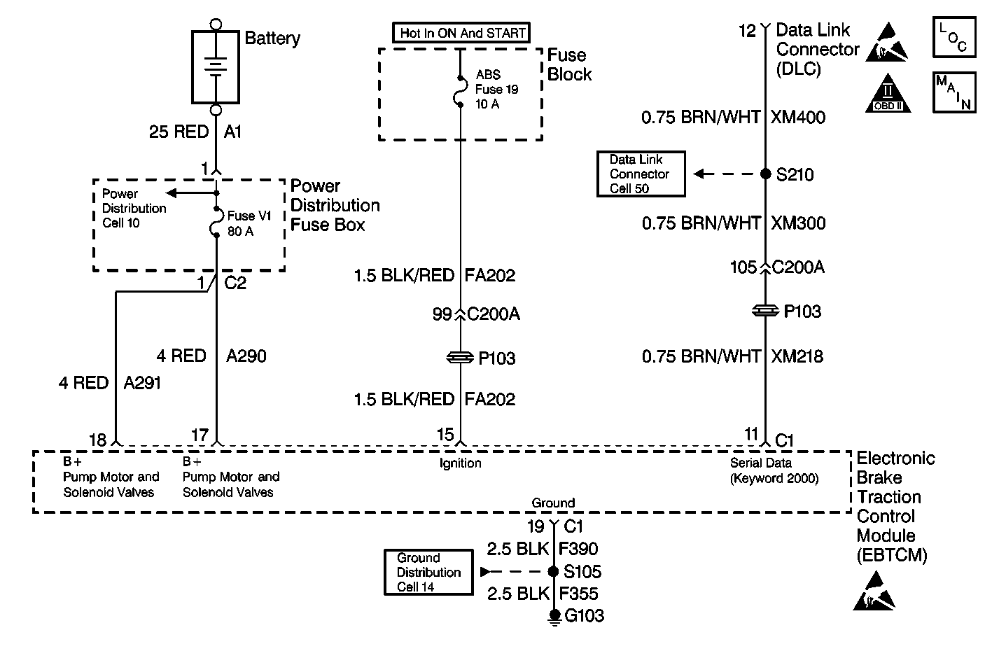
Object Number: 416444  Size: MF
ABS Components
Cell 44 EBTCM Power and Ground, BPMV, and DLC

Circuit Description

The EBTCM Diagnostic System Check is an organized approach to identify problems associated with the EBTCM. This check must be the starting point for any EBTCM complaint, and will direct you to the next logical step in diagnosing the complaint. The EBTCM is a very reliable component and is not likely the cause of the malfunction. Most system complaints are linked to faulty wiring, connectors, and occasionally to components. Understanding the ABS system and using the tables correctly will reduce diagnostic time and prevent unnecessary parts replacement.

Diagnostic Aids

    • An intermittent failure in the electronic system may be very difficult to detect and to accurately diagnose. The EBTCM tests for different malfunctions under different vehicle conditions. For this reason, a thorough test drive is often needed in order to repeat a malfunction. If the system malfunction is not repeated during the test drive, a good description of the complaint may be very useful in locating an intermittent malfunction. Faulty electrical connections or wiring causes most intermitting problems. When an intermittent condition is suspected, check the suspected circuits for the following conditions:
       - Poor mating of connector halves or backed out terminals
       - Improperly formed or damaged terminals
       - Wire chafing
       - Poor wire to terminal connections
       - Dirty or corroded terminals
       - Damage to connector bodies
    • If the DTC is a history DTC, the problem may be intermittent. Perform the tests shown while moving related wiring and connectors. This can often cause the malfunction to occur. Perform a thorough inspection of all related wiring and connectors pertaining to the history DTC stored. Refer to Intermittents and Poor Connections Diagnosis in Wiring Systems.

ABS Diagnostic System Check

Step

Action

Value(s)

Yes

No

1

  1. Reconnect all previously disconnected components.
  2. Turn the ignition switch from the OFF to ON position, engine off.
  3. Plug a scan tool into the Diagnostic Link Connector (DLC).

Does the scan tool communicate with the EBTCM?

--

Go to Step 3

Go to Step 2

2

Does the scan tool communicate with other modules on the Keyword 2000 serial data line?

--

Go to No Communication with Electronic Brake and Traction Control Module

Go to Diagnostic System Check - Data Link Communications in Data Link Communications

3

  1. Disconnect the scan tool.
  2. Turn the ignition switch from the OFF to ON position.
  3. Carefully road test the vehicle for several minutes over different road surfaces and with several turns above 24 km/h (12 mph).
  4. Plug a scan tool into the Diagnostic Link Connector (DLC).
  5. With the scan tool read ABS/TCS DTC(s).

Are there any current Diagnostic Trouble Codes?

--

Go to Diagnostic Trouble Code (DTC) List for the Applicable DTC Table

Go to Step 4

4

  1. Remove the scan tool from the DLC
  2. Turn the ignition switch from the OFF to ON position, engine off.

Does the ABS Indicator turn on then turn off after several seconds?

--

Go to Step 5

Go to Step 6

5

Turn the ignition switch from the OFF to ON position, engine off.

Does the TC Indicator turn on then turn off after several seconds?

--

Go to Step 8

Go to Step 7

6

Does the ABS Indicator stay on?

--

Go to ABS Indicator Always On

Go to ABS Indicator Inoperative

7

Does the TC Indicator stay on?

--

Go to Traction Control Indicator Always On

Go to Traction Control Indicator Inoperative

8

Are there any history DTC(s)?

--

Go to Step 9

System OK

9

  1. Refer to the appropriate DTC table for the history DTC.
  2. Read the diagnostic aids, and the conditions for setting the DTC.
  3. Unplug the scan tool from the DLC if not already removed.
  4. Turn the ignition switch from the OFF to RUN position.
  5. Carefully drive the vehicle above 24 Km/h (15 mph) for several minutes.
  6. Leave the vehicle running and plug the scan tool into the DLC.
  7. With the scan tool read ABS/TCS DTC(s).

Did the history DTC set as a current DTC while the vehicle was being driven?

--

Go to Diagnostic Trouble Code (DTC) List for the Applicable DTC Table

System OK