GM Service Manual Online
For 1990-2009 cars only

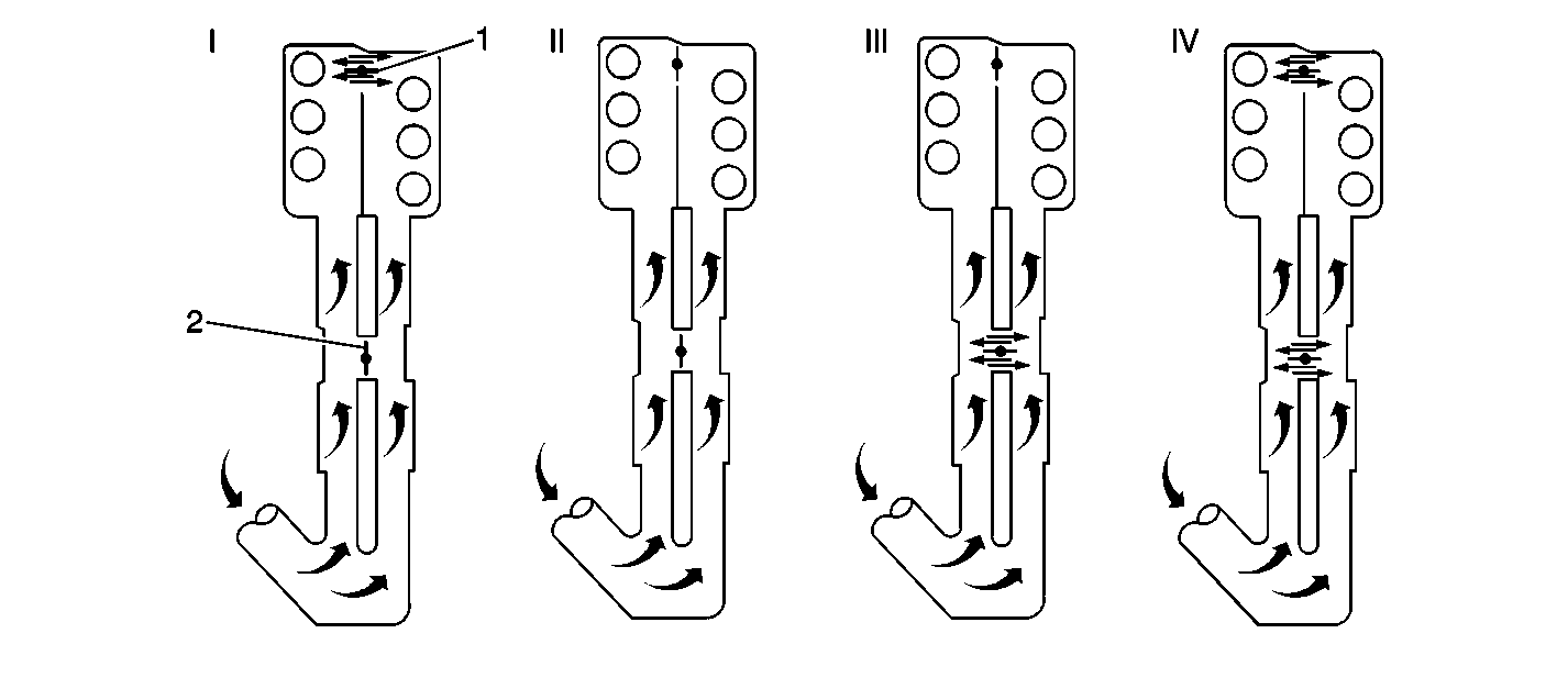
The Multi-Ram System Functional Diagram shows four stages of air flow: I is Air flow at idle; II is Air flow at full load, low RPM; III is Air flow at full load, mid RPM; IV is Air flow at full load, high RPM.

The characteristic torque curve of a normally aspirated engine depends mainly on how the engine's average pressure changes over the RPM band. The average pressure is proportional to the volume of the air mass present in the cylinder when the inlet valve is closed. The design of the inlet system determines how large an air mass can be sucked into a cylinder at a given engine RPM.

Thus, he air intake system determines the engine's torque curve. A longer intake manifold results in higher torque at lower RPM, and a shorter intake manifold results in higher torque at higher RPM.

The intake manifold on this engine is fitted with 2 valves or flaps which can be set for 4 different intake manifold lengths. The 4 different manifold lengths obtainable result in different torque curves with maximum torque at different engine RPM. The inner valve, or flap, is located in the intake manifold between the cylinder heads. When the control module enables the solenoid valve opens and the inner valve or flap separates the inlet systems of the two banks of cylinders from each other. The outer flap is located between the 2 resonating pipes connected to the intake manifold. When the control module enables the Intake Resonance Switchover Valve the outer flap opens a connection between the 2 resonating pipes, the active length of which is thus reduced.

During wide open throttle acceleration from low RPM, the control module enables the Intake Plenum Switchover Valve. This separates the cylinder banks from each other and connects each of them to its own resonating pipe. With the outer flap now closed, the full length of the resonating pipes is utilized.

When the engine speed reaches 3200 RPM, the control module enables the Intake Resonance Switchover Valve. This causes the outer flap to open and reduces the connection between the 2 resonating pipes, so their active length is reduced.

The control module controls the 2 valves or flaps by means of solenoid valves and vacuum operated diaphragm units. Using this system allows the torque curves to overlap in a way that produces the most favorable results. The solenoid valves are supplied with current via the main relay and are grounded by the control module.

When engine speed reaches 4100 RPM, the control module opens the circuit to the Intake Plenum Switchover Valve, so that the 2 inlet systems (1 for each bank of cylinders) are connected to each other, and the effective pipe length is the shortest possible.

At speeds below 4100 RPM and with a throttle valve angle less than 50 degrees, the inner flap is always open. This keeps the idle air control valve's supplementary air distributed equally between the cylinders.

Figure 1:
Object Number: 60904  Size: SH
(1)Air Cleaner Lid
(2)Air Filter Element
Figure 2:
Object Number: 477806  Size: SH
(1)Air Intake Duct
(2)Retaining Clamp
(3)Intake Resonator
(4)Vacuum Hose
(5)Bracket Mounting Bolts
(6)Bracket
(7)Intake Resonator Vacuum Switch
Figure 3:

Multi-Ram System Functional Diagram


Object Number: 21140  Size: SF
(1)Intake Plenum Switchover Valve
(2)Intake Resonance Switchover Valve