| |||||||||||||||||||
|---|---|---|---|---|---|---|---|---|---|---|---|---|---|---|---|---|---|---|---|
Connector Part Information |
| Connector Part Information |
| ||||||||||||||||
Pin | Wire Color | Circuit No. | Function | Pin | Wire Color | Circuit No. | Function | ||||||||||||
A | GRY/RED | RA1 | RH cornering lamp signal | A | GRY/RED | RA998 | RH cornering lamp signal | ||||||||||||
B | BLK/WHT | FM1 | LH park/turn lamp signal | B | BLK/WHT | FM40 | LH park/turn lamp signal | ||||||||||||
C | BLK/GRN | FU1 | RH park/turn lamp signal | C | BLK/GRN | FU40 | RH park/turn lamp signal | ||||||||||||
D | GRY/BLK | RF1 | LH cornering lamp signal | D | GRY/BLK | RF998 | LH cornering lamp signal | ||||||||||||
E | BLK | F1 | Ground to G103 | E | BLK | F400 | Ground to G103 | ||||||||||||
F | GRY/GRN | RU1 | B+ from fuse #26 | F | GRY/GRN | RU40 | B+ from fuse #26 | ||||||||||||
G | BLK/BLU | FP1 | Fog lamp On signal | G | BLK/BLU | FP27 | Fog lamp On signal | ||||||||||||
| |||||||||||||||||||
|---|---|---|---|---|---|---|---|---|---|---|---|---|---|---|---|---|---|---|---|
Connector Part Information |
| Connector Part Information |
| ||||||||||||||||
Pin | Wire Color | Circuit No. | Function | Pin | Wire Color | Circuit No. | Function | ||||||||||||
1 | RED | A990 | B+ from fuse #33 | 1 | RED | A2 | B+ from fuse #33 | ||||||||||||
2 | -- | -- | Not Used | 2 | -- | -- | Not Used | ||||||||||||
3 | YEL/BLU | BP900 | A/C cutout signal | 3 | YEL/BLU | BP1 | A/C cutout signal | ||||||||||||
4 | BLK/WHT | FM7 | A/C request signal | 4 | BLK/WHT | FM7 | A/C request signal | ||||||||||||
5 | BRN | X79 | B+ from fuse #13 | 5 | BRN | X69 | B+ from fuse #13 | ||||||||||||
6 | -- | -- | Not Used | 6 | -- | -- | Not Used | ||||||||||||
| |||||||||||||||||||
|---|---|---|---|---|---|---|---|---|---|---|---|---|---|---|---|---|---|---|---|
Connector Part Information |
| Connector Part Information |
| ||||||||||||||||
Pin | Wire Color | Circuit No. | Function | Pin | Wire Color | Circuit No. | Function | ||||||||||||
2 | BLU/GRN | PU1 | Oil pressure switch signal | 2 | BLU/GRN | PU1 | Oil pressure switch signal | ||||||||||||
3 | BLU/WHT | PM1 | Charging indicator signal | 3 | BLU/WHT | PM1 | Charging indicator signal | ||||||||||||
4 | BRN/GRN | XU4 | Oil level signal | 4 | BRN/GRN | XU600 | Oil level signal | ||||||||||||
5 | -- | -- | Not Used | 5 | -- | -- | Not Used | ||||||||||||
6 | BLK | F120 | Oil level signal | 6 | BLK | F63 | Oil level signal | ||||||||||||
8 | BLK/RED | FA50 | Starter switch signal | 8 | BLK/RED | FA501 | Starter switch signal | ||||||||||||
14 | BLU/YEL | PB1 | Oil pressure sensor signal | 14 | BLU/YEL | PB90 | Oil pressure sensor signal | ||||||||||||
| |||||||||||||||||||
|---|---|---|---|---|---|---|---|---|---|---|---|---|---|---|---|---|---|---|---|
Connector Part Information |
| Connector Part Information |
| ||||||||||||||||
Pin | Wire Color | Circuit No. | Function | Pin | Wire Color | Circuit No. | Function | ||||||||||||
1 | BRN | X61 | B+ switch ignition to ignition coils | 1 | BRN | X68 | B+ switch ignition to ignition coils | ||||||||||||
2 | RED/BLU | AP3 | B+ from engine controls relay to ECM | 2 | RED/BLU | AP4 | B+ from engine controls relay to ECM | ||||||||||||
3-8 | -- | -- | Not Used | 3-8 | -- | -- | Not Used | ||||||||||||
9 | -- | -- | Not Used | 9 | BRN/WHT | XM799 | Serial Data | ||||||||||||
10 | BRN | X756 | Ignition voltage from Fuse# 3 | 10 | BRN | X756 | Ignition voltage from Fuse# 3 | ||||||||||||
11-14 | -- | -- | Not Used | 11-14 | -- | -- | Not Used | ||||||||||||
15 | BLU | P901 | Instrument cluster to coolant temperature sensor | 15 | BLU | P900 | Instrument cluster to coolant temperature sensor | ||||||||||||
16 | -- | -- | Not Used | 16 | -- | -- | Not Used | ||||||||||||
17 | BRN/YEL | XP952 | Heated oxygen signal | 17 | BRN/BLU | XP34 | Heated oxygen sensor signal | ||||||||||||
18-20 | -- | -- | Not Used | 18-20 | -- | -- | Not Used | ||||||||||||
| |||||||||||||||||||
|---|---|---|---|---|---|---|---|---|---|---|---|---|---|---|---|---|---|---|---|
Connector Part Information |
| Connector Part Information |
| ||||||||||||||||
Pin | Wire Color | Circuit No. | Function | Pin | Wire Color | Circuit No. | Function | ||||||||||||
1 | BLK/RED | FA500 | Positive ignition voltage | 1 | BLK/RED | FA700 | positive ignition voltage | ||||||||||||
2 | BLK/RED | FA501 | Transmission position signal | 2 | BLK/RED | FA501 | Transmission position signal | ||||||||||||
3 | BLU/YEL | PB743 | 2-3 shift solenoid control | 3 | BLU/YEL | PB743 | 2-3 shift solenoid control | ||||||||||||
4 | GRY/BLK | RF745 | Band apply solenoid control | 4 | GRY/BLK | RF745 | Band apply solenoid control | ||||||||||||
5 | BLU/BLK | PF754 | 12 Volt reference from TCM | 5 | BLU/BLK | PF754 | 12 Volt reference from TCM | ||||||||||||
6 | BLU/WHT | PM748 | 1-2 and 3-4 shift solenoid control | 6 | BLU/WHT | PM748 | 1-2 and 3-4 shift solenoid control | ||||||||||||
7 | BLK/YEL | FB738 | TCC solenoid control | 7 | BLK/YEL | FB738 | TCC solenoid control | ||||||||||||
8 | BLK/PPL | FY740 | Pressure control solenoid signal HIGH | 8 | BLK/PPL | FY740 | Pressure control solenoid signal HIGH | ||||||||||||
9 | BLK/BLU | FP722 | Transmission fluid temperature signal | 9 | BLK/BLU | FP722 | Transmission fluid temperature signal | ||||||||||||
10 | GRY/RED | RA741 | Pressure control solenoid signal LOW | 10 | GRY/RED | RA741 | Pressure control solenoid signal LOW | ||||||||||||
11 | BLU/GRN | PU705 | Output shaft speed signal | 11 | BLU/GRN | PU714 | Output shaft speed signal | ||||||||||||
12 | BLK | S10 | Shield wire | 12 | BLK | S40 | Shield wire | ||||||||||||
13 | WHT/BLK | MF757 | B+ ignition to automatic transmission switch | 13 | WHT/BLK | MF757 | B+ ignition to automatic transmission switch | ||||||||||||
14 | BLK/YEL | FB708 | Transmission position signal | 14 | BLK/YEL | FB708 | Transmission position signal | ||||||||||||
15 | BLK/YEL | FB703 | Output shaft speed signal | 15 | BLK/YEL | FB720 | Output shaft speed signal | ||||||||||||
16 | -- | -- | Not Used | 16 | -- | -- | Not Used | ||||||||||||
17 | GRY | R733 | Transmission position signal | 17 | GRY | R733 | Gear position input signal | ||||||||||||
18 | BLK/BLU | FP733 | Transmission position signal | 18 | BLK/BLU | FP10 | Gear position input signal | ||||||||||||
19 | BLK/GRN | FU726 | Transmission position signal | 19 | BLK/GRN | FU2 | Gear position input signal | ||||||||||||
20 | BRN/GRN | XU716 | Transmission fluid temperature signal | 20 | BRN/GRN | XU716 | Transmission fluid temperature signal | ||||||||||||
| |||||||||||||||||||
|---|---|---|---|---|---|---|---|---|---|---|---|---|---|---|---|---|---|---|---|
Connector Part Information |
| Connector Part Information |
| ||||||||||||||||
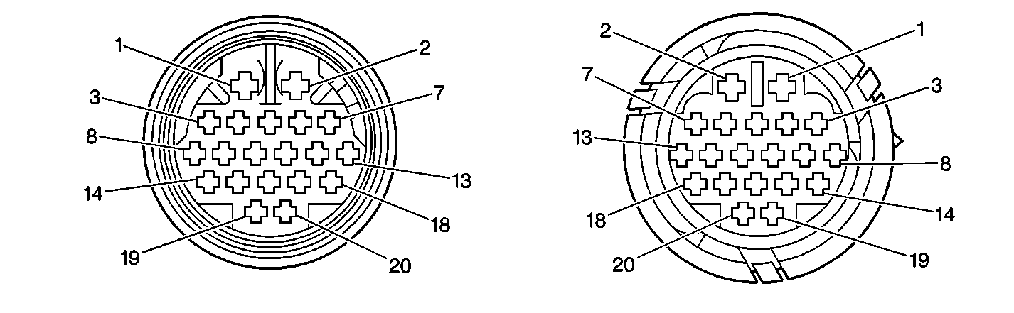
Pin | Wire Color | Circuit No. | Function | Pin | Wire Color | Circuit No. | Function | ||||||||||||
A | BRN | X1 | Heated nozzle On signal | A | BRN | X600 | Heated nozzle On signal | ||||||||||||
B | BLK | F1 | Ground to G103 | B | BLK | F600 | Ground to G103 | ||||||||||||
| |||||||||||||||||||
|---|---|---|---|---|---|---|---|---|---|---|---|---|---|---|---|---|---|---|---|
Connector Part Information |
| Connector Part Information |
| ||||||||||||||||
Pin | Wire Color | Circuit No. | Function | Pin | Wire Color | Circuit No. | Function | ||||||||||||
1 | BRN/GRY | XR620 | Secondary air injection pump control | 1 | BRN/GRY | XR200 | Secondary air injection pump control | ||||||||||||
2 | BLK/BLU | FP120 | A/C load signal | 2 | BLK/BLU | FP99 | A/C load signal | ||||||||||||
3 | -- | -- | Not Used | 3 | -- | -- | Not Used | ||||||||||||
4 | BLK/WHT | FM98 | A/C request signal | 4 | BLK/WHT | FM99 | A/C request signal | ||||||||||||
5 | BRN/PPL | XY360 | A/C compressor relay control signal | 5 | BRN/PPL | XY107 | A/C compressor relay control signal | ||||||||||||
6 | RED/BLU | AP888 | B+ from engine controls relay K43 | 6 | RED/BLU | AP200 | B+ from engine controls relay K43 | ||||||||||||
7-9 | -- | -- | Not Used | 7-9 | -- | -- | Not Used | ||||||||||||
| |||||||||||||||||||
|---|---|---|---|---|---|---|---|---|---|---|---|---|---|---|---|---|---|---|---|
Connector Part Information |
| Connector Part Information |
| ||||||||||||||||
Pin | Wire Color | Circuit No. | Function | Pin | Wire Color | Circuit No. | Function | ||||||||||||
1 | BRN | X68 | B+ from fuse #10 | 1 | BRN | X67 | B+ from fuse #10 | ||||||||||||
2 | BLK/YEL | FB1 | Interval switch signal | 2 | BLK/YEL | FB3 | Interval switch signal | ||||||||||||
3 | BLU | P2 | Windshield wiper/washer mist signal | 3 | BLU | P2 | Windshield wiper/washer mist signal | ||||||||||||
4 | GRN | U10 | Windshield washer motor signal | 4 | GRN | U6 | Windshield washer motor signal | ||||||||||||
5 | BLK/RED | FA1 | Windshield washer pump signal | 5 | BLK/RED | FA5 | Windshield washer pump signal | ||||||||||||
6 | BLK/PPL | FY1 | B+ from fuse #9 | 6 | BLK/PPL | FY3 | B+ from fuse #9 | ||||||||||||
| |||||||||||||||||||
|---|---|---|---|---|---|---|---|---|---|---|---|---|---|---|---|---|---|---|---|
Connector Part Information |
| Connector Part Information |
| ||||||||||||||||
Pin | Wire Color | Circuit No. | Function | Pin | Wire Color | Circuit No. | Function | ||||||||||||
A | BRN/YEL | XB17 | Fuel injector #1 control | A | BRN/YEL | XB17 | Fuel injector #1 control | ||||||||||||
B | BRN/GRN | XU16 | Fuel injector #2 control | B | BRN/GRN | XU16 | Fuel injector #2 control | ||||||||||||
C | BRN/BLU | XP35 | Fuel injector #3 control | C | BRN/BLU | XP35 | Fuel injector #3 control | ||||||||||||
D | BRN/RED | XA34 | Fuel injector #4 control | D | BRN/RED | XA34 | Fuel injector #4 control | ||||||||||||
E | BRN/BLK | XF15 | Fuel injector #5 control | E | BRN/BLK | XF15 | Fuel injector #5 control | ||||||||||||
F | BRN/PPL | XY33 | Fuel injector #6 control | F | BRN/PPL | XY33 | Fuel injector #6 control | ||||||||||||
G | RED/BLU | AP751 | B+ from relay K43 | G | RED/BLU | AP751 | B+ from relay K43 | ||||||||||||
| |||||||||||||||||||
|---|---|---|---|---|---|---|---|---|---|---|---|---|---|---|---|---|---|---|---|
Connector Part Information |
| Connector Part Information |
| ||||||||||||||||
Pin | Wire Color | Circuit No. | Function | Pin | Wire Color | Circuit No. | Function | ||||||||||||
1 | BLK/YEL | FB10 | B+ to auxiliary brake lamp | 1 | BLK/YEL | FB303 | B+ to auxiliary brake lamp | ||||||||||||
2 | BLU/BLK | PF1 | Fuel gauge level signal | 2 | BLU/BLK | PF12 | Fuel gauge level signal | ||||||||||||
3 | RED | A701 | B+ from fuse #25 | 3 | RED | A700 | B+ from fuse #25 | ||||||||||||
4 | BRN/WHT | XM2 | Park brake indicator | 4 | BRN/WHT | XM2 | Park brake indicator | ||||||||||||
5 | BLK/BLU | FP36 | B+ when fog lamps are ON | 5 | BLK/BLU | PF27 | B+ when fog lamps are ON | ||||||||||||
6 | BLK/GRN | FU11 | RH turn and taillamp signal | 6 | BLK/GRN | FU1 | RH turn and taillamp signal | ||||||||||||
7 | BLK/WHT | FM12 | LH turn and taillamp signal | 7 | BLK/WHT | FM1 | LH turn and taillamp signal | ||||||||||||
8 | GRY/WHT | RM1 | Interior lamps ON/OFF signal | 8 | GRY/WHT | RM1 | Interior lamps ON/OFF signal | ||||||||||||
9 | BRN/PPL | XY800 | Delayed interior relay signal | 9 | BRN/PPL | XY800 | Delayed interior relay signal | ||||||||||||
10 | RED/BLU | AP807 | Rear compartment open signal | 10 | RED/BLU | AP822 | Rear compartment open signal | ||||||||||||
11 | BRN/WHT | XM42 XM43(W8Y) | RH rear door speaker return | 11 | BRN/WHT | XM42 | RH rear door speaker return | ||||||||||||
12 | RED | A48 | B+ from fuse #1 | 12 | RED | A10 | B+ from fuse #1 | ||||||||||||
13 | BRN/BLK | XF830 | TWS indicator | 13 | BRN/BLK | XF830 | TWS indicator | ||||||||||||
14 | BRN/BLU | XP840 | Security lamp indicator | 14 | BRN/BLU | XP840 | Security lamp indicator | ||||||||||||
15 | BRN | X15 | B+ when defogger is ON | 15 | BRN | X16 | B+ when defogger is ON | ||||||||||||
16 | GRY/GRN | RU10 | B+ when park lamps are ON | 16 | GRY/GRN | RU7 | B+ when park lamps are ON | ||||||||||||
17 | BRN/WHT | XM600 | Serial data | 17 | BRN/WHT | XM830 | Serial data | ||||||||||||
18 | BLK/BRN | FX810 | TWS delay signal | 18 | BLK/BRN | FX810 | TWS delay signal | ||||||||||||
19 | BRN/BLU | XP803 | Low when interior lamps are ON | 19 | BRN/BLU | XP803 | Low when interior lamps are ON | ||||||||||||
20 | BRN/PPL | XY112 | Interior lamps ON/OFF signal | 20 | BRN/PPL | XY112 | Interior lamps ON/OFF signal | ||||||||||||
21 | BRN/GRN | XU42 XU43(W8Y) | LH rear door speaker return | 21 | BRN/GRN | XU42 | LH rear door speaker return | ||||||||||||
22 | BRN/YEL | XB12 (W8Y) | RH front door speaker return | 22 | BRN/YEL | XB10 | RH front door speaker return | ||||||||||||
23 | GRN | U41 U42(W8Y) | LH rear door speaker feed | 23 | GRN | U42 | LH rear door speaker feed | ||||||||||||
24 | BRN/BLU | XP4 XP5(W8Y) | LH front door speaker return | 24 | BRN/BLU | XP1 | LH front door speaker return | ||||||||||||
25 | YEL | B8 B9(W8Y) | RH front door speaker feed | 25 | YEL | B10 | RH front door speaker feed | ||||||||||||
26 | BLU | P1 P5(W8Y) | LH front door speaker feed | 26 | BLU | P1 | LH front door speaker feed | ||||||||||||
27 | BRN/WHT | XM30 | Horn relay control signal | 27 | BRN/WHT | XM70 | Horn relay control signal | ||||||||||||
28 | BLK/RED | FA3 | WSWA pump signal | 28 | BLK/RED | FA80 | WSWA pump signal | ||||||||||||
29 | BRN/GRY | XR12 | ABS can interface low | 29 | BRN/GRY | XR888 | ABS can interface low | ||||||||||||
30 | BRN/PPL | XY29 | ABS can interface high | 30 | BRN/PPL | XY888 | ABS can interface high | ||||||||||||
31 | YEL/RED | BA2 | Brake wear sensor signal | 31 | YEL/RED | BA2 | Brake wear sensor signal | ||||||||||||
32 | BLU/WHT | PM4 | Outside temperature signal | 32 | BLU/WHT | PM4 | Outside temperature signal | ||||||||||||
33 | BRN | X79, X701 | B+ from fuse #13 | 33 | BRN | X999 | B+ from fuse #13 | ||||||||||||
34 | BLU | P11 | Solar/Twilight sensor ground | 34 | BLU | P11 | Solar/Twilight sensor ground | ||||||||||||
35 | BRN/WHT | XM700,XM15 | Serial data | 35 | BRN/WHT | XM700 | Serial data | ||||||||||||
36 | WHT/BLK | MF757 | B+ with automatic transmission range switch in reverse | 36 | WHT/BLK | MF10, MF900 | B+ with automatic transmission range switch in reverse | ||||||||||||
37 | RED/WHT | AM813 | Low when park lamps are ON | 37 | RED/WHT | AM899 | Low when park lamps are ON | ||||||||||||
38 | BLK/PPL | FY810 | TWS return | 38 | BLK/PPL | FY810 | TWS return | ||||||||||||
39 | BRN/WHT | XM999 | Serial data | 39 | BRN/WHT | XM55 | Serial data | ||||||||||||
40 | WHT | M42 M43(W8Y) | RH rear door speaker feed | 40 | WHT | M42 | RH rear door speaker feed | ||||||||||||
41 | BRN/BLK | XF20 | Seat belt warning signal | 41 | BRN/BLK | XF21 | Seat belt warning signal | ||||||||||||
42 | RED/WHT | AM110 | Radio ON signal | 42 | RED/WHT | AM42 | Radio ON signal | ||||||||||||
43 | BRN/YEL | XB4 | ABS indicator signal | 43 | BRN/YEL | XB305 | ABS indicator signal | ||||||||||||
44 | RED | A24 | B+ from fuse #4 | 44 | RED | A60 | B+ from fuse #4 | ||||||||||||
45 | BRN/YEL | XB105 | ABS indicator signal | 45 | BRN/YEL | XB105 | ABS indicator signal | ||||||||||||
46 | BLU/RED | PA10 | Vehicle speed signal | 46 | BLU/RED | PA901 | Vehicle speed signal | ||||||||||||
47 | RED | A49 | B+ from fuse #7 | 47 | RED | A2 | B+ from fuse #7 | ||||||||||||
48 | RED | A816 | B+ from fuse #28 | 48 | RED | A13, | B+ from fuse #28 | ||||||||||||
49 | BRN | X300 | B+ from fuse #15 | 49 | BRN | X100 | B+ from fuse #15 | ||||||||||||
50 | RED | A65 | B+ from fuse #35 | 50 | RED | A65 | B+ from fuse #35 | ||||||||||||
96 | YEL | B11 | B+ when low beams are ON | 96 | YEL | B1 | B+ when low beams are ON | ||||||||||||
97 | GRY/YEL | RB200 | Dimmer signal | 97 | GRY/YEL | RB200 | Dimmer signal | ||||||||||||
98 | WHT | M64 | B+ when high beams are ON | 98 | WHT | M1 | B+ when high beams are ON | ||||||||||||
99 | BLK/RED | FA202 | B+ from fuse #19 | 99 | BLK/RED | FA202 | B+ from fuse #19 | ||||||||||||
100 | YEL | B22 | B+ when low beams are ON | 100 | YEL | B3 | B+ when low beams are ON | ||||||||||||
101 | BRN/PPL | XY801 | Interior lamps relay signal | 101 | BRN/PPL | XY801 | Interior lamps relay signal | ||||||||||||
102 | GRY/RED | RA30 | B+ when park lamps are ON | 102 | GRY/RED | RA2,RA3 | B+ when park lamps are ON | ||||||||||||
103 | GRY/BLK | RF30 | B+ when park lamps are ON | 103 | GRY/BLK | RF2,RF3 | B+ when park lamps are ON | ||||||||||||
104 | BRN/YEL | XB910 | HEADLAMPS ON REQUIRED signal | 104 | BRN/YEL | XB910 | HEADLAMPS ON REQUIRED signal | ||||||||||||
105 | BRN/WHT | XM300 | Serial data | 105 | BRN/WHT | XM218 | Serial data | ||||||||||||
106 | BLK/WHT | FM100 | B+ from fuse #11 | 106 | BLK/WHT | FM10, FM22 | B+ from fuse #11 | ||||||||||||
107 | RED | A301 | B+ from fuse #17 | 107 | RED | A30 | B+ from fuse #17 | ||||||||||||
| |||||||||||||||||||
|---|---|---|---|---|---|---|---|---|---|---|---|---|---|---|---|---|---|---|---|
Connector Part Information |
| Connector Part Information |
| ||||||||||||||||
Pin | Wire Color | Circuit No. | Function | Pin | Wire Color | Circuit No. | Function | ||||||||||||
51 | BLK/RED | FA811 | Fuel door release signal | 51 | BLK/RED | FA811 | Fuel door release signal | ||||||||||||
52 | YEL | B56 | ALC relay control signal | 52 | YEL | B25 | ALC relay control signal | ||||||||||||
53 | RED/WHT | AM810 | Low when park lamps are ON | 53 | RED/WHT | AM810 | Low when park lamps are ON | ||||||||||||
54 | -- | -- | Not Used | 54 | -- | -- | Not Used | ||||||||||||
55 | BRN/PPL | XY2 | Leveling indicator signal | 55 | BRN/PPL | XY1 | Leveling indicator signal | ||||||||||||
56 | BRN/WHT | XM111 | Serial data | 56 | BRN/WHT | XM900 | Serial data | ||||||||||||
57 | BRN/BLU | XP810 | Battery guard signal | 57 | BRN/BLU | XP811 | Battery guard signal | ||||||||||||
58 | RED | A892 | Low when high beams are ON | 58 | RED | A888 | Low when high beams are ON | ||||||||||||
59 | BRN/WHT | XM810 | Low when park lamps are ON | 59 | BRN/WHT | XM810 | Low when park lamps are ON | ||||||||||||
60 | BRN/RED | XA810 | Low beam relay signal | 60 | BRN/RED | XA810 | Low beam relay signal | ||||||||||||
61 | WHT | M8 | B+ when high beams are ON | 61 | WHT | M2 | B+ when high beams are ON | ||||||||||||
62 | BRN/RED | XA105 | Traction control ON signal | 62 | BRN/RED | XA105 | Traction control ON signal | ||||||||||||
63 | BLK/WHT | FM19 | LH high beam headlamp signal | 63 | BLK/WHT | FM13 | LH high beam headlamp signal | ||||||||||||
64 | BLK/YEL | FB7 | Seat heater ON signal | 64 | BLK/YEL | FB7 | Seat heater ON signal | ||||||||||||
65 | BLK/RED | FA9 | Seat heater ON signal | 65 | BLK/RED | FA9 | Seat heater On signal | ||||||||||||
66 | BRN/WHT | XM899 | Horn relay control signal | 66 | BRN/WHT | XM899 | Horn relay control signal | ||||||||||||
67 | GRY/RED | RA999 | B+ to RH cornering lamp | 67 | GRY/RED | RA998 | B+ to RH cornering lamp | ||||||||||||
68 | GRY/BLK | RF999 | B+ to LH cornering lamp | 68 | GRY/BLK | RF998 | B+ to LH cornering lamp | ||||||||||||
69 | RED | A12 | B+ from fuse #24 | 69 | RED | A999 | B+ from fuse #24 | ||||||||||||
70 | BLK/RED | FA812 | Rear compartment lid release signal | 70 | BLK/RED | FA812 | Rear compartment lid release signal | ||||||||||||
71 | WHT | M3 | High beams ON/OFF signal | 71 | WHT | M50 | High beams ON/OFF signal | ||||||||||||
72 | BRN/BLK | XF18 | Control circuit for evaporative tank ( EVAP ) solenoid valve | 72 | BRN/BLK | XF888 | Control circuit for evaporative tank ( EVAP ) solenoid valve | ||||||||||||
73 | BRN/YEL | XB900 | Fuel pressure sensor signal | 73 | BRN/YEL | XB902 | Fuel pressure sensor signal | ||||||||||||
74 | BRN/GRN | XU900 | Sensor ground | 74 | BRN/GRN | XU901 | Sensor ground | ||||||||||||
75 | BLK/RED | FA825 | Brake to shift indicator | 75 | BLK/RED | FA399 | Brake to shift indicator | ||||||||||||
76 | YEL | B900 | Gear out of park signal | 76 | YEL | B900 | Gear out of park signal | ||||||||||||
77 | RED | A101 | B+ from fuse #27 | 77 | RED | A295 | B+ from fuse #27 | ||||||||||||
78 | RED/BLU | AP4 | B+ from fuse #18 | 78 | RED/BLU | AP11 | B+ from fuse #18 | ||||||||||||
79 | BRN | X43 | ALC compressor motor signal | 79 | BRN | X101 | ALC compressor motor signal | ||||||||||||
80 | RED | A778 | B+ from fuse #16 | 80 | RED | A778 | B+ from fuse #16 | ||||||||||||
81 | RED/YEL | AB810 | TWS ON/OFF signal | 81 | RED/YEL | AB810 | TWS ON/OFF signal | ||||||||||||
82 | BRN/YEL | XB3 | Winshield washer minimum capacity signal | 82 | BRN/YEL | XB3 | Winshield washer minimum capacity signal | ||||||||||||
83 | -- | -- | Not Used | 83 | -- | -- | Not Used | ||||||||||||
84 | BRN/BLU | XP900 | Rear compatment courtesy switch signal | 84 | BRN/BLU | XP901 | Rear compatment courtesy switch signal | ||||||||||||
85 | WHT | M69 | High beams ON signal | 85 | WHT | M60 | High beams ON signal | ||||||||||||
86 | YEL | B60 | Low beam ON/OFF signal | 86 | YEL | B899 | Low beam ON/OFF signal | ||||||||||||
87 | BRN | X839 | B+ from fuse #10 | 87 | BRN | X826 | B+ from fuse #10 | ||||||||||||
88 | BRN/PPL | XY802 | Low when high beams are ON | 88 | BRN/PPL | XY802 | Low when high beams are ON | ||||||||||||
89 | BLU/BLK | PF900 | 5V reference | 89 | BLU/BLK | PF901 | 5V reference | ||||||||||||
90 | BRN/BLU | XP33 | TWS day/night signal | 90 | BRN/BLU | XP830 | TWS day/night signal | ||||||||||||
91 | WHT | M808 | Fast wiper signal | 91 | WHT | M808 | Fast wiper signal | ||||||||||||
92 | -- | -- | Not Used | 92 | -- | -- | Not Used | ||||||||||||
93 | BLK/BRN | FX750 | Stoplamp switch signal | 93 | BLK/BRN | FX899 | Stoplamp switch signal | ||||||||||||
94 | YEL | B810 | Wiper 1 interval signal | 94 | YEL | B810 | Wiper 1 interval signal | ||||||||||||
95 | RED/BLU | AP100 | B+ from engine controls power relay | 95 | RED/BLU | AP100 | B+ from engine controls power relay | ||||||||||||
| |||||||||||||||||||
|---|---|---|---|---|---|---|---|---|---|---|---|---|---|---|---|---|---|---|---|
Connector Part Information |
| Connector Part Information |
| ||||||||||||||||
Pin | Wire Color | Circuit No. | Function | Pin | Wire Color | Circuit No. | Function | ||||||||||||
A | BLK | S43 | Shield Ground | A | BLK | SO2 | Shield Ground | ||||||||||||
B | BRN/GRY | XR109 | Microphone Signal | B | BRN/GRY | XR2 | Microphone Signal | ||||||||||||
| |||||||||||||||||||
|---|---|---|---|---|---|---|---|---|---|---|---|---|---|---|---|---|---|---|---|
Connector Part Information |
| Connector Part Information |
| ||||||||||||||||
Pin | Wire Color | Circuit No. | Function | Pin | Wire Color | Circuit No. | Function | ||||||||||||
1 | GRN | U900 | Lifting magnet control signal | 1 | GRN | -- | Lifting magnet control signal | ||||||||||||
2 | BLU | P100 | Sport mode switch input | 2 | BLU | -- | Sport mode switch input | ||||||||||||
3-5 | -- | -- | Not Used | 3-5 | -- | -- | Not Used | ||||||||||||
6 | BLK | F950 | Ground to G103 | 6 | BRN | -- | Ground to G103 | ||||||||||||
7 | YEL | B901 | Ground supply for fuel tank filler release switch | 7 | WHT | -- | Ground supply for fuel tank filler release switch | ||||||||||||
8 | BLK/BRN | FX900 | B+ when stop lamp switch is closed | 8 | BLK/YEL | -- | B+ when stop lamp switch is closed | ||||||||||||
9 | YEL | B900 | Gear out of park signal to BCM | 9 | BLU | -- | Gear out of park signal to BCM | ||||||||||||
| |||||||||||||||||||
|---|---|---|---|---|---|---|---|---|---|---|---|---|---|---|---|---|---|---|---|
Connector Part Information |
| Connector Part Information |
| ||||||||||||||||
Pin | Wire Color | Circuit No. | Function | Pin | Wire Color | Circuit No. | Function | ||||||||||||
1 | BRN/YEL | XB950 | Passenger seat pretensioner signal LOW | 1 | BRN/YEL | XB901 | Passenger seat pretensioner signal LOW | ||||||||||||
2 | RED/YEL | AB950 | Passenger seat pretensioner signal HIGH | 2 | RED/YEL | AB900 | Passenger seat pretensioner signal HIGH | ||||||||||||
3 | RED/WHT | AM950 | Driver seat pretensioner signal HIGH | 3 | RED/WHT | AM900 | Driver seat pretensioner signal HIGH | ||||||||||||
4 | BRN/WHT | XM950 | Driver seat pretensioner signal LOW | 4 | BRN/WHT | XM901 | Driver seat pretensioner signal LOW | ||||||||||||
5 | YEL | B41 | Driver seat side impact sensor signal | 5 | YEL | B41 | Driver seat side impact sensor signal | ||||||||||||
6 | BRN/YEL | XB42 | Driver seat side impact sensor signal | 6 | BRN/YEL | XB42 | Driver seat side impact sensor signal | ||||||||||||
7 | BRN/WHT | XM430 | Passenger seat side impact sensor signal | 7 | BRN/WHT | XM430 | Passenger seat side impact sensor signal | ||||||||||||
8 | WHT | M44 | Passenger seat side impact sensor signal | 8 | WHT | M44 | Passenger seat side impact sensor signal | ||||||||||||
9 | BRN/PPL | XY999 | ONSTAR signal | 9 | BRN/PPL | XY999 | ONSTAR signal | ||||||||||||
| |||||||||||||||||||
|---|---|---|---|---|---|---|---|---|---|---|---|---|---|---|---|---|---|---|---|
Connector Part Information |
| Connector Part Information |
| ||||||||||||||||
Pin | Wire Color | Circuit No. | Function | Pin | Wire Color | Circuit No. | Function | ||||||||||||
1 | RED/YEL | AB11 | Driver side HIGH signal | 1 | RED/YEL | AB11 | Driver side HIGH signal | ||||||||||||
2 | BRN/YEL | XB100 | Driver side LOW signal | 2 | BRN/YEL | XB100 | Driver side LOW signal | ||||||||||||
| |||||||||||||||||||
|---|---|---|---|---|---|---|---|---|---|---|---|---|---|---|---|---|---|---|---|
Connector Part Information |
| Connector Part Information |
| ||||||||||||||||
Pin | Wire Color | Circuit No. | Function | Pin | Wire Color | Circuit No. | Function | ||||||||||||
1 | RED/WHT | AM13 | Passenger side HIGH signal | 1 | RED/WHT | AM13 | Passenger side HIGH signal | ||||||||||||
2 | BRN/WHT | XM14 | Passenger side LOW signal | 2 | BRN/WHT | XM14 | Passenger side LOW signal | ||||||||||||
| |||||||||||||||||||
|---|---|---|---|---|---|---|---|---|---|---|---|---|---|---|---|---|---|---|---|
Connector Part Information |
| Connector Part Information |
| ||||||||||||||||
Pin | Wire Color | Circuit No. | Function | Pin | Wire Color | Circuit No. | Function | ||||||||||||
1 | RED | A202 | B+ from fuse #6 | 1 | RED | A200 | B+ from fuse #6 | ||||||||||||
2 | BLK | F102 | Ground to G201 | 2 | BLK | F100 | Ground to G201 | ||||||||||||
3 | BRN/WHT | XM160 | Serial data | 3 | BRN/WHT | XM15 | Serial data | ||||||||||||
4 | BRN/WHT | XM45 | Serial data | 4 | BRN/WHT | XM45 | Serial data | ||||||||||||
5 | BLK | S45 | Shield wire | 5 | BLK | S45 | Shield wire | ||||||||||||
6 | WHT | M90 | Chime input (not used) | 6 | WHT | M90 | Chime input (not used) | ||||||||||||
7 | BRN/WHT | XM93 | Chime input (not used) | 7 | BRN/WHT | XM90 | Chime input (not used) | ||||||||||||
8 | BLK | S46 | Shield wire | 8 | BLK | S46 | Shield wire | ||||||||||||
9 | WHT | M91 | Sound processor signal RH (-) | 9 | WHT | M91 | Sound processor signal RH (-) | ||||||||||||
10 | BRN/WHT | XM91 | Sound processor signal RH (+) | 10 | BRN/WHT | XM91 | Sound processor signal RH (+) | ||||||||||||
11 | BLK | S47 | Shield wire | 11 | BLK | S47 | Shield wire | ||||||||||||
12 | WHT | M92 | Sound processor signal LH (-) | 12 | WHT | M92 | Sound processor signal LH (-) | ||||||||||||
13 | BRN/WHT | XM92 | Sound processor signal LH (+) | 13 | BRN/WHT | XM92 | Sound processor signal LH (+) | ||||||||||||
14 | BRN/WHT | XM43 | RH rear door speaker signal (-) | 14 | BRN/WHT | XM43 | RH rear door speaker signal (-) | ||||||||||||
15 | WHT | M43 | RH rear door speaker signal (+) | 15 | WHT | M43 | RH rear door speaker signal (+) | ||||||||||||
16 | BRN/BLU | XP5 | LH front door speaker signal (-) | 16 | BRN/BLU | XP2 | LH front door speaker signal (-) | ||||||||||||
17 | BLU | P5 | LH front door speaker signal (+) | 17 | BLU | P2 | LH front door speaker signal (+) | ||||||||||||
18 | BRN/YEL | XB12 | RH front door speaker signal (-) | 18 | BRN/YEL | XB11 | RH front door speaker signal (-) | ||||||||||||
19 | RED | A201 | B+ from fuse #8 | 19 | RED | A201 | B+ from fuse #8 | ||||||||||||
20 | BLK | F101 | Ground to G201 | 20 | BLK | F101 | Ground to G201 | ||||||||||||
21 | -- | -- | Not Used | 21 | -- | -- | Not Used | ||||||||||||
22 | YEL | B9 | RH front door speaker signal (+) | 22 | YEL | B4 | RH front door speaker signal (+) | ||||||||||||
23 | BRN/GRN | XU43 | LH rear door speaker signal (-) | 23 | BRN/GRN | XU43 | LH rear door speaker signal (-) | ||||||||||||
24 | GRN | U42 | LH rear door speaker signal (+) | 24 | GRN | U43 | LH rear door speaker signal (+) | ||||||||||||
25 | -- | -- | Not Used | 25 | -- | -- | Not Used | ||||||||||||
26 | YEL | B20 | CD player signal | 26 | YEL | B20 | CD player signal | ||||||||||||
27-28 | -- | -- | Not Used | 27-28 | -- | -- | Not Used | ||||||||||||
29 | BRN | X405 | B+ from fuse #14 | 29 | BRN | X10 | B+ from fuse #14 | ||||||||||||
30 | BLK | F405 | Ground to G201 | 30 | BLK | F10 | Ground to G201 | ||||||||||||
31 | RED | A406 | B+ from multifunction relay | 31 | RED | A406 | B+ from multifunction relay | ||||||||||||
32-42 | -- | -- | Not Used | 32-42 | -- | -- | Not Used | ||||||||||||
| |||||||||||||||||||
|---|---|---|---|---|---|---|---|---|---|---|---|---|---|---|---|---|---|---|---|
Connector Part Information |
| Connector Part Information |
| ||||||||||||||||
Pin | Wire Color | Circuit No. | Function | Pin | Wire Color | Circuit No. | Function | ||||||||||||
1 | GRY | R2 | RH rear side door jamb switch signal | 1 | GRY | R18 | RH rear side door jamb switch signal | ||||||||||||
2 | RED/BLU | AP1 | RH roof rail courtesy lamp signal | 2 | RED/BLU | AP809 | RH roof rail courtesy lamp signal | ||||||||||||
3 | -- | -- | Not Used | 3 | -- | -- | Not Used | ||||||||||||
4 | BRN/BLU | XP1 | Rear compartment lid open signal | 4 | BRN/BLU | XP805 | Rear compartment lid open signal | ||||||||||||
5 | -- | -- | Not Used | 5 | -- | -- | Not Used | ||||||||||||
6 | BLK | F1 | Ground to G103 | 6 | BLK | F88 | Ground to G103 | ||||||||||||
7 | -- | -- | Not Used | 7 | -- | -- | Not Used | ||||||||||||
8 | GRY | R1 | RH rear side door jamb switch signal | 8 | GRY | R16 | RH rear side door jamb switch signal | ||||||||||||
9 | -- | -- | Not Used | 9 | -- | -- | Not Used | ||||||||||||
| |||||||||||||||||||
|---|---|---|---|---|---|---|---|---|---|---|---|---|---|---|---|---|---|---|---|
Connector Part Information |
| Connector Part Information |
| ||||||||||||||||
Pin | Wire Color | Circuit No. | Function | Pin | Wire Color | Circuit No. | Function | ||||||||||||
1 | GRY | R2 | LH rear side door jamb switch signal | 1 | GRY | R17 | LH rear side door jamb switch signal | ||||||||||||
2 | RED/BLU | AP1 | LH roof rail courtesy lamp signal | 2 | RED/BLU | AP810 | LH roof rail courtesy lamp signal | ||||||||||||
3 | -- | -- | Not Used | 3 | -- | -- | Not Used | ||||||||||||
4 | BRN/BLU | XP1 | Rear compartment lid open signal | 4 | BRN/BLU | XP804 | Rear compartment lid open signal | ||||||||||||
5 | -- | -- | Not Used | 5 | -- | -- | Not Used | ||||||||||||
6 | BLK | F1 | Ground to G103 | 6 | BLK | F84 | Ground to G103 | ||||||||||||
7 | -- | -- | Not Used | 7 | -- | -- | Not Used | ||||||||||||
8 | GRY | R1 | LH rear side door jamb switch signal | 8 | GRY | R15 | LH rear side door jamb switch signal | ||||||||||||
9 | -- | -- | Not Used | 9 | -- | -- | Not Used | ||||||||||||
| |||||||||||||||||||
|---|---|---|---|---|---|---|---|---|---|---|---|---|---|---|---|---|---|---|---|
Connector Part Information |
| Connector Part Information |
| ||||||||||||||||
Pin | Wire Color | Circuit No. | Function | Pin | Wire Color | Circuit No. | Function | ||||||||||||
1 | YEL | B7 | Memory programming signal | 1 | YEL | B1 | Memory programming signal | ||||||||||||
2 | BLK/RED | FA804 | Doors unlock signal | 2 | BLK/RED | FA804 | Doors unlock signal | ||||||||||||
3 | BLK/YEL | FB805 | Doors lock signal | 3 | BLK/YEL | FB805 | Doors lock signal | ||||||||||||
4 | BLK | F19 | Ground | 4 | BLK | F3 | Ground | ||||||||||||
5 | GRY/GRN | RU15 | Window up signal | 5 | GRY/GRN | RU1, RU2 | Window up signal | ||||||||||||
6-7 | -- | -- | Not Used | 6-7 | -- | -- | Not Used | ||||||||||||
8 | RED | A21 | B+ from fuse #7 | 8 | RED | A1 | B+ from fuse #7 | ||||||||||||
9 | BLU/RED | PA3 | Window down signal | 9 | BLU/RED | PA1, PA2 | Window down signal | ||||||||||||
10 | WHT | M3 | Rear window switch enable signal | 10 | WHT | M1 | Rear window switch enable signal | ||||||||||||
11 | GRY | R17 | Ground | 11 | GRY | R1 | Ground | ||||||||||||
12 | GRN | U42 | Speaker and tweeter feed signal LH (+) | 12 | GRN | U2, | Speaker and tweeter feed signal LH (+) | ||||||||||||
13 | BRN/GRN | XU42 | Speaker and tweeter return signal LH (-) | 13 | BRN/GRN | XU2, | Speaker and tweeter return signal LH (-) | ||||||||||||
14 | -- | -- | Not Used | 14 | -- | -- | Not Used | ||||||||||||
15 | RED/BLU | AP805 | B+ to rear door lamp | 15 | RED/BLU | AP805 | B+ to rear door lamp | ||||||||||||
| |||||||||||||||||||
|---|---|---|---|---|---|---|---|---|---|---|---|---|---|---|---|---|---|---|---|
Connector Part Information |
| Connector Part Information |
| ||||||||||||||||
Pin | Wire Color | Circuit No. | Function | Pin | Wire Color | Circuit No. | Function | ||||||||||||
1 | YEL | B8 | Memory programming signal | 1 | YEL | B1 | Memory programming signal | ||||||||||||
2 | BLK/RED | FA803 | Doors unlock signal | 2 | BLK/RED | FA804 | Doors unlock signal | ||||||||||||
3 | BLK/YEL | FB804 | Doors lock signal | 3 | BLK/YEL | FB805 | Doors lock signal | ||||||||||||
4 | BLK | F18 | Ground | 4 | BLK | F3 | Ground | ||||||||||||
5 | GRY/GRN | RU16 | Window up signal | 5 | GRY/GRN | RU1, RU2 | Window up signal | ||||||||||||
6-7 | -- | -- | Not Used | 6-7 | -- | -- | Not Used | ||||||||||||
8 | RED | A11 | B+ from fuse #7 | 8 | RED | A1 | B+ from fuse #7 | ||||||||||||
9 | BLU/RED | PA4 | Window down signal | 9 | BLU/RED | PA1, PA2 | Window down signal | ||||||||||||
10 | WHT | M4 | Rear window switch enable signal | 10 | WHT | M1 | Rear window switch enable signal | ||||||||||||
11 | GRY | R18 | Ground | 11 | GRY | R1 | Ground | ||||||||||||
12 | GRN | M42 | Speaker and tweeter feed signal RH (+) | 12 | GRN | U2 | Speaker and tweeter feed signal RH (+) | ||||||||||||
13 | BRN/GRN | XM42 | Speaker and tweeter return signal RH (-) | 13 | BRN/GRN | XU2 | Speaker and tweeter return signal RH (-) | ||||||||||||
14 | -- | -- | Not Used | 14 | -- | -- | Not Used | ||||||||||||
15 | RED/BLU | AP804 | B+ to rear door lamp | 15 | RED/BLU | AP805 | B+ to rear door lamp | ||||||||||||
| |||||||||||||||||||
|---|---|---|---|---|---|---|---|---|---|---|---|---|---|---|---|---|---|---|---|
Connector Part Information |
| Connector Part Information |
| ||||||||||||||||
Pin | Wire Color | Circuit No. | Function | Pin | Wire Color | Circuit No. | Function | ||||||||||||
A | BLK | F2 | Ground to G103 | A | BLK | F900 | Ground to G103 | ||||||||||||
B | RED/BLU | AP2 | Sunshade ON signal | B | RED/BLU | AP803 | Sunshade ON signal | ||||||||||||
|
| ||||||||||||||||||
|---|---|---|---|---|---|---|---|---|---|---|---|---|---|---|---|---|---|---|---|
Connector Part Information |
| Connector Part Information |
| ||||||||||||||||
Pin | Wire Color | Circuit No. | Function | Pin | Wire Color | Circuit No. | Function | ||||||||||||
1 | RED | A40 | B+ from fuse #28 | 1 | RED | A40 | B+ from fuse #28 | ||||||||||||
2 | BRN | X13 | B+ from fuse #15 | 2 | BRN | X13 | B+ from fuse #15 | ||||||||||||
3 | BLK | F40 | Ground to G103 | 3 | BLK | F40 | Ground to G103 | ||||||||||||
4 | BRN/WHT | XM55 | Serial data | 4 | BRN/WHT | XM55 | Serial data | ||||||||||||
5 | GRY/WHT | RM12 | Door open signal | 5 | GRY/WHT | RM12 | Door open signal | ||||||||||||
6 | BLK/BRN | FX75 | Memory potentiometer signal | 6 | BLK/BRN | FX75 | Memory potentiometer signal | ||||||||||||
7 | BRN | X75 | Memory potentiometer signal | 7 | BRN | X75 | Memory potentiometer signal | ||||||||||||
8 | GRY/GRN | RU60 | RH outside rear view mirror memory signal | 8 | GRY/GRN | RU60 | RH outside rear view mirror memory signal | ||||||||||||
9 | GRY | R70 | RH outside rear view mirror memory signal | 9 | GRY | R70 | RH outside rear view mirror memory signal | ||||||||||||
10 | GRY/BLK | RF60 | Inside rear view mirror memory signal | 10 | GRY/BLK | RF60 | Inside rear view mirror memory signal | ||||||||||||
11 | GRY/YEL | RB60 | Inside rear view mirror memory signal | 11 | GRY/YEL | RB60 | Inside rear view mirror memory signal | ||||||||||||
12 | GRY/GRN | RU50 | Memory potentiometer signal | 12 | GRY/GRN | RU50 | Memory potentiometer signal | ||||||||||||
13 | GRY | R60 | Memory potentiometer signal | 13 | GRY | R60 | Memory potentiometer signal | ||||||||||||
14 | BLK/RED | FA75 | RH outside rear view mirror common | 14 | BLK/RED | FA75 | RH outside rear view mirror common | ||||||||||||
15 | GRN | U80 | LH memory mirror control signal | 15 | GRN | U80 | LH memory mirror control signal | ||||||||||||
16 | YEL | B12 | LH memory mirror control signal | 16 | YEL | B12 | LH memory mirror control signal | ||||||||||||
17 | BLU/WHT | PM60 | Inside rear view mirror control signal | 17 | BLU/WHT | PM60 | Inside rear view mirror control signal | ||||||||||||
18 | BLU/RED | PA60 | Inside rear view mirror control signal | 18 | BLU/RED | PA60 | Inside rear view mirror control signal | ||||||||||||
19 | BLU | P70 | RH outside rear view mirror control signal | 19 | BLU | P70 | RH outside rear view mirror control signal | ||||||||||||
20 | GRY | R65 | RH outside rear view mirror control signal | 20 | GRY | R65 | RH outside rear view mirror control signal | ||||||||||||
|
| ||||||||||||||
|---|---|---|---|---|---|---|---|---|---|---|---|---|---|---|---|
Connector Part Information |
| Connector Part Information |
| ||||||||||||
Pin | Wire Color | Circuit No. | Function | Pin | Wire Color | Circuit No. | Function | ||||||||
1 | RED/WHT | AM900 | Driver Belt High | 1 | BLU | -- | Driver Belt High | ||||||||
2 | BRN/WHT | XM901 | Driver Belt Low | 2 | BRN | -- | Driver Belt Low | ||||||||
|
| ||||||||||||||
|---|---|---|---|---|---|---|---|---|---|---|---|---|---|---|---|
Connector Part Information |
| Connector Part Information |
| ||||||||||||
Pin | Wire Color | Circuit No. | Function | Pin | Wire Color | Circuit No. | Function | ||||||||
7 | BLK | F650 | Ground to G103 | 7 | BRN/YEL | -- | Ground to G103 | ||||||||
8 | BRN/BLK | XF21 | Seat Belt Buckled/Unbuckled Signal | 8 | BRN | -- | Seat Belt Buckled/Unbuckled Signal | ||||||||
|
| ||||||||||||||
|---|---|---|---|---|---|---|---|---|---|---|---|---|---|---|---|
Connector Part Information |
| Connector Part Information |
| ||||||||||||
Pin | Wire Color | Circuit No. | Function | Pin | Wire Color | Circuit No. | Function | ||||||||
3 | RED | A70 | Fused Battery Voltage | 3 | -- | -- | Fused Battery Voltage | ||||||||
4 | BLK | F66 | Ground to G103 | 4 | -- | -- | Ground to G103 | ||||||||
|
| ||||||||||||||
|---|---|---|---|---|---|---|---|---|---|---|---|---|---|---|---|
Connector Part Information |
| Connector Part Information |
| ||||||||||||
Pin | Wire Color | Circuit No. | Function | Pin | Wire Color | Circuit No. | Function | ||||||||
5 | BLK | F39 | Ground to G103 | 5 | -- | -- | Ground to G103 | ||||||||
6 | BLK/RED | FA9 | Heated Seat Signal | 6 | -- | -- | Heated Seat Signal | ||||||||
|
| ||||||||||||||
|---|---|---|---|---|---|---|---|---|---|---|---|---|---|---|---|
Connector Part Information |
| Connector Part Information |
| ||||||||||||
Pin | Wire Color | Circuit No. | Function | Pin | Wire Color | Circuit No. | Function | ||||||||
1 | RED/YEL | AB900 | Belt Pretensioner Signal | 1 | BLU | -- | Belt Pretensioner Signal | ||||||||
2 | BRN/YEL | XB901 | Belt Pretensioner Signal | 2 | BRN | -- | Belt Pretensioner Signal | ||||||||
|
| ||||||||||||||
|---|---|---|---|---|---|---|---|---|---|---|---|---|---|---|---|
Connector Part Information |
| Connector Part Information |
| ||||||||||||
Pin | Wire Color | Circuit No. | Function | Pin | Wire Color | Circuit No. | Function | ||||||||
3 | RED | A75 | Fused Battery Voltage | 3 | -- | -- | Fused Battery Voltage | ||||||||
4 | BLK | F67 | Ground to G103 | 4 | -- | -- | Ground to G103 | ||||||||
|
| ||||||||||||||
|---|---|---|---|---|---|---|---|---|---|---|---|---|---|---|---|
Connector Part Information |
| Connector Part Information |
| ||||||||||||
Pin | Wire Color | Circuit No. | Function | Pin | Wire Color | Circuit No. | Function | ||||||||
5 | BLK | F38 | Ground to G103 | 5 | -- | -- | Ground to G103 | ||||||||
6 | BLK/YEL | FB7 | Heated Seat Signal | 6 | -- | -- | Heated Seat Signal | ||||||||
| |||||||||||||||||||
|---|---|---|---|---|---|---|---|---|---|---|---|---|---|---|---|---|---|---|---|
Connector Part Information |
| Connector Part Information |
| ||||||||||||||||
Pin | Wire Color | Circuit No. | Function | Pin | Wire Color | Circuit No. | Function | ||||||||||||
1 | RED | A1 | B+ from fuse #4 | 1 | RED | A6 | B+ from fuse #4 | ||||||||||||
2 | BLK/WHT | FM1 | LH rear seat heater switch signal | 2 | BLK/WHT | FM300 | LH rear seat heater switch signal | ||||||||||||
3 | BLK | F1 | Ground to G200 | 3 | BLK | F35 | Ground to G200 | ||||||||||||
4 | BLK/YEL | FB2 | LH rear heater relay ON signal | 4 | BLK/YEL | FB32 | LH rear heater relay ON signal | ||||||||||||
5 | BRN | X1 | B+ from fuse #15 | 5 | BRN | X33 | B+ from fuse #15 | ||||||||||||
6 | BLK/WHT | FM2 | RH rear seat heater switch signal | 6 | BLK/WHT | FM31 | RH rear seat heater switch signal | ||||||||||||
7 | BLK/RED | FA2 | RH rear heater relay On signal | 7 | BLK/RED | FA32 | RH rear heater relay ON signal | ||||||||||||
8-9 | -- | -- | Not Used | 8-9 | -- | -- | Not Used | ||||||||||||
| |||||||||||||||||||
|---|---|---|---|---|---|---|---|---|---|---|---|---|---|---|---|---|---|---|---|
Connector Part Information |
| Connector Part Information |
| ||||||||||||||||
Pin | Wire Color | Circuit No. | Function | Pin | Wire Color | Circuit No. | Function | ||||||||||||
A | RED/BLU | AP11 | B+ from fuse #18 | A | RED/BLU | AP10 | B+ from fuse #18 | ||||||||||||
B | BLK | F226 | Ground to G103 | B | BLK | F224 | Ground to G103 | ||||||||||||
C | BLU/BLK | PF12 | Fuel gauge signal | C | BLU/BLK | PF11 | Fuel gauge signal | ||||||||||||
D | BRN/YEL | XB902 | Fuel tank pressure signal | D | BRN/YEL | XB1 | Fuel tank pressure signal | ||||||||||||
E | BRN/GRN | XU901 | Sensor ground | E | BRN/GRN | XU1 | Sensor ground | ||||||||||||
F | BLU/BLK | PF901 | 5V reference | F | BLU/BLK | PF1 | 5V reference | ||||||||||||
G | BLK | F225 | Ground to G400 | G | BLK | F30 | Ground to G400 | ||||||||||||
H | -- | -- | Not Used | H | -- | -- | Not Used | ||||||||||||
| |||||||||||||||||||
|---|---|---|---|---|---|---|---|---|---|---|---|---|---|---|---|---|---|---|---|
Connector Part Information |
| Connector Part Information |
| ||||||||||||||||
Pin | Wire Color | Circuit No. | Function | Pin | Wire Color | Circuit No. | Function | ||||||||||||
1 | GRY/RED | RA1 | RH rear side marker lamp signal | 1 | GRY/RED | RA20 | RH rear side marker lamp signal | ||||||||||||
2 | GRY/GRN | RU1 | License lamp signal | 2 | GRY/GRN | RU11 | License lamp signal | ||||||||||||
3 | BLK/GRN | FU1 | RH rear side marker lamp signal | 3 | BLK/GRN | FU30 | RH rear side marker lamp signal | ||||||||||||
4 | GRY/BLK | RF1 | LH rear side marker lamp signal | 4 | GRY/BLK | RF20 | LH rear side marker lamp signal | ||||||||||||
5 | BLK | F1 | License lamp signal | 5 | BLK | F44 | License lamp signal | ||||||||||||
6 | BLK/WHT | FM1 | LH rear side marker lamp signal | 6 | BLK/WHT | FM30 | LH rear side marker lamp signal | ||||||||||||
| |||||||||||||||||||
|---|---|---|---|---|---|---|---|---|---|---|---|---|---|---|---|---|---|---|---|
Connector Part Information |
| Connector Part Information |
| ||||||||||||||||
Pin | Wire Color | Circuit No. | Function | Pin | Wire Color | Circuit No. | Function | ||||||||||||
1 | BLK | F20 | Ground from G400 | 1 | BLK | F20 | Ground from G400 | ||||||||||||
2 | BLU/RED | PA6 | Rear Sunshade Control Signal | 2 | BLU/RED | PA6 | Rear Sunshade Control signal | ||||||||||||
3 | RED | A95 | Fused Battery Voltage | 3 | RED | A95 | Fused Battery Voltage | ||||||||||||
4 | -- | -- | Not Used | 4 | -- | -- | Not Used | ||||||||||||
| |||||||||||||||||||
|---|---|---|---|---|---|---|---|---|---|---|---|---|---|---|---|---|---|---|---|
Connector Part Information |
| Connector Part Information |
| ||||||||||||||||
Pin | Wire Color | Circuit No. | Function | Pin | Wire Color | Circuit No. | Function | ||||||||||||
1 | BLK/RED | FA807 | Rear compartment release signal | 1 | BLK/RED | FA11 | Rear compartment release signal | ||||||||||||
2 | BLK/YEL | FB15 | Auxiliary brake lamp signal | 2 | BLK/YEL | FB5 | Auxiliary brake lamp signal | ||||||||||||
3 | GRY/GRN | RU12 | Taillamp (middle) signal | 3 | GRY/BLK | RF1 | Taillamp (middle) signal | ||||||||||||
4 | BLK | F48 | Ground to G201 | 4 | BLK | F48 | Ground to G201 | ||||||||||||
5 | -- | -- | Not Used | 5 | -- | -- | Not Used | ||||||||||||
6 | BLK/YEL | FB806 | Rear compartment release signal | 6 | BLK/YEL | FB21 | Rear compartment release signal | ||||||||||||
7 | BRN/BLU | XP901 | Rear compartment lamp switch signal | 7 | BRN/BLU | XP1 | Rear compartment lamp switch signal | ||||||||||||
8 | WHT/BLK | MF10 | Transmission position signal | 8 | WHT/BLK | MF10 | Transmission position signal | ||||||||||||
9 | BRN/WHT | XM9 | Rear compartment lamp switch signal | 9 | BRN/WHT | XM8 | Rear compartment lamp switch signal | ||||||||||||
| |||||||||||||||||||
|---|---|---|---|---|---|---|---|---|---|---|---|---|---|---|---|---|---|---|---|
Connector Part Information |
| Connector Part Information |
| ||||||||||||||||
Pin | Wire Color | Circuit No. | Function | Pin | Wire Color | Circuit No. | Function | ||||||||||||
1 | BLK | F9 | Ground to G200 | 1 | BLK | F1 | Ground to G200 | ||||||||||||
2 | RED | A4 | B+ from fuse #1 | 2 | RED | A2 | B+ from fuse #1 | ||||||||||||
3-4 | -- | -- | Not Used | 3-4 | -- | -- | Not Used | ||||||||||||
5 | GRY | R110 | RH outside rear view mirror signal | 5 | GRY | R4, R5 | RH outside rear view mirror signal | ||||||||||||
6 | BRN/BLU | XP809 | Passenger door lamp signal | 6 | BRN/BLU | XP810 | Passenger door lamp signal | ||||||||||||
7 | BLK/BRN | FX804 | Door lock signal | 7 | BLK/BRN | FX805 | Door lock signal | ||||||||||||
8-15 | -- | -- | Not Used | 8-15 | -- | -- | Not Used | ||||||||||||
16 | BLU/RED | PA1 | Window down signal | 16 | BLU/RED | PA2 | Window down signal | ||||||||||||
17 | GRY/GRN | RU6 | Window up signal | 17 | GRY/GRN | RU6 | Window up signal | ||||||||||||
18 | -- | -- | Not Used | 18 | -- | -- | Not Used | ||||||||||||
19 | BLK/WHT | FM22 | B+ from fuse #11 | 19 | BLK/WHT | FM2, FM20 | B+ from fuse #11 | ||||||||||||
20 | YEL | B10 | Door speaker and tweeter signal RH (+) | 20 | YEL | B1 | Door speaker and tweeter signal RH (+) | ||||||||||||
21 | BLK/RED | FA700 | Outside rear view mirror common | 21 | BLK/RED | FA4, FA65 | Outside rear view mirror common | ||||||||||||
22 | BRN/YEL | XB10 | Door speaker and tweeter signal RH (-) | 22 | BRN/YEL | XB1 | Door speaker and tweeter signal RH (-) | ||||||||||||
23 | YEL | B5 | Door open signal | 23 | YEL | B2 | Door open signal | ||||||||||||
24 | -- | -- | Not Used | 24 | -- | -- | Not Used | ||||||||||||
25 | BLK/YEL | FB802 | Window actuator signal | 25 | BLK/YEL | FB9 | Window actuator signal | ||||||||||||
26 | RED/BLU | AP807 | Door lamp signal | 26 | RED/BLU | AP888 | Door lamp signal | ||||||||||||
27 | BLU | P30 | Memory control signal | 27 | BLU | P2, P10 | Memory control signal | ||||||||||||
28 | -- | -- | Not Used | 28 | -- | -- | Not Used | ||||||||||||
29 | BLK/PPL | FY804 | Door unlock signal | 29 | BLK/PPL | FY805 | Door unlock signal | ||||||||||||
30-31 | -- | -- | Not Used | 30-31 | -- | -- | Not Used | ||||||||||||
32 | BLK/BRN | FX65 | Memory potentiometer signal | 32 | BLK/BRN | FX65 | Memory potentiometer signal | ||||||||||||
33 | BRN | X65 | Memory potentiometer signal | 33 | BRN | X65 | Memory potentiometer signal | ||||||||||||
34 | BLK/RED | FA802 | Window actuator signal | 34 | BLK/RED | FA809 | Window actuator signal | ||||||||||||
35 | -- | -- | Not Used | 35 | -- | -- | Not Used | ||||||||||||
36 | GRY | R70 | Memory potentiometer signal | 36 | GRY | R70 | Memory potentiometer signal | ||||||||||||
37 | -- | -- | Not Used | 37 | -- | -- | Not Used | ||||||||||||
38 | GRY/GRN | RU60 | Memory potentiometer signal | 38 | GRY/GRN | RU60 | Memory potentiometer signal | ||||||||||||
39 | BRN/WHT | XM430 | Side impact sensor signal | 39 (AJ6) | BRN/WHT | XM42 | Side impact sensor signal | ||||||||||||
40 | WHT | M44 | Side impact sensor signal | 40 (AJ6) | WHT | M42 | Side impact sensor signal | ||||||||||||