GM Service Manual Online
For 1990-2009 cars only

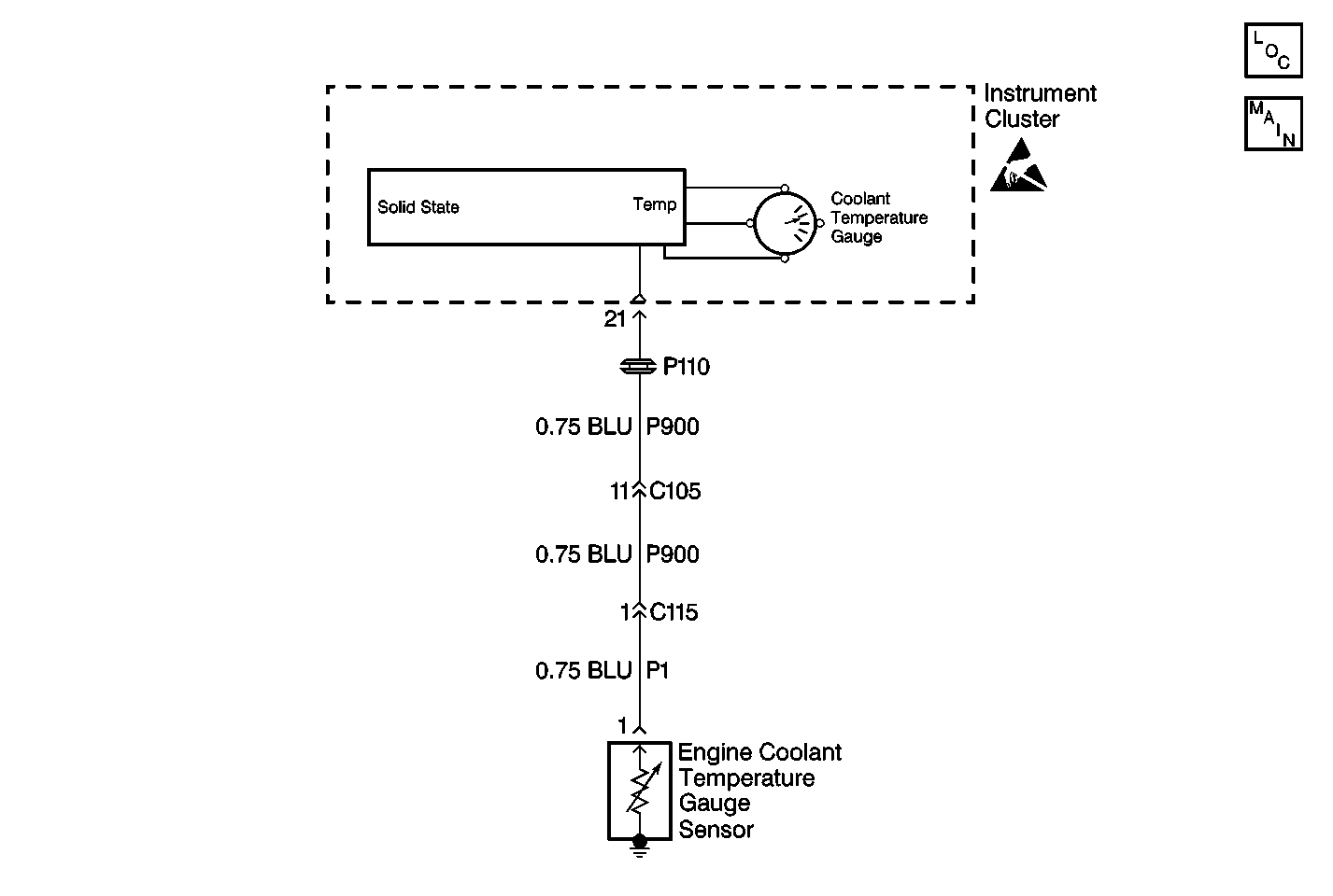
Object Number: 408397  Size: MF

Circuit Description

A microprocessor in the instrument cluster sends voltage to the engine coolant temperature gauge sensor. The gauge sensor is a thermistor, as the temperature of the engine coolant changes the resistance of the gauge sensor changes. The instrument cluster monitors changes in the voltage caused by the changes in the resistance of the sensor to determine coolant temperature.

As the resistance of the gauge sensor decreases, the coolant temperature gauge senses a smaller voltage drop across the gauge sensor. This indicates a higher coolant temperature. As the resistance of the sensor increases, the temperature gauge senses a larger voltage drop across the gauge sensor. This indicates a lower coolant temperature.

Conditions for Setting the DTC

The coolant temperature gauge circuit is tested every 100 ms. DTC 14 will set when the circuit is shorted to ground or the coolant sensor is internally shorted (less than 15 ohms) for more than 8 seconds.

Action Taken When the DTC Sets

    • Stores a DTC 14 in memory
    • The coolant temperature gauge pointer will return to the zero position

Conditions for Clearing the DTC

    • The resistance must be greater than 15 ohms for 4 seconds to clear the fault in the next monitoring cycle
    • Conditions for the fault are no longer present
    • Using a scan tool.

Diagnostic Aids

    • If the DTC is a history or an intermittent DTC, try performing the test shown while moving related wiring harnesses and connectors. This can often cause the malfunction to appear. Refer to Intermittents and Poor Connections Diagnosis in Wiring Systems.
    • Visually inspect the harness and the harness connectors for the following conditions:
       - Damage
       - Corrosion
       - Water intrusion
       - Adequate terminal tension
       - Mis-routed harness
       - Rubbed through wire insulation
       - Broken wire inside the insulation
    • Before replacing the instrument cluster, test all power and ground circuits to the cluster. Refer to Measuring Voltage Drop in Wiring Systems.

Test Description

The numbers below refer to the step numbers on the diagnostic table.

  1. This test determines whether the instrument cluster is supplying voltage to the coolant temperature gauge sensor. No voltage may indicate a grounded circuit.

  2. After making a circuit repair, test the system again in order to see if the DTC resets. If the DTC resets, the instrument cluster most likely has an internal failure.

Step

Action

Values

Yes

No

1

Did you perform the Instrument Cluster Diagnostic System Check?

--

Go to Step 2

Go to Diagnostic System Check - Instrument Cluster

2

  1. Disconnect connector C105.
  2. Turn ON the ignition switch.
  3. Use a DMM in order to measure the voltage at connector C105 terminal 11.

Is the voltage within the specified range?

B+

Go to Step 3

Go to Step 4

3

Measure the resistance from connector C105 terminal 11 (sensor side) to ground.

Is the resistance less than the indicated value?

15 ohms

Go to Step 5

Go to Step 6

4

  1. Remove the instrument cluster.
  2. Disconnect the instrument cluster connector.
  3. Measure the resistance from the instrument cluster connector terminal 21 and a good ground.

Is the resistance within the specified range?

OL

Go to Step 7

Go to Step 8

5

  1. Disconnect connector C115.
  2. Measure the resistance from connector C115 terminal 1 (sensor side) to ground.

Is the resistance less than the indicated value?

15 ohms

Go to Step 9

Go to Step 10

6

Move related harnesses and harness connectors while monitoring the DMM.

Did you find and repair a circuit problem?

--

Go to Step 7

Go to Diagnostic Aids

7

  1. Install the scan tool in order to clear codes.
  2. Retest for a current DTC 14.

Is a current DTC 14 set?

--

Go to Step 11

System OK

8

Repair the short to ground between the instrument cluster connector terminal 21 and C105 terminal 11 (CKT P900 BLU wire).

Is the repair complete?

--

Go to Step 7

--

9

Replace the coolant sensor.

Is the replacement complete?

--

Go to Step 7

--

10

Repair the short to ground in the circuit between C105 terminal 11 and C115 terminal 1.

Is the repair complete?

--

Go to Step 7

--

11

Replace the instrument cluster.

Is the replacement complete?

--

Go to Instrument Cluster System Check

--