GM Service Manual Online
For 1990-2009 cars only

Removal Procedure


    Object Number: 243308  Size: SH
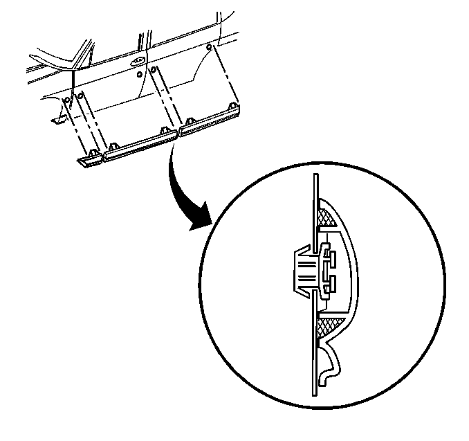
  1. Remove the body side molding:
  2. 1.1. Starting at the rear, pry the molding away from the door using a plastic tool.
    1.2. Pull the molding from the door when free of the door edge.
    1.3. Discard the clips.
    1.4. Replace the molding.
  3. Clean the door surface using an oil free naphtha or isopropyl alcohol.

Installation Procedure


    Object Number: 243308  Size: SH
  1. Install the body side molding:
  2. 1.1. Warm the panel with a heat lamp.

    Specification
    Body minimum panel temperature: 21°C (70°F)

    1.2. Peel the backing from the molding.
    1.3. Align the molding and the new clips with the door holes.
    1.4. Insert the molding.
    1.5. Firmly press the molding into place.
  3. Inspect that the molding does not overlap at the following locations:
  4. • The door edge
    • The door edge guard
    • The fender