GM Service Manual Online
For 1990-2009 cars only

    Object Number: 160905  Size: SH
  1. Construct the watertest stand.

  2. Object Number: 160908  Size: SH
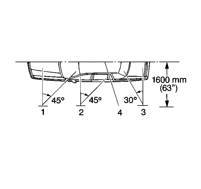
  3. Watertest stand specifications:
  4. • The volume of flow -- 14 liters (3.7 gallons) per minute.
    • The windshield and front body pillar -- (1) approximately 30 degrees down, 45 degrees toward rear and aimed at the corner of the windshield.
    • The doors -- (2) approximately 30 degrees down, 45 degrees towards rear and aimed at the center of rear door or the rear quarter panel.
    • The rear wind and the rear compartment lid -- (3) approximately 30 degrees down, 30 degrees toward front and aimed about 600 mm (24 in) from the corner of the rear window.
  5. Move both test stands toward the body until you obtain the water spray overlap, if you cannot obtain the water pressure 155 kPa (22 psi), due to a local situation.