GM Service Manual Online
For 1990-2009 cars only

The sunroof features a glass panel with a manually operated sunshade. It is electrically operated from a potentiometer switch, that is located in the overhead console (center).

To open the sunroof, turn the ignition switch to the RUN position, then turn the sunroof rotary type switch to the rearward position. The glass panel will retract and slide rearward into the storage space between the roof panel and the headliner. As the glass retracts, the wind deflector extends above the roof line.

To close sunroof, turn the potentiometer switch in the forward position until the glass completely closes, retracting the wind deflector and sealing against the roof opening flange. If the operator turns the rotary type switch past the forward position, after the glass has completely closed. The rear of the glass panel will rise to the vent position. To close the glass, turn the rotary switch to the forward position again and the glass will lower and reseal to the roof opening. The sunroof potentiometer switch allows the sunroof be set to many positions. The potentiometer module is non serviceable, and is made in conjunction with the motor. The scan tool is also available to diagnose and check the function of the sunroof potentiometer module.

The sunroof is equipped with a pinch guard for safety.


Object Number: 168403  Size: SH
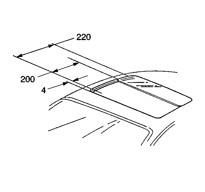
    • Pinch guard is in a effect when the glass panel is open:
       - The pinch guard is effective in an opening width of 4-200 mm (0.15 in to 8 in).
       - If an obstruction is met, the glass panel returns to an opening width of 220 mm (8.5 in).

Object Number: 168409  Size: SH
    • Pinch guard with tilted glass panel:
       - The pinch guard is effective when the glass panel is tilted 4-40 mm (0.15 to 1.5 in).
       - If an obstruction is met, the glass panel returns to the glass panel fully tilted position.
       - The pinch guard can be overruled with the ignition switched to RUN position, to bring the glass panel into the closed position, by placing the (rotary knob) in the closed position and pressing knob.

When the battery is disconnected, power is lost to the programmer or if the motor is removed the sunroof must be reprogrammed. Refer to Power Sunroof Operation .