GM Service Manual Online
For 1990-2009 cars only
Makes
🢒
Cadillac
🢒
1999
🢒
Catera
🢒 Cell 50 DLC and All Modules
Cell 50 DLC and All Modules
Cell 50 DLC and All Modules
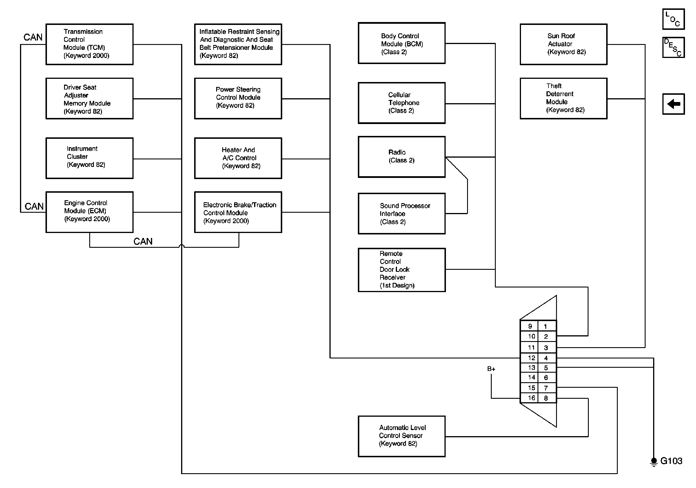
Data Link Communications Components
Data Link Communications Operation
Cell 50 ALC Sensor, Cruise Control Module, EBTCM, and Heater and A/C Control