GM Service Manual Online
For 1990-2009 cars only

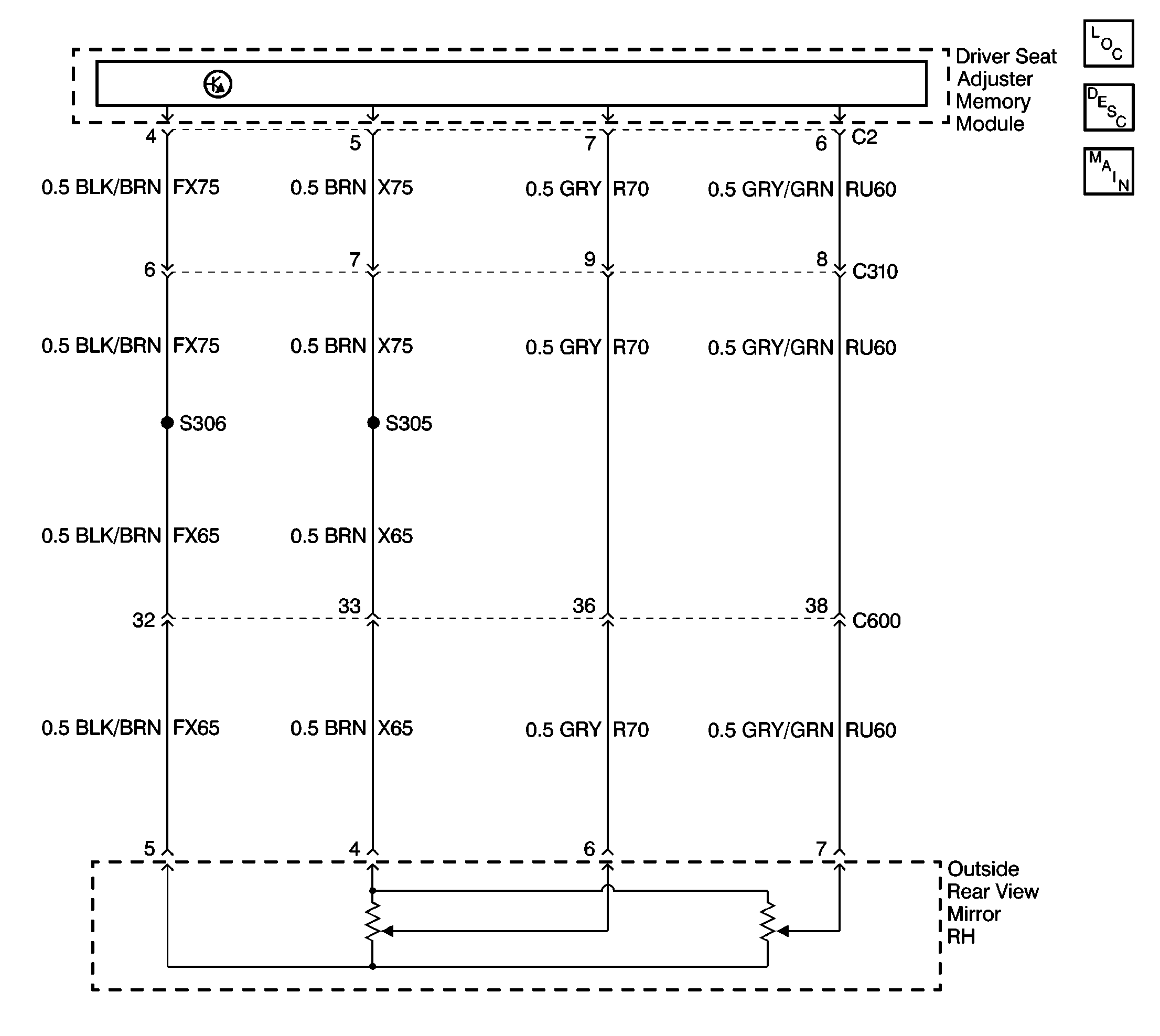
RH Outside Rear View Mirror With Memory


Object Number: 246079  Size: LF
Power Door Systems Components
Outside Mirrors Circuit Description
Cell 147 RH Outside Rear View Mirror and Inside Rear View Mirror With MemorY

Circuit Description

The driver seat adjuster memory module monitors the voltage of the LH outside rear view mirror motor and potentiometer circuits using terminals 6 and 7 of the driver seat adjuster memory module connector C2. The normal voltage reading should be between 0.14 V-4.67 V. If the voltage reading is not in the normal range, the driver seat adjuster memory module sets DTC 20.

Conditions for Setting the DTC

DTC 20 will set if:

    • there is a short to voltage in any of the circuits related to terminals 6 and 7 of the driver seat adjuster memory module connector C2.
    • there is a short to ground or an open in any of the circuits related to terminals 6 and 7 of the driver seat adjuster memory module connector C2.
    • there is a failure within the RH outside rear view mirror potentiometer.
    • there is an internal failure within the driver seat adjuster memory module.

Action Taken When the DTC Sets

    • The driver seat adjuster memory module will store DTC 20.
    • The automatic adjustment of the RH outside rear view mirror is blocked.
    • The adjustment speed of the RH outside rear view mirror motors is not monitored (i.e. blocking end of the affected motor is not recognized).
    • The end stops of the RH outside rear view mirror motors is not monitored (i.e. the affected motor is not switched off when it reaches its programmed end stop).
    • The position of the motor is not stored in the driver seat adjuster memory module.

Conditions for Clearing the DTC

    • DTC 20 will clear when the conditions for the fault are no longer present.
    • DTC 20 can be cleared by using the scan tool.

Diagnostic Aids

    • Check for an open, high resistance, short to ground or short to voltage in circuit RU60.
    • Check for an open, high resistance, short to ground or short to voltage in circuit R70.
    • Check for loose connections and damaged connectors.

Test Description

The number(s) below refer to the step number(s) on the diagnostic table.

  1. This step checks the voltage on circuit R70.

  2. This step checks the voltage on circuit RU60.

  3. This step replaces the RH outside rear view mirror.

RH Outside Rear View Mirror Inoperative, DTC 20 Set

Step

Action

Value(s)

Yes

No

1

Was the Power Mirrors System Check performed?

--

Go to Step 2

Go to Outside Mirrors System Check .

2

  1. Disconnect the RH outside rear view mirror.
  2. Use the DMM to measure the voltage between terminal 6 of the RH outside rear view mirror connector and a known good ground.

Is the measured voltage within the specified value?

.14 V-4.67 V

Go to Step 4

Go to Step 3

3

  1. Locate an open, high resistance, short to ground or short to voltage in circuit R70.
  2. Repair the open, high resistance, short to ground or short to voltage in circuit R70.
  3. Replace the driver seat adjuster memory module if this circuit is OK. Refer to Memory Seat Control Module Replacement in Seats.

Is the repair or replacement complete?

--

Go to Step 7

--

4

Use the DMM to measure the voltage between terminal 7 of the RH outside rear view mirror connector and a known good ground.

Is the measured voltage within the specified value?

.14 V-4.67 V

Go to Step 6

Go to Step 5

5

  1. Locate an open, high resistance, short to ground or short to voltage in circuit RU60.
  2. Repair the open, high resistance, short to ground or short to voltage in circuit RU60.
  3. Replace the driver seat adjuster memory module if these circuits are OK. Refer to Memory Seat Control Module Replacement in Seats.

Is the repair or replacement complete?

--

Go to Step 7

--

6

Replace the RH outside rear view mirror. Refer to Power Mirror Replacement in Doors.

Is the replacement complete?

--

Go to Step 7

--

7

  1. Connect all connectors and components that were disconnected.
  2. Program the driver seat adjuster memory module. Refer to Memory Seat Operation in Seats.
  3. Install the scan tool.
  4. Verify that there are no codes present.
  5. Also verify that the RH outside rear view mirror operates properly.

Does the RH outside rear view mirror operate properly?

--

System OK

Go to Step 1