GM Service Manual Online
For 1990-2009 cars only

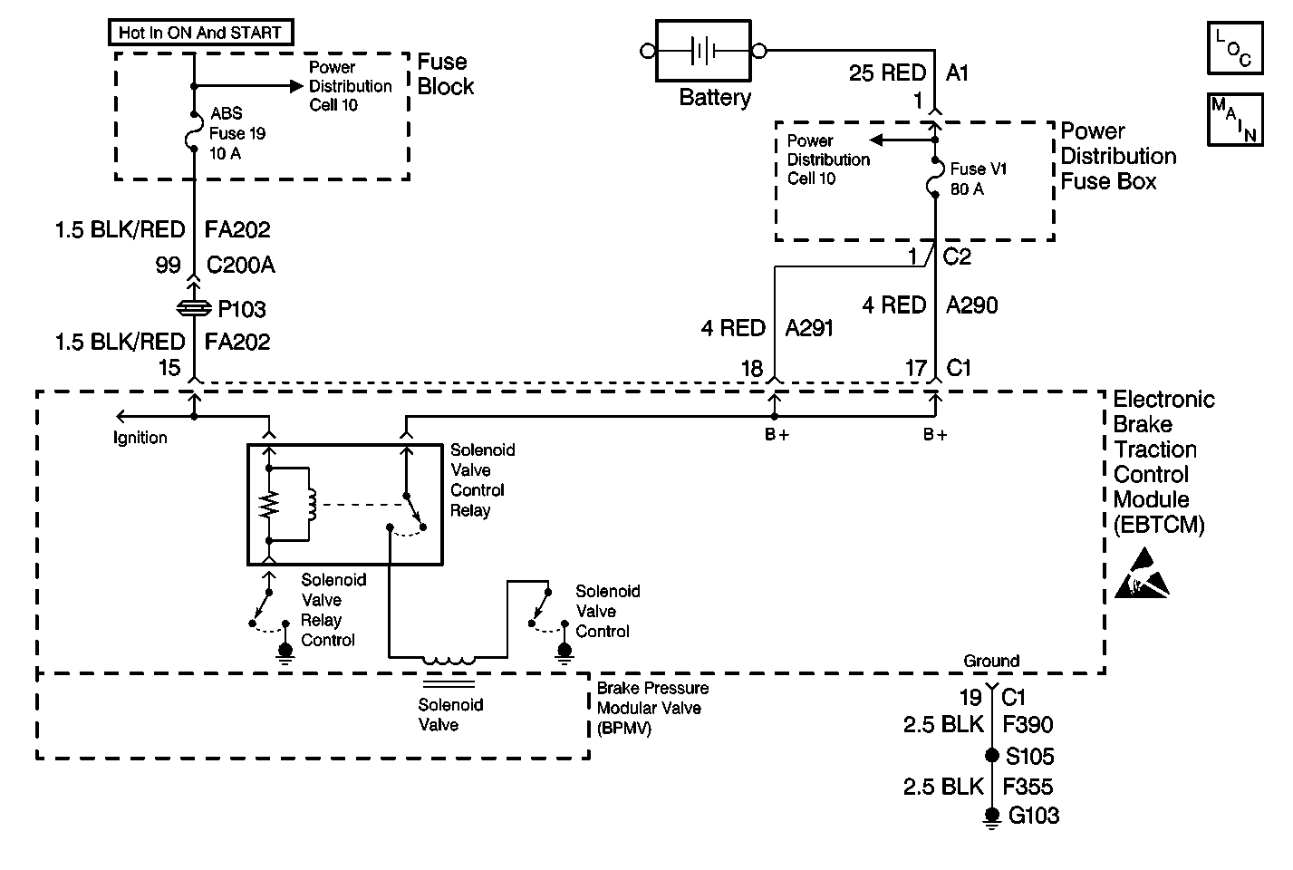
Object Number: 416452  Size: MF
ABS Components
Cell 44 EBTCM Power and Ground, BPMV, and DLC

Circuit Description

The outlet valve solenoid circuits are supplied with battery power when the ignition is in the ON position. The EBTCM controls the valve functions by grounding the circuit when necessary.

Conditions for Setting the DTC

The EBTCM senses a discrepancy such as an open, short to ground, or short to voltage in the circuit.

Action Taken When the DTC Sets

    • A malfunction DTC is stored.
    • ABS/TCS is disabled.
    • The ABS and TC Indicators are turned on.

Conditions for Clearing the DTC

    • Condition for DTC is no longer present and scan tool clear DTC function is used.
    • 100 ignition cycles pass with no DTC(s) detected.

Diagnostic Aids

The solenoid valve circuit and the solenoid coil are internal to the EBTCM. No part of the solenoid circuit is diagnosable external to the EBTCM. The DTC sets when there is a malfunction in the solenoid circuit internal to the EBTCM only.

Test Description

The numbers below refer to step numbers on the Diagnostic Table.

  1. This step determines if the DTC is current.

DTC C0070 RF ABS Solenoid #1 Circuit Malfunction

Step

Action

Value(s)

Yes

No

1

Was the Diagnostic System Check performed?

--

Go to Step 2

Go to Diagnostic System Check - ABS

2

  1. Turn the ignition switch to the OFF position.
  2. Install a scan tool.
  3. Turn the ignition switch to the ON position, engine off.
  4. Using the scan tool run the Automated test.

Does DTC C0070 reset as a current DTC?

--

Go to Step 3

Go to Diagnostic System Check - ABS

3

Replace the EBTCM. Refer to Electronic Brake and Traction Control Module Replacement .

Is the repair complete?

--

Go to Diagnostic System Check - ABS

--