GM Service Manual Online
For 1990-2009 cars only

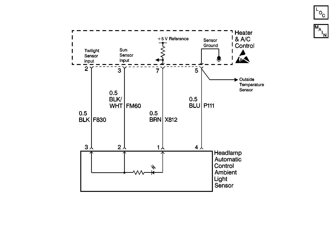
Object Number: 373821  Size: MF

Circuit Description

The solar/twilight sensor is a photo-electric cell that provides two inputs to the heater and A/C control system. The input for the sunload is at terminal 3 of the heater and A/C control. This is used by the controller for temperature control compensation based on additional heat from the sun (sunload.) The input for the twilight sentinel is at terminal 2. This input is processed by the controller and sent to the Body Control Module (BCM).

Conditions for Setting the DTC

The voltage on circuits P11 or P111 significantly rises above 400 mV for 200 ms.

Action Taken When the DTC Sets

    • Stores a DTC 40 in the heater and A/C control memory
    • The system will default to a assumed value of no solar heat (darkness).
    • DTCs 10, 12, 14, 26, 39, 55, and 169 may also appear when DTC 40 sets.

Conditions for Clearing the DTC

    • The conditions for the fault are no longer present.
    • Use a scan tool in order to clear this DTC.
    • A history DTC will clear after 20 consecutive ignition cycles if the condition for the fault is no longer present.

Diagnostic Aids

    • In the event that the multiple DTCs set, first follow the repair procedures in the diagnostic table for DTC 40. If some or all of the multiple DTCs reappear after repairing the cause of DTC 40, follow the repair procedures given for the appropriate DTC.
    • If the DTC is a history or intermittent. Try performing the tests shown while moving the wiring harnesses and connectors, this may often cause the malfunction to appear.
    • Visually inspect the sensor connector and harness for damage, corrosion or water intrusion.
    • Inspect for adequate terminal tension, mis-routed harness, rubbed through wire insulation, and broken wire(s) inside the insulation.

Test Description

The number(s) below refer to the step number(s) on the diagnostic table.

  1. This step checks the ground circuit of the solar/twilght sensor. A normal reading should be approximately 400 mV or less. A significantly higher voltage reading indicates a circuit problem.

  2. This step isolates the circuit and a check is made for a short to voltage.

  3. If no apparent circuit condition was found, the most likely cause is a heater and A/C control malfunction.

Step

Action

Value(s)

Yes

No

1

Was the Air Delivery System Check performed?

--

Go to Step 2

Go to HVAC Air Delivery System Check

2

  1. Disconnect the ambient air outside temperature sensor connector.
  2. Turn ON the ignition switch.
  3. Measure for voltage at the outside temperature sensor harness connector terminal B.

Does the voltage measure less than the specified value?

400 mV

Go to Diagnostic Aids

Go to Step 3

3

Test the solar/twilight sensor ground circuit for a short to voltage.

Did you find and correct the condition?

--

Go to Step 4

Go to Step 5

4

  1. Reassemble any connectors/components removed.
  2. Install a scan tool in order to clear DTCs.
  3. Recheck for a current DTC 39.

Is a current DTC 39 present?

--

Go to Step 5

System OK

5

Replace and program the heater and A/C control. Refer to Control Assembly Replacement for the programming procedure.

Is the replacement and programming complete?

--

Go to Step 6

--

6

Operate the system in order to verify the repair.

Did you correct the condition?

--

System OK

--