GM Service Manual Online
For 1990-2009 cars only
Makes
🢒
Cadillac
🢒
2000
🢒
Catera
🢒
Transmission/Transaxle
🢒
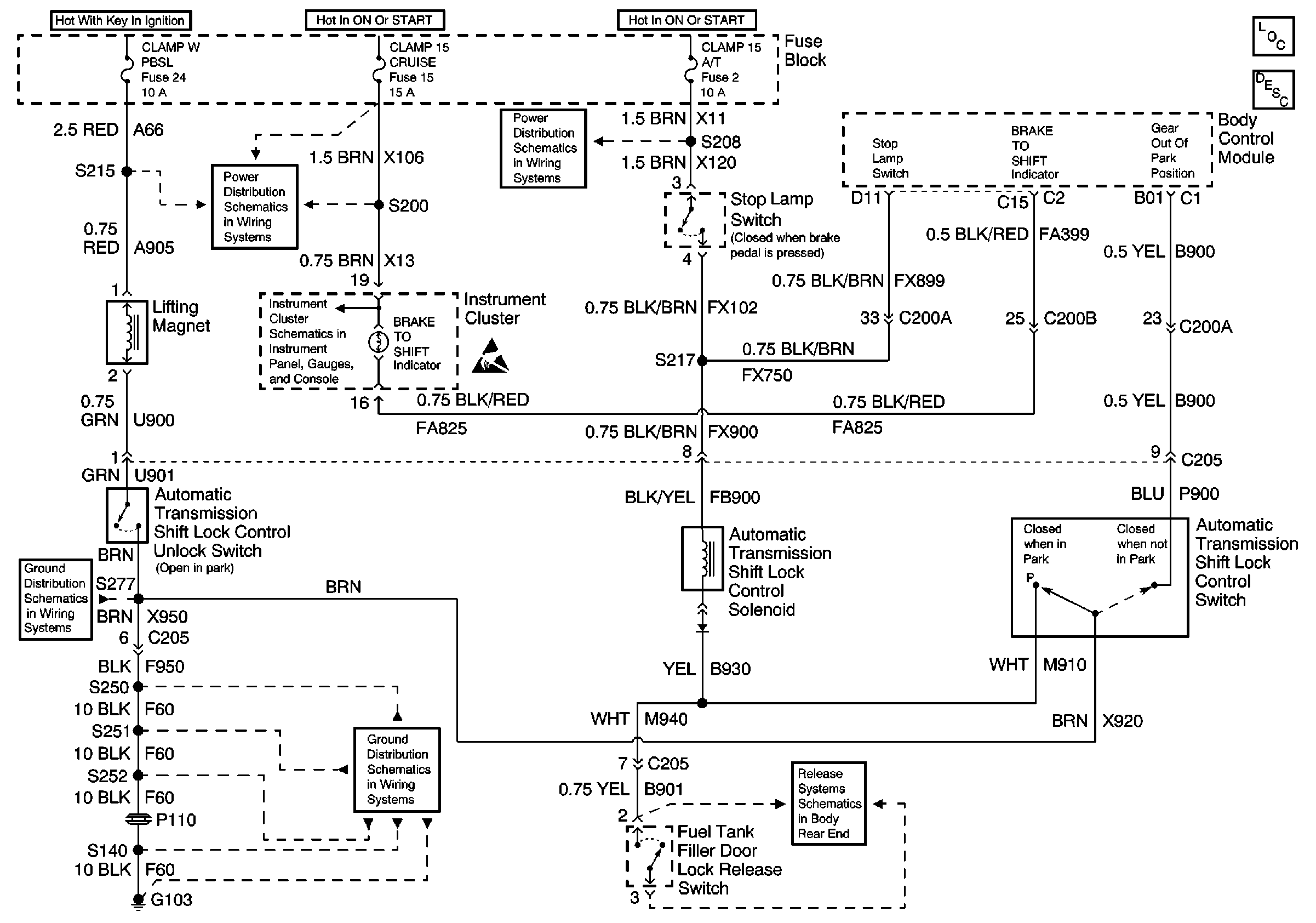
Automatic Transmission - 4L30-E
🢒 Shift Lock Control Schematics
Automatic Transmission Shift Lock Control System