GM Service Manual Online
For 1990-2009 cars only
Figure 1:

DLC Pins 4, 16, 5, and 2


Object Number: 603912  Size: FS
Figure 2:

DLC Pins 8 and 12


Object Number: 603953  Size: FS
Figure 3:

DLC Pins 3 and 7


Object Number: 603957  Size: FS
Figure 4:

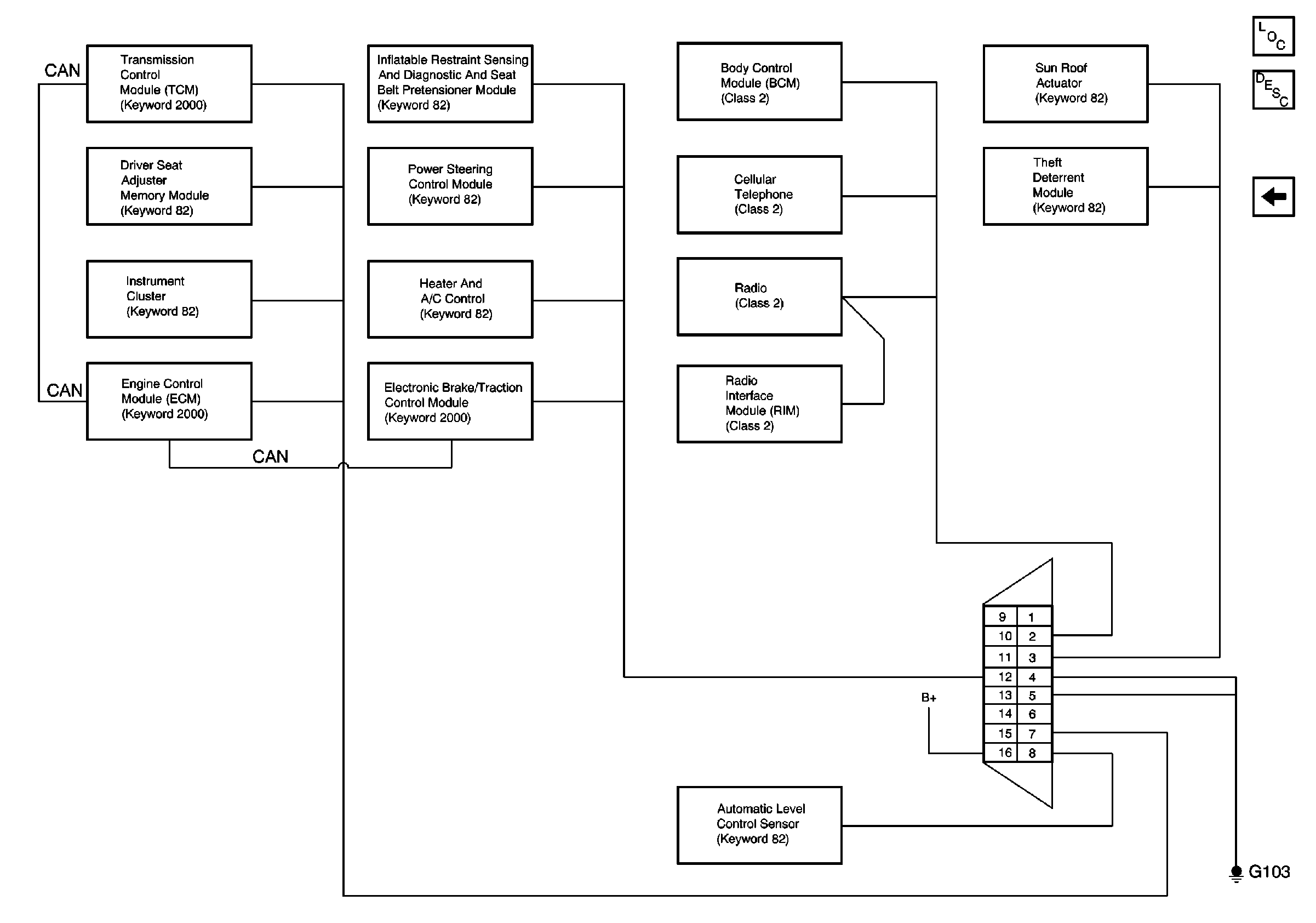
Overview of All Modules


Object Number: 603959  Size: FS