GM Service Manual Online
For 1990-2009 cars only
Figure 1:

Switches


Object Number: 593610  Size: FS
Figure 2:

Central Locking Relay K135


Object Number: 593611  Size: FS
Figure 3:

Door Lock Actuators


Object Number: 593612  Size: FS
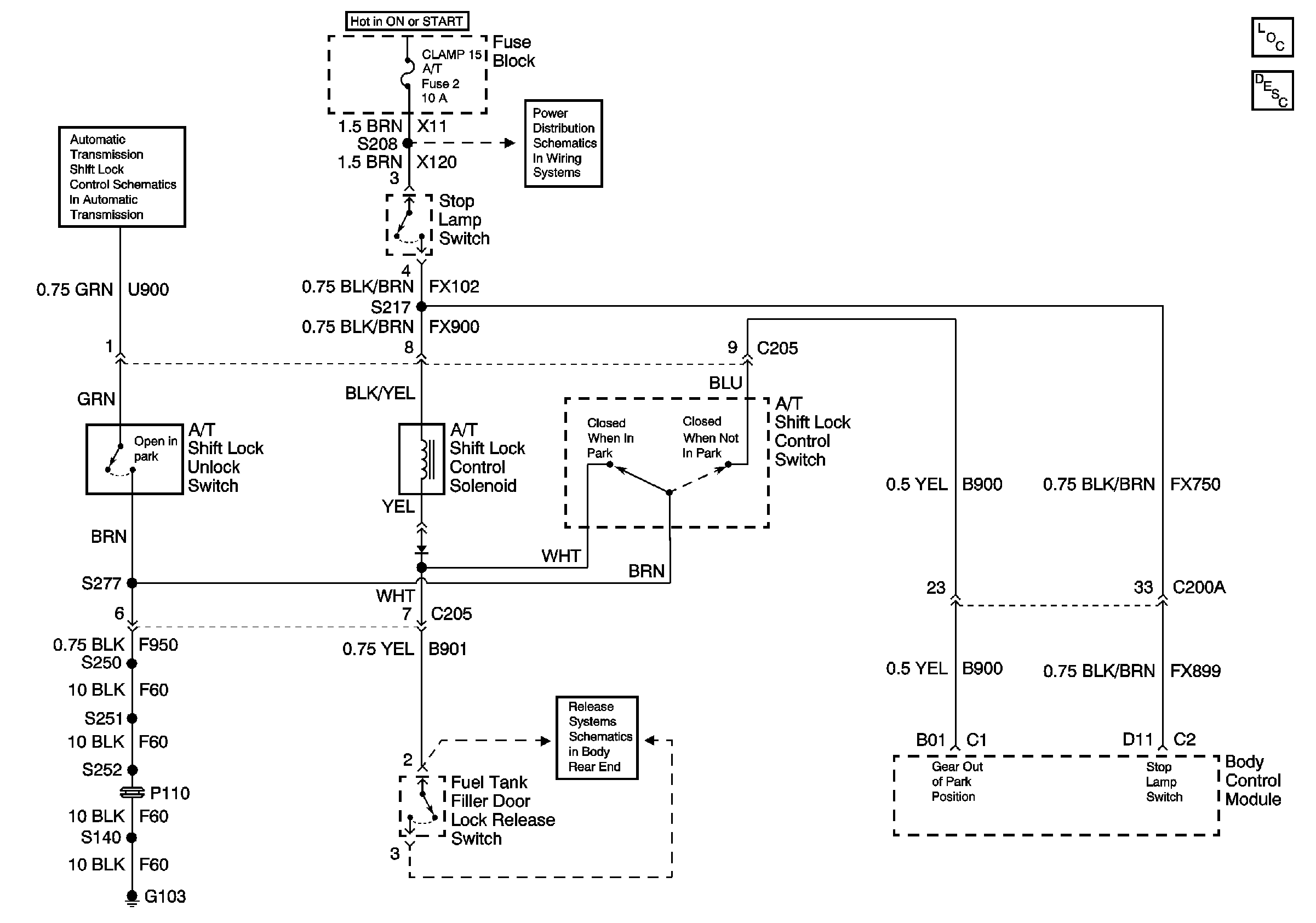
Figure 4:

Stop Lamp Switch, BCM, and Transmission Control Selector Switch


Object Number: 595207  Size: FS