GM Service Manual Online
For 1990-2009 cars only

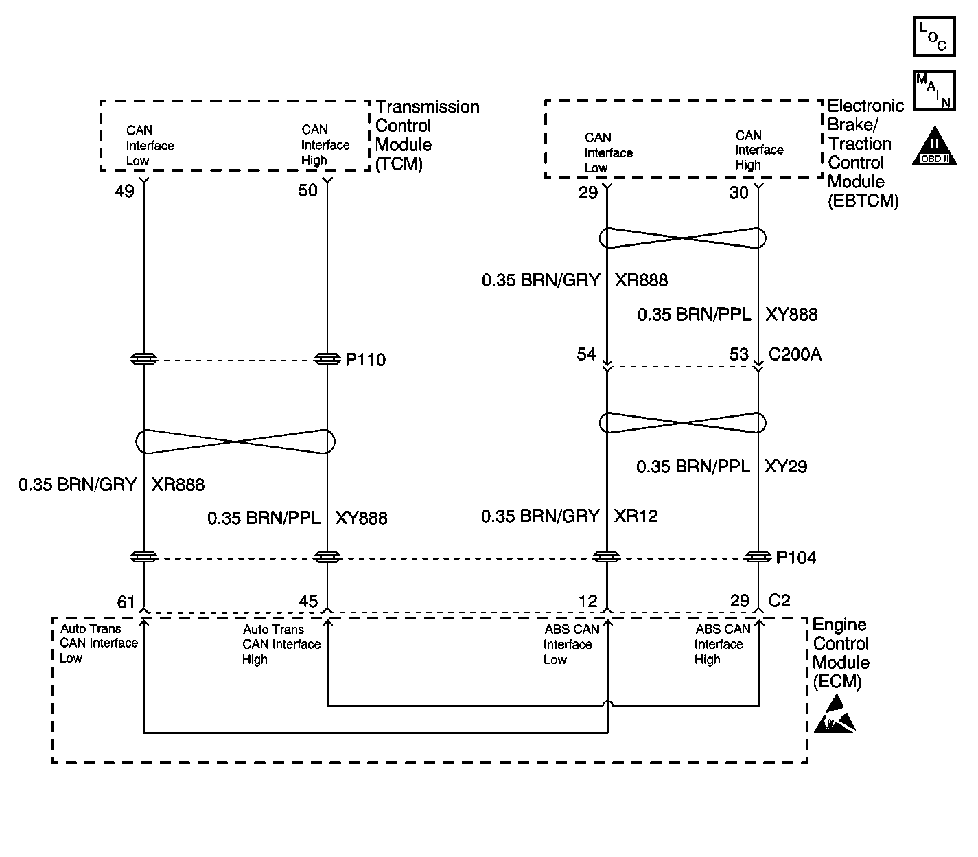
Object Number: 556741  Size: LF
Data Link Communications Components
Serial Data CAN Interface

Circuit Description

The Controller Area Network (CAN) serial data circuit is a high speed serial data bus used to communicate information between the Electronic Brake and Traction Control Module (EBTCM), the Engine Control Module (ECM) and the Transmission Control Module (TCM). When the ignition switch is turned to the ON position, the modules begin to transmit data between each other. The following data is transmitted and received between the ECM and TCM:

    • Brake Switch signal from the ECM to the TCM
    • Throttle Position Angle from the ECM to the TCM
    • Engine Speed signal from the ECM to the TCM
    • Engine Coolant Temperature from the ECM to the TCM
    • Engine Torque signal from the ECM to the TCM
    • MIL Request signal from the TCM to the ECM

The following data is transmitted and received between the ECM and EBTCM:

    • Requested Torque from the EBTCM to the ECM
    • Delivered Torque from the ECM to the EBTCM
    • Engine Speed (RPM) from the ECM to the EBTCM

The addressing scheme employed with CAN assigns a label to every message, with each message receiving a unique "identifier". The identifier classifies the content of the message (such as engine speed). Each module processes only those messages whose identifiers are stored in the module's acceptance list. This is CAN's form of message filtering.

The identifier labels both the data content and the priority of the message being sent. Each module can begin transmitting its most important data as soon as the bus is unoccupied. When more than one module starts to transmit simultaneously, the message with the highest priority is assigned first access. A module responds to failure to gain access by automatically switching to receive mode, the module then repeats the transmission attempt as soon as the bus is free again.

Conditions for Running the DTC

The CAN Bus circuit is monitored continuously after the ignition switch is turned to the ON position.

Conditions for Setting the DTC

The TCM and EBTCM monitor the received messages from the ECM for corruption or for missing messages. 3 seconds after initialization, the control module that has set the DTC is not receiving a message back from the ECM, or the message is corrupted.

Action Taken When the DTC Sets

The following describes the action taken when the code is set in a particular control module.

Transmission Control Module

    • The Service Transmission Lamp (STL) is illuminated.
    • The TCM sends a MIL request to the ECM on the second consecutive drive trip that the diagnostic runs and fails. The ECM then illuminates the MIL.
    • The transmission operates in the Default Mode:
       - Maximum line pressure
       - Command 4th gear
       - Inhibit TCC
       - Freeze shift adapts

Electronic Brake Traction Control Module

    • A malfunction DTC is stored.
    • TCS is disabled.
    • The TC indicator is illuminated.

Conditions for Clearing the MIL/DTC

The following describes the conditions for clearing the MIL/DTC in a particular control module.

Transmission Control Module

    • The condition for the DTC is no longer present. The TCM turns off the STL.
    • The ECM turns off the MIL after three consecutive drive trips during which the TCM sends no MIL request.
    • The scan tool clear DTC function is used.
    • A history DTC clears after 40 consecutive warm-up cycles, if no failures are present by this diagnostic or any other emission related diagnostic.
    • The TCM cancels the DTC Default Mode actions when the malfunction no longer is present and the ignition switch is off long enough to power down the TCM.

Electronic Brake Traction Control Module

    • The condition for the DTC is no longer present.
    • The scan tool clear DTC function is used.
    • A history DTC clears after 100 ignition cycles pass with no malfunction detected.

Diagnostic Aids

This DTC is confined to a malfunction with the control module that the DTC was set in, or the control module(s) that is connected to the module the code was set in. A physical malfunction of the harness is not the cause of this DTC. If there is a malfunction with the CAN Bus harness, DTC U2100 will be set.

The scan tool can be used as an aid in diagnosing this DTC. In the scan tool data display, observe the following parameters that are transmitted over the CAN Bus:

Engine Data Display

MIL Request

Transmission Data Display

    • Brake Switch
    • Engine Coolant Temperature (ECT)
    • Engine Speed
    • Engine Torque
    • Throttle Position (TP) Angle

ABS Data Display

    • Engine Speed
    • Delivered Engine Torque

Observing the data display parameters for abnormalities or missing data may pinpoint which control module is causing the malfunction.

Test Description

The number(s) below refer to the step number(s) on the diagnostic table.

  1. A DTC U2100 set in either the ECM, TCM or EBTCM may have caused U2105 to set. You must diagnose and clear DTC U2100 to determine if it is the cause of U2105 setting.

  2. If the Engine Control Module (ECM) loses power, it will cause other module(s) to set Lost Communication DTCs.

  3. The malfunction is due to an open in the CAN Bus serial data circuit or an open in the module.

  4. Because of the malfunction, The ECM may have set CAN Bus DTCs for those modules that it was monitoring.

  5. The Transmission Control Module (TCM) and Electronic Brake and Traction Control Module (EBTCM) may have set other CAN Bus DTCs because of the original malfunction. You must clear the DTCs from these modules to avoid future misdiagnosis.

Step

Action

Value(s)

Yes

No

1

Did you perform the applicable diagnostic system check for one of the following modules?

    • ECM
    • EBTCM
    • TCM

--

Go to Step 2

Go to the Applicable Diagnostic System Check

2

Was DTC U2100 recorded as a history or current DTC in the ECM, TCM or EBTCM?

--

Go to diagnostic table DTC U2100 CAN-BUS Communication Malfunction

Go to Step 3

3

  1. Inspect and test the ECM battery positive voltage circuit.
  2. Inspect and test all ECM ignition positive voltage circuits.
  3. Inspect and test the ECM ground wire at mounting plate.
  4. Inspect and test the operation of the engine controls power relay (K43). Refer to Engine Controls Power Relay Circuit Diagnosis in Engine Controls.

Did you find and correct the condition?

--

Go to Step 8

Go to Step 4

4

Inspect for poor connections/terminal tension at the CAN Bus serial data circuit(s) of the module that set DTC U2105. Refer to Testing for Intermittent Conditions and Poor Connections in Wiring Systems.

Did you find and correct the condition?

--

Go to Step 8

Go to Step 5

5

Test the CAN Bus serial data circuit(s) for an open between the module that set DTC U2105 and the ECM. Refer to Testing for Continuity in Wiring Systems.

Did you find and correct the condition?

--

Go to Step 8

Go to Step 6

6

Inspect for poor connections/terminal tension at the CAN Bus serial data circuit(s) of the ECM. Refer to Testing for Intermittent Conditions and Poor Connections in Wiring Systems.

Did you find and correct the condition?

--

Go to Step 8

Go to Step 7

7

Replace the ECM. Refer to Engine Control Module Replacement/Programming in Engine Controls 3.0L.

Did you complete the replacement?

--

Go to Step 10

--

8

  1. Install a scan tool.
  2. Turn the ignition switch to the ON position, leaving the engine off.
  3. Select the Display DTCs function in Engine Controls.

Does the scan tool display any DTCs other than the following?

    • U2103
    • U2104
    • U2106
    • U2108

--

Go to Powertrain On Board Diagnostic (OBD) System Check in Engine Controls 3.0L

Go to Step 9

9

Use the scan tool in order to clear the DTCs.

Did you complete the action?

--

Go to Step 10

--

10

Select the Display DTCs function for the module(s) which set DTC U2105.

Does the scan tool display any DTCs other than the following?

    • U2103
    • U2104
    • U2105

--

Go to Transmission On Board Diagnostic (OBD) System Check in Automatic Transmission 4L30-E and/or Diagnostic System Check - ABS in Antilock Brake System

Go to Step 11

11

  1. Use the scan tool in order to clear DTCs.
  2. Continue diagnosing or clearing the DTCs until all the modules have been diagnosed and all the DTCs have been cleared.

Did you complete the action?

--

System OK

--