GM Service Manual Online
For 1990-2009 cars only

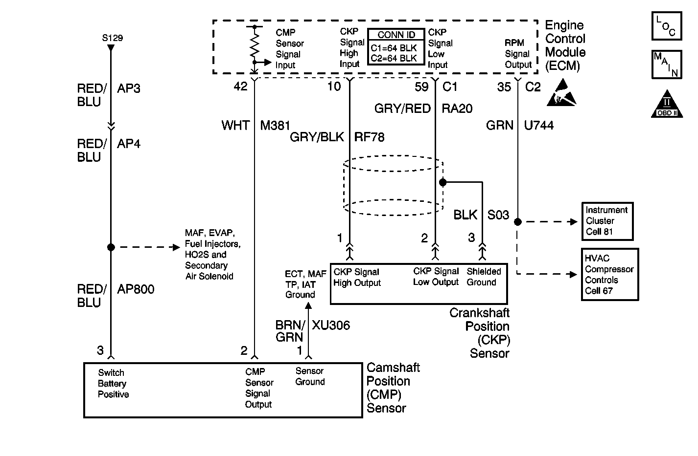
Object Number: 667805  Size: MF
Handling ESD Sensitive Parts Notice
Engine Controls Components
Engine Data Sensors
OBD II Symbol Description Notice

Circuit Description

The crankshaft position (CKP) sensor works in conjunction with a 58 tooth reluctor wheel on the crankshaft. The engine control module (ECM) monitors the voltage between the CKP sensor signal circuits. As each reluctor wheel tooth rotates past the sensor, the sensor creates an analog signal. This analog signal is processed by the ECM. The reluctor wheel teeth are 6 degrees apart. Having only 58 teeth leaves a 12 degree span that is uncut. This creates a signature pattern that enables the ECM to determine the crankshaft position. The ECM can determine which two cylinders are approaching the top center based on the CKP signal alone. The camshaft position (CMP) sensor signal is used in order to determine which of the two cylinders is on a firing stroke. The ECM can then properly synchronize the ignition system, the fuel injectors, and the knock control. This sensor is also used in order to detect misfire. Refer to DTC P0300 for information on misfire detection.

Conditions for Running the DTC

The ECM has detected CMP sensor pulses.

Conditions for Setting the DTC

The ECM has detected no CKP sensor pulses.

Action Taken When the DTC Sets

The ECM illuminates the malfunction indicator lamp (MIL) and records the operating conditions in the Freeze Frame on the second consecutive drive trip that the diagnostic runs and fails.

Conditions for Clearing the MIL/DTC

    • The ECM turns OFF the MIL after 3 consecutive drive trips that the diagnostic runs and passes.
    • A History DTC clears after forty consecutive warm-up cycles in which no failures are reported by this diagnostic or any other emissions related diagnostic.
    • The scan tool clears the MIL/DTC.

Diagnostic Aids

Use the J 35616 connector test adapter kit for any test that requires probing the ECM harness connector or a component harness connector. Using this kit prevents damage to the harness or component terminals. Refer to Using Connector Test Adapters in Wiring Systems. For an intermittent, refer to Symptoms .

Check for the following conditions:

    • The CKP shielded wiring for continuity or damage--By disconnecting the CKP sensor connector the shielded ground can be tested for continuity back to the ECM by connecting a test lamp to B+. Good CKP shield continuity will illuminate the test lamp.
    • Damaged harness--Inspect the wiring harness for any damage. If the harness appears to be OK, connect the DMM to the high and low signal inputs at the ECM connector. Monitor the resistance of the circuit while moving the harness in different locations. A fluctuation in the resistance will indicate the area of a possible concern.
    • Damaged CKP lead--If the sensor lead is damaged in any way the sensor must be replaced.
    • The CKP Sensor for proper installation--A CKP Sensor that is loose or not fully seated, causing an excessive air gap between the sensor and the reluctor wheel, may cause this DTC to set.

If a repair is necessary refer to Wiring Repairs or Connector Repairs in Wiring Systems.

Test Description

The numbers below refer to the step numbers on the diagnostic table.

  1. This step tests for proper CKP sensor resistance.

  2. This step tests the CKP circuits for a short to ground. The DMM should indicate OL.

  3. This step determines if the cause of the incorrect resistance is the sensor or the circuits.

  4. This step tests for a short to voltage.

  5. This step tests for proper CKP A/C voltage output at engine cranking speed.

  6. This step determines if the cause of the incorrect resistance is the sensor or the circuits.

DTC P0335 - Crankshaft Position (CKP) Sensor Circuit

Step

Action

Values

Yes

No

1

Did you perform the Powertrain On-Board Diagnostic (OBD) System check?

--

Go to Step 2

Go to Powertrain On Board Diagnostic (OBD) System Check

2

Attempt to start the engine.

Does the engine start and run?

--

Go to Diagnostic Aids

Go to Step 3

3

  1. Turn OFF the ignition.
  2. Disconnect the ECM.
  3. Connect the DMM to the high and low signal inputs at the ECM connector.
  4. Measure the resistance of the circuit.

Is the resistance within the specified range?

774-946 ohms @ 20°C (68°F)

Go to Step 4

Go to Step 5

4

  1. Using the DMM, individually test the harness for continuity between both of the CKP sensor circuits and the battery ground. The DMM should indicate OL.
  2. Using the DMM, individually test the harness for continuity between both of the CKP sensor circuits and the shielded ground circuit terminal at the ECM connector. The DMM should indicate OL.
  3. Refer to the electrical schematic diagrams for a complete wiring view of the shielded ground.

Is continuity indicated?

--

Go to Step 8

Go to Step 6

5

  1. Disconnect the CKP sensor.
  2. Test both CKP sensor circuits between the CKP sensor connector and the ECM connector for continuity. The DMM should indicate very low resistance.
  3. Test for a short between the two CKP sensor circuits. The DMM should indicate OL.
  4. Test for poor connections or poor terminal tension at the CKP sensor and ECM connectors refer to Testing for Intermittent Conditions and Poor Connections in Wiring Systems.
  5. Repair the condition as necessary. Refer to Wiring Repairs and Connector Repairs in Wiring Systems.

Did you find and correct the condition?

--

Go to Step 15

Go to Step 12

6

  1. Turn ON the ignition with the engine OFF.
  2. Using the DMM, test for a short to voltage on both of the CKP circuits at the CKP sensor connector.

Is voltage indicated?

--

Go to Step 9

Go to Step 7

7

  1. Turn OFF the ignition.
  2. Reconnect the CKP sensor connector.
  3. Connect the DMM to the two CKP sensor circuit terminals at the ECM connector.
  4. Set the DMM to measure AC voltage on the 4 volt scale.
  5. Observe the AC voltage while cranking the engine.

Does the digital multimeter (DMM) indicate voltage more than the specified value?

2 V

Go to Step 13

Go to Step 11

8

  1. Disconnect the CKP sensor.
  2. Inspect both CKP sensor circuits for continuity between the ECM harness connector terminals and the battery ground.

Is continuity indicated?

--

Go to Step 10

Go to Step 11

9

Repair the short to voltage in the effected CKP circuit. Refer to Wiring Repairs in Wiring Systems.

Is the action complete?

--

Go to Step 15

--

10

Repair the short to ground in the effected CKP circuit. Refer to Wiring Repairs in Wiring Systems.

Is the action complete?

--

Go to Step 15

--

11

Test the CKP sensor for the following conditions:

    • Poor connections or poor terminal tension at the CKP sensor harness connector. Refer to Testing for Intermittent Conditions and Poor Connections and Connector Repairs in Wiring Systems.
    • The sensor for proper installation. A sensor that is loose or not fully seated could cause an excessive air gap between the sensor and the reluctor wheel.

Did you find and correct the condition?

--

Go to Step 15

Go to Step 12

12

Replace the CKP sensor. Refer to Crankshaft Position Sensor Replacement .

Is the action complete?

--

Go to Step 15

--

13

Test for poor connections or poor terminal tension at the ECM connector. Refer to Testing for Intermittent Conditions and Poor Connections and Connector Repairs in Wiring Systems.

Did you find and correct the condition?

--

Go to Step 15

Go to Step 14

14

Important: Perform the Idle Learn Procedure when replacing the ECM or throttle body.

Important: This vehicle is equipped with a Theft Deterrent System which interfaces with the Engine Control Module (ECM). Program the new ECM with the frequency code of the theft deterrent module that is currently on the vehicle.

Replace the ECM. Refer to Engine Control Module Replacement/Programming .

Is the action complete?

--

Go to Step 15

--

15

  1. Use a scan tool in order to clear the DTCs.
  2. Start the engine.
  3. Allow the engine to idle until the engine reaches the normal operating temperature.
  4. Select the DTC and the Specific DTC function.
  5. Enter the DTC number that was set.
  6. Operate the engine within the Conditions for Running this DTC until the scan tool indicates the diagnostic Ran.

Does the scan tool indicate the diagnostic Passed?

--

Go to Step 16

Go to Step 2

16

Does the scan tool display any additional, undiagnosed DTCs?

--

Go to the applicable DTC table

System OK