GM Service Manual Online
For 1990-2009 cars only

Removal Procedure

  1. Remove the fuel tank. Refer to Fuel Tank and Evaporation Emission Canister Replacement .

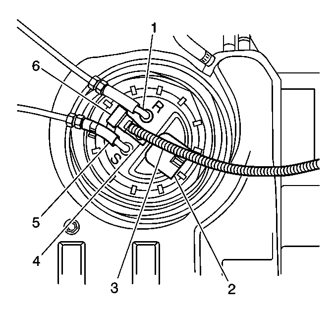
  2. Object Number: 658376  Size: SH

    Notice: Do not attempt to straighten any kinked nylon fuel lines. Replace any kinked nylon fuel feed or return pipes in order to prevent damage to the vehicle.

  3. Disconnect the fuel feed and return lines (1, 5) from the fuel sending unit and discard the clamps.

Installation Procedure

Caution: In order to reduce the risk of fire and personal injury observe the following items:

   • Replace all nylon fuel pipes that are nicked, scratched or damaged during installation, do not attempt to repair the sections of the nylon fuel pipes
   • Do not hammer directly on the fuel harness body clips when installing new fuel pipes. Damage to the nylon pipes may result in a fuel leak.
   • Always cover nylon vapor pipes with a wet towel before using a torch near them. Also, never expose the vehicle to temperatures higher than 115°C (239°F) for more than one hour, or more than 90°C (194°F) for any extended period.
   • Apply a few drops of clean engine oil to the male pipe ends before connecting fuel pipe fittings. This will ensure proper reconnection and prevent a possible fuel leak. (During normal operation, the O-rings located in the female connector will swell and may prevent proper reconnection if not lubricated.)

  1. Clean any contamination from the male line ends of the fuel sending unit.

  2. Object Number: 658376  Size: SH
  3. Connect the fuel feed and return lines to the fuel sending unit with new clamps.
  4. Install the fuel tank. Refer to Fuel Tank and Evaporation Emission Canister Replacement .