GM Service Manual Online
For 1990-2009 cars only

CAUTION: Be careful when you handle a sensing and diagnostic module (SDM). Do not strike or jolt the SDM. Before applying power to the SDM:

   • Remove any dirt, grease, etc. from the mounting surface
   • Position the SDM horizontally on the mounting surface
   • Point the arrow on the SDM toward the front of the vehicle
   • Tighten all of the SDM fasteners and SDM bracket fasteners to the specified torque value
Failure to follow the correct procedure could cause air bag deployment, personal injury, or unnecessary SIR system repairs.

Removal Procedure


    Object Number: 177725  Size: SH
  1. Disable the SIR system. Refer to Disabling the SIR System .
  2. Remove the lower center console (1). Refer to Console Replacement in Instrument Panel, Gauges, and Console.

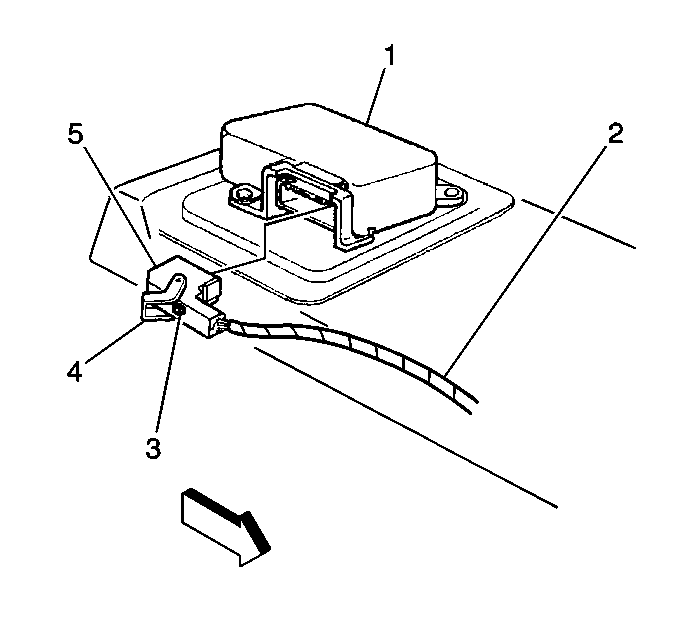
  3. Object Number: 255432  Size: SH
  4. Push in the locking tab (3) and release the connector position assurance (CPA) (4) from the inflatable restraint sensing and diagnostic and seat belt pretensioner module (SDM) wiring harness connector (5).
  5. Disconnect the SDM wiring harness connector (5) from the SDM (1).

  6. Object Number: 255434  Size: MH
  7. Remove the fasteners (1) from the SDM.
  8. Remove the SDM from the vehicle.

Installation Procedure

Important: The replacement inflatable restraint sensing and diagnostic and seat belt pretensioner module (SDM) must be programmed for use in the vehicle using a scan tool. Depending on the vehicle model year and options, the SDM may be programmed for one of the two following configurations:

   • Driver & Pass -- If the vehicle is equipped with frontal air bags and seat belt pretensioners.
   • Driv Pass & Side -- If the vehicle is equipped with frontal air bags, side air bags and seat belt pretensioners.
To program the replacement SDM, select the Programming option from the SIR menu on the scan tool. Choose the correct configuration when prompted by the scan tool. The SDM may only be programmed once. It is NOT reprogrammable


    Object Number: 255434  Size: MH
  1. Install the SDM (7) to the vehicle. Ensure that the arrow on the SDM points toward the front of the vehicle.
  2. Notice: Use the correct fastener in the correct location. Replacement fasteners must be the correct part number for that application. Fasteners requiring replacement or fasteners requiring the use of thread locking compound or sealant are identified in the service procedure. Do not use paints, lubricants, or corrosion inhibitors on fasteners or fastener joint surfaces unless specified. These coatings affect fastener torque and joint clamping force and may damage the fastener. Use the correct tightening sequence and specifications when installing fasteners in order to avoid damage to parts and systems.

  3. Install the fasteners (2) to the SDM.
  4. Tighten
    Use only hand tools to tighten the fasteners to 10 N·m (89 lb in).


    Object Number: 255432  Size: SH
  5. Install the SDM wiring harness connector (5).
  6. Engage and lock the SDM connector position assurance (CPA) (4).

  7. Object Number: 177725  Size: SH
  8. Install the lower center console. Refer to Console Replacement in Instrument Panel, Gauges, and Console.
  9. Enable the SIR system. Refer to Enabling the SIR System .