GM Service Manual Online
For 1990-2009 cars only

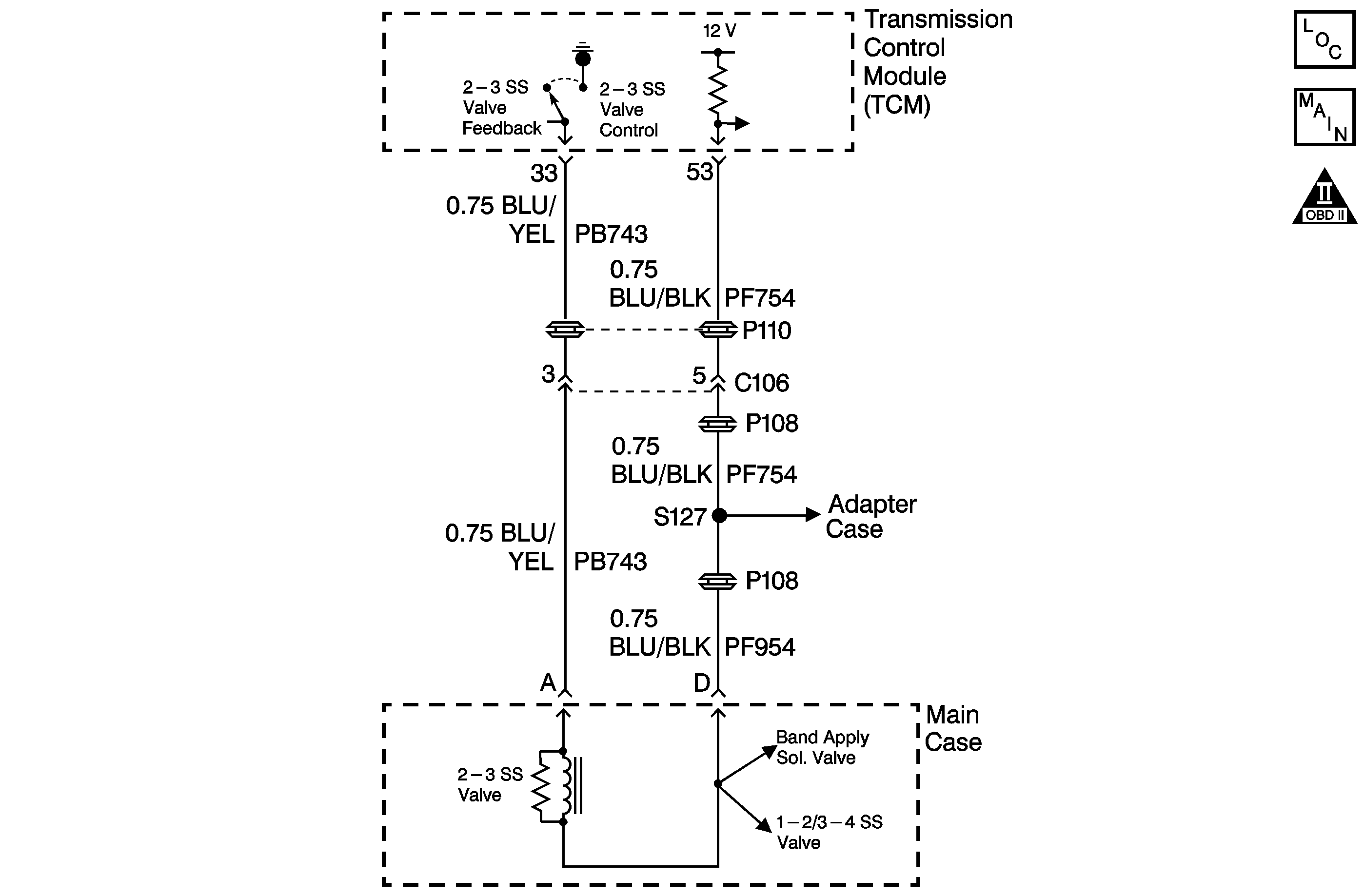
Object Number: 715918  Size: MF
Master Electrical Component List
Automatic Transmission Controls Schematics
OBD II Symbol Description Notice

Circuit Description

The 2-3 shift solenoid valve is located in the valve body of the transmission main case. The TCM selects the required gear by turning the appropriate solenoid ON or OFF, enabling the transmission to shift. Refer to Shift Solenoid Valve State and Gear Ratio .

The transmission control module (TCM) provides voltage to the solenoid through an internal power control relay. The TCM uses a second driver to control the solenoid ground. The controlled ground driver reports feedback voltage to the TCM. When the TCM commands the 2-3 shift solenoid valve ON, the voltage of the control circuit should be approximately 0 volts. When the TCM commands the 2-3 shift solenoid valve OFF, the voltage of the control circuit should be approximately system voltage.

When the TCM detects a continuous open, short to power or short to ground in the 2-3 Shift Solenoid valve circuit, then DTC P0758 sets. DTC P0758 is a type B DTC.

Conditions for Running the DTC

The ignition is ON.

The TCM power control relay is closed.

Conditions for Setting the DTC

DTC P0758 sets of any one of the following conditions occur in 0.18 seconds:

    • The 2-3 Shift Solenoid valve is commanded off and the feedback voltage is lower than 2.45 volts.
    • The 2-3 Shift Solenoid valve is commanded off and the feedback voltage is between 2.45 to 3.53 volts.
    • The 2-3 Shift Solenoid valve is commanded on and the feedback voltage is greater than 4.02 volts.

Action Taken When the DTC Sets

    • The TCM flashes the sport mode lamp and sends a MIL request to the ECM on the second consecutive drive trip that the diagnostic runs and fails. The ECM then illuminates the MIL.
    • The ECM records the operating conditions in the Freeze Frame at the time of the MIL request from the TCM.
    • The transmission operates in the default mode (maximum line pressure, command 4th gear, inhibit TCC, freeze shift adapts).

Conditions For Clearing the MIL/DTC

    • The ECM turns off the MIL after three consecutive drive trips during which the TCM sends no MIL request.
    • A History DTC clears after forty consecutive warm-up cycles, if no failures are present by this diagnostic or any other emission related diagnostic.
    • The scan tool clears the MIL/DTC.
    • The TCM cancels the DTC default mode actions when the ignition switch is Off long enough in order to power down the TCM.

Test Description

The numbers below refer to the step numbers on the diagnostic table.

  1. Listen for an audible click when the solenoid energizes.

Step

Action

Value(s)

Yes

No

1

Did you perform Powertrain On Board Diagnostic (OBD) System Check - Automatic Transmission ?

--

Go to Step 2

Go to Powertrain On Board Diagnostic (OBD) System Check - Automatic Transmission

2

  1. Install the Scan Tool .
  2. Turn ON the ignition with the engine OFF.
  3. Important: Record the Failure Records before clearing the DTCs. Using the Clear Info function erases the Failure Records from the ECM and the TCM.

  4. Record the DTC Freeze Frame and Failure Records.
  5. Clear the DTC.
  6. Use the Scan Tool in order to command the 2-3 Shift Solenoid ON.

Does the solenoid operate?

--

Go to Step 9

Go to Step 3

3

  1. Turn OFF the ignition.
  2. Disconnect the transmission main case 7-way harness connector.
  3. Install the J 44539 jumper harness to the TCM side of the 7-way connector.
  4. Turn ON the ignition with the engine OFF.
  5. Use the Scan Tool in order to command the Power Control Relay ON.
  6. With the J 35616-200 test light connected to ground, probe the TCM Power Relay output circuit (terminal D) of the jumper harness.

Does the test light illuminate?

--

Go to Step 4

Go to Step 7

4

  1. Turn OFF the ignition.
  2. Connect the J 44539 to the transmission side of the 7-way connector.
  3. Measure the resistance between terminals A and D of the jumper harness with the J 39200 .
  4. Refer to Component Resistance .

Is the resistance within the specified range?

--

Go to Step 5

Go to Step 8

5

Measure the resistance between terminal D of the J 44539 and a good ground on the transmission case with the J 39200 .

Is the resistance greater than the specified value?

50K ohms

Go to Step 6

Go to Step 8

6

Caution: When you are performing service on or near the SIR components or the SIR wiring, you must disable the SIR system. Refer to Disabling the SIR System. Failure to follow the correct procedure could cause air bag deployment, personal injury, or unnecessary SIR system repairs.

  1. Turn OFF the ignition.
  2. Disconnect the TCM.
  3. Test the 2-3 Solenoid Valve Control circuit (CKT PB743) for the following conditions:
  4. • Open circuit. Refer to Testing for Continuity in Wiring Systems.
    • Short to voltage. Refer to Testing for a Short to Voltage in Wiring Systems.
    • Short to ground. Refer to Testing for Short to Ground in Wiring Systems.

Did you find a condition?

--

Go to Step 10

Go to Step 9

7

Caution: When you are performing service on or near the SIR components or the SIR wiring, you must disable the SIR system. Refer to Disabling the SIR System. Failure to follow the correct procedure could cause air bag deployment, personal injury, or unnecessary SIR system repairs.

  1. Turn OFF the ignition.
  2. Disconnect the TCM.
  3. Test the TCM Power Relay output circuit from the TCC Solenoid to the TCM (CKTs PF754 and PF954) for an open circuit. Refer to Testing for Continuity in Wiring Systems.

Did you find a condition?

--

Go to Step 10

Go to Step 9

8

  1. Remove the main case oil pan.
  2. Test the 2-3 Shift Solenoid wiring from the main case connector to the 2-3 Shift solenoid connector for the following conditions:
  3. • Open circuit. Refer to Testing for Continuity in Wiring Systems.
    • Short to voltage. Refer to Testing for a Short to Voltage in Wiring Systems.
    • Short to ground. Refer to Testing for Short to Ground in Wiring Systems.

Did you find a condition?

--

Go to Step 11

Go to Step 12

9

Replace the TCM.

Refer to Transmission Control Module Replacement .

Is the action complete?

--

Go to Step 13

--

10

Perform the necessary wiring repairs.

Refer to Wiring Repairs in Wiring Systems.

Is the action complete?

--

Go to Step 13

--

11

Replace the AT internal transmission wiring harness.

Refer to Control Valve Body .

Is the action complete?

--

Go to Step 13

--

12

Replace the 2-3 Shift Solenoid valve.

Refer to 1-2 and 3-4 Shift Solenoid Replacement .

Is the action complete?

--

Go to Step 13

--

13

Perform the following procedure in order to verify the repair:

  1. Clear the DTCs with the Scan Tool .
  2. Start the engine.
  3. Operate the vehicle in DRIVE, ensuring the 1-2, 2-3, and 3-4 shifts are completed at least once.

Did DTC P0758 reset?

--

Go to Step 1

System OK