GM Service Manual Online
For 1990-2009 cars only

Tools Required

J 39400-A Halogen Leak Detector

Removal Procedure

  1. Recover the refrigerant from the A/C system. Refer to Refrigerant Recovery and Recharging .
  2. Remove the intake air resonator. Refer to Intake Air Resonator Replacement in Engine Controls.
  3. Raise and support the vehicle. Refer to Lifting and Jacking the Vehicle in General Information.

  4. Object Number: 388315  Size: SH
  5. Remove the quick connect fitting from the compressor hose and discharge hose.

  6. Object Number: 153211  Size: SH
  7. Disconnect the A/C High pressure switch electrical connector.

  8. Object Number: 153196  Size: SH
  9. Disconnect the A/C pressure sensor electrical connector.

  10. Object Number: 153189  Size: SH
  11. Remove the condenser tube block fitting bolt.

  12. Object Number: 388312  Size: SH
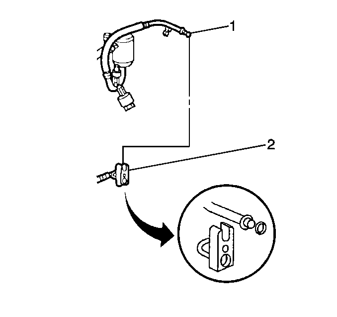
  13. Remove the discharge hose (1).
  14. Transfer the pressure switch and the A/C control switch.

Installation Procedure


    Object Number: 388312  Size: SH
  1. Install the discharge hose (1).

  2. Object Number: 153189  Size: SH

    Notice: Use the correct fastener in the correct location. Replacement fasteners must be the correct part number for that application. Fasteners requiring replacement or fasteners requiring the use of thread locking compound or sealant are identified in the service procedure. Do not use paints, lubricants, or corrosion inhibitors on fasteners or fastener joint surfaces unless specified. These coatings affect fastener torque and joint clamping force and may damage the fastener. Use the correct tightening sequence and specifications when installing fasteners in order to avoid damage to parts and systems.

  3. Install the condenser tube block fitting bolt.
  4. • Use new O-rings.
    • Lubricate the new O-rings with mineral oil, 525 viscosity.

    Tighten
    Tighten the condenser tube block fitting bolt to 27 N·m (20 lb ft).


    Object Number: 153196  Size: SH
  5. Connect the A/C pressure sensor electrical connector.

  6. Object Number: 153211  Size: SH
  7. Connect the A/C high pressure switch electrical connector.

  8. Object Number: 388315  Size: SH
  9. Install the compressor hose quick connect fitting to the discharge hose.
  10. • Use new O-rings.
    • Lubricate the new O-rings with mineral oil, 525 viscosity.
  11. Lower the vehicle.
  12. Install the intake air resonator. Refer to Intake Air Resonator Replacement in Engine Controls.
  13. Evacuate and recharge the A/C system. Refer to Refrigerant Recovery and Recharging .
  14. Leak test the fittings of the component using J 39400-A .