GM Service Manual Online
For 1990-2009 cars only

Removal Procedure


    Object Number: 163229  Size: SH
  1. Remove the rear compartment lid finish panel. Refer to Rear Compartment Lid Inner Panel Trim Replacement in Body Rear End.
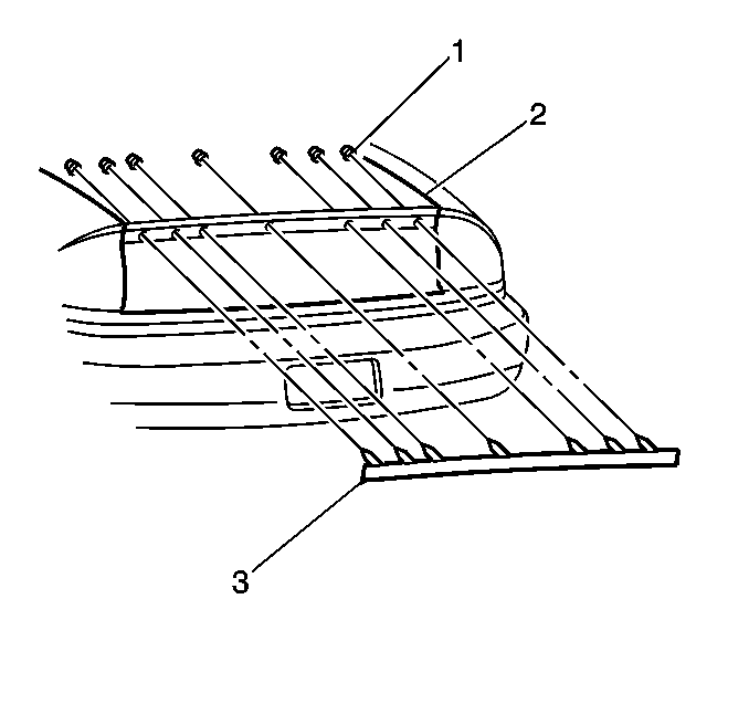
  2. Remove the electrical connector from the high-mount stoplamp (3).
  3. Remove the high-mount stoplamp nuts (1).
  4. Remove the high-mount stoplamp (3).

Installation Procedure


    Object Number: 163229  Size: SH
  1. Install the high-mount stoplamp (3).
  2. Notice: Use the correct fastener in the correct location. Replacement fasteners must be the correct part number for that application. Fasteners requiring replacement or fasteners requiring the use of thread locking compound or sealant are identified in the service procedure. Do not use paints, lubricants, or corrosion inhibitors on fasteners or fastener joint surfaces unless specified. These coatings affect fastener torque and joint clamping force and may damage the fastener. Use the correct tightening sequence and specifications when installing fasteners in order to avoid damage to parts and systems.

  3. Install the high-mount stoplamp nuts (1).
  4. Tighten
    Tighten the high-mount stoplamp nuts to 2 N·m (18 lb in).

  5. Install the electrical connector to the high-mount stoplamp (3).
  6. Install the rear compartment lid finish panel. Refer to Rear Compartment Lid Inner Panel Trim Replacement in Body Rear End.