GM Service Manual Online
For 1990-2009 cars only

Removal Procedure


    Object Number: 650515  Size: MH

    Important: The vehicle interface unit (VIU) has a specific set of unique numbers that tie the module to each vehicle. These numbers, the 10-digit station identification and the 11-digit electronic serial number, are used by the National Cellular Network and OnStar® to identify the specific vehicle. Because these numbers are tied to the vehicle identification number of the vehicle, you must never exchange these parts with those of another vehicle.

  1. Remove the left side trim from the rear compartment.
  2. Remove the spare tire.
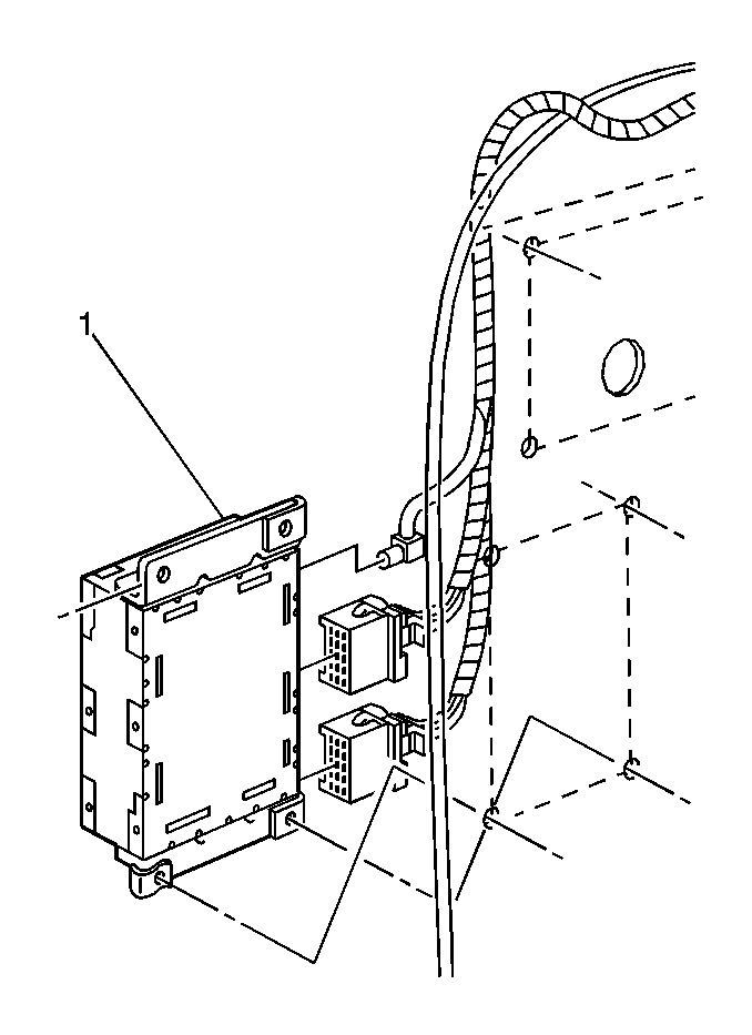
  3. Remove the VIU (1) and the bolts, including the electrical connection, from the side trim assembly of the rear compartment.

  4. Object Number: 650514  Size: SH
  5. The VIU is attached with L-brackets (1) which are screwed into the VIU unit, P/N 20472183. You can identify the VIU by the small, flat, and shiny metal case.
  6. The old VIU must be returned for core credit.

Installation Procedure


    Object Number: 650515  Size: MH
  1. Record the 10-digit STID number from the label on the new module.
  2. Notice: Refer to Fastener Notice in the Preface section.

  3. Install the VIU (1) and the bolts, including the electrical connection.
  4. Tighten
    Tighten the bolts to 0.2 N·m (1.6 lb in).

  5. Install the spare tire.
  6. Install the left side trim to the rear compartment.
  7. Important: After replacing the VIU, you must reconfigure the OnStar® system. Failure to reconfigure the system will result in an additional customer visit for repair.

  8. Reconfigure the OnStar® system. Refer to OnStar Reconfiguration .