GM Service Manual Online
For 1990-2009 cars only

Tools Required

J 42112 Differential Support Bushing Remover and Installer

Removal Procedure

  1. Raise and support the vehicle. Refer to Lifting and Jacking the Vehicle in General Information.
  2. Use a transmission jack to support the differential.

  3. Object Number: 218638  Size: SH
  4. Remove the differential support bracket lower bolts (1).

  5. Object Number: 229073  Size: SH
  6. Disconnect the automatic level control height sensor link.
  7. Slightly lower the front of the differential.

  8. Object Number: 218678  Size: SH
  9. Remove the differential support bracket upper bolt from the differential support bracket.
  10. Remove the differential support bracket.

  11. Object Number: 218681  Size: SH
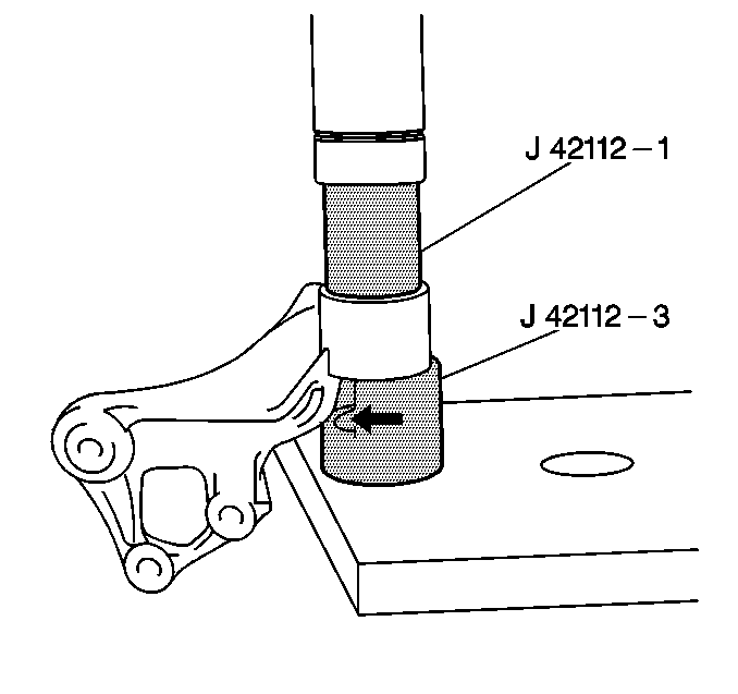
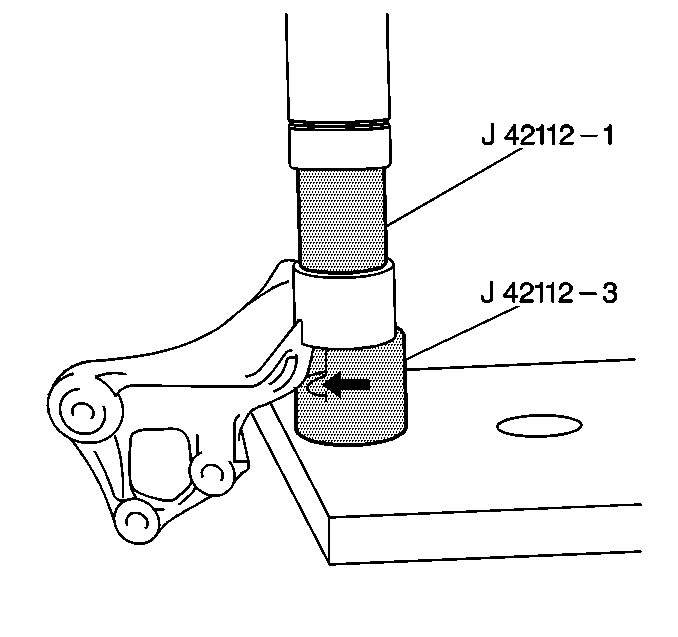
  12. In a press, assemble the components of the J 42112 in order to press the bushing from the bracket.

Installation Procedure


    Object Number: 218683  Size: SH
  1. Align the new bushing in the bracket so that the slots (arrows) on the rubber are parallel to the bracket.

  2. Object Number: 218685  Size: SH
  3. In a press, assemble the components of the J 42112 in order to press the bushing into the bracket.

  4. Object Number: 218678  Size: SH
  5. Install the upper bracket bolt through the bushing.
  6. The bolt cannot be inserted into the bushing when the bracket is in the installed position.

  7. Install the differential support bracket to the differential.

  8. Object Number: 218638  Size: SH

    Notice: Use the correct fastener in the correct location. Replacement fasteners must be the correct part number for that application. Fasteners requiring replacement or fasteners requiring the use of thread locking compound or sealant are identified in the service procedure. Do not use paints, lubricants, or corrosion inhibitors on fasteners or fastener joint surfaces unless specified. These coatings affect fastener torque and joint clamping force and may damage the fastener. Use the correct tightening sequence and specifications when installing fasteners in order to avoid damage to parts and systems.

  9. Install the differential support bracket lower bolts (1) to the differential support bracket (2).
  10. Tighten
    Tighten the differential support bracket lower bolts (1) to 90 N·m (66 lb ft) then an additional 38 degrees.

  11. Slightly raise the front of the differential.
  12. Install the differential support bracket.
  13. Install the differential support bracket upper bolt (1).
  14. Tighten
    Tighten the differential support bracket upper bolt (1) to 100 N·m (74 lb ft).


    Object Number: 229073  Size: SH
  15. Connect the automatic level control height sensor link.
  16. Remove the transmission jack.
  17. Lower the vehicle.