GM Service Manual Online
For 1990-2009 cars only

Tools Required

    • J 23084 Seal Protector
    • J 23075 Third Clutch/Servo Piston Spring Compressor
    • J 23075-12 Adapter
    • J 38450-A Third Clutch Snap Ring Compressor
    • J 36850 Transjel®

    Object Number: 174838  Size: SH
  1. Lubricate the third clutch piston inner seal (635) with DEXRON® III automatic transmission fluid.
  2. Install the third clutch piston inner seal (635). The seal lip faces the bottom of the housing.

  3. Object Number: 174840  Size: SH
  4. Lubricate the third clutch piston outer seal (637) with DEXRON® III automatic transmission fluid.
  5. Install the third clutch piston outer seal (637). The seal lip faces towards the bottom of the piston.

  6. Object Number: 174841  Size: SH
  7. Install J 23084 onto the third clutch piston (638).
  8. Install the third clutch piston into the clutch drum (634).
  9. Remove J 23084 .

  10. Object Number: 174843  Size: SH
  11. Install the third clutch piston return springs (611).
  12. Install the spring seat (639).
  13. Place the retaining ring (640) onto the housing.

  14. Object Number: 174831  Size: SH

    Notice: Do not over compress the spring or damage to the spring seat may occur.

  15. Compress the third clutch piston springs using J 23075 and J 23075-12 .
  16. Install the spring seat retainer ring (640).
  17. Remove the tools.

  18. Object Number: 174828  Size: SH
  19. Place the third clutch housing (634) upright into a soft jawed vise or use the overdrive internal gear (528) as a support.
  20. Install the third clutch cushion plate (641) into the third clutch housing. The cushion faces towards the third clutch housing (convex).
  21. Install the third clutch plates (642, 643, 674) into the third clutch housing beginning with a steel plate (642) and alternating with a composite plate (643).
  22. Align the third clutch plate inner tangs.

  23. Object Number: 174844  Size: SH
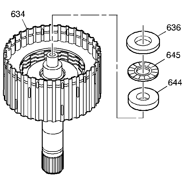
  24. Install the input shaft to sun gear bearing (645) and thrust washers (644,636) using J 36850 or equivalent, to hold the bearing and washers in place.