GM Service Manual Online
For 1990-2009 cars only

Tools Required

J 36850 Transjel®


    Object Number: 174898  Size: SH
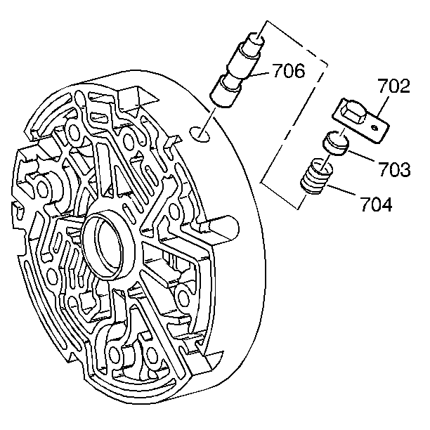
  1. Install the reverse lockout control valve (706).
  2. Install the reverse lockout control valve spring (704).
  3. Install the reverse lockout control valve plug (703).
  4. Install the reverse lockout control valve plug retainer plate (702).

  5. Object Number: 174897  Size: SH
  6. Install the overrun lockout valve (705).
  7. Install the overrun lockout valve spring (704).
  8. Install the overrun lockout valve plug (703).
  9. Install the overrun lockout valve plug retainer plate (702).

  10. Object Number: 203381  Size: SH
  11. Install the oil seal rings (32). Make sure the oil ring openings are not lined up. Retain with J 36850 or equivalent.