GM Service Manual Online
For 1990-2009 cars only

Tools Required

J 3387-2 Guide Pins

Important: Note the position of the valve lands and sleeves position when assembling the components into their bores.


    Object Number: 175345  Size: SH
  1. Install the 1-2 shift valve spring (305).
  2. Install the 1-2 shift valve (304).
  3. Install the 1-2 shift valve retainer (306). Compress the valve spring while installing the retainer.
  4. Install the 1-2 shift solenoid (303).
  5. Install the 1-2 shift solenoid retainer pin (302).

  6. Object Number: 175340  Size: SH
  7. Install the 2-3 shift valve spring (305).
  8. Install the 2-3 shift valve (308).
  9. Install the 2-3 shift valve retainer (306). Compress the valve spring while installing the retainer.
  10. Install the 2-3 shift solenoid (307).
  11. Install the 2-3 shift solenoid retainer pin (302).

  12. Object Number: 175325  Size: SH
  13. Install the low pressure control valve (312).
  14. Install the low pressure control valve spring (311).
  15. Install the low pressure control valve plug (310).
  16. Install the low pressure control valve plug retainer pin (302).

  17. Object Number: 175316  Size: SH
  18. Install the Band Control solenoid screen (324).
  19. Install the Band Control solenoid screen plug (325).
  20. Install the Band Control solenoid screen plug retaining pin (309).

  21. Object Number: 175309  Size: SH
  22. Install the 1-2 accumulator control valve (318).
  23. Install the 1-2 accumulator valve (320).
  24. Install the 1-2 accumulator valve bore plug (310).
  25. Install the 1-2 accumulator valve sleeve retainer pin (309).

  26. Object Number: 175314  Size: SH
  27. Install the Band Control solenoid waved washer (321) onto the solenoid.
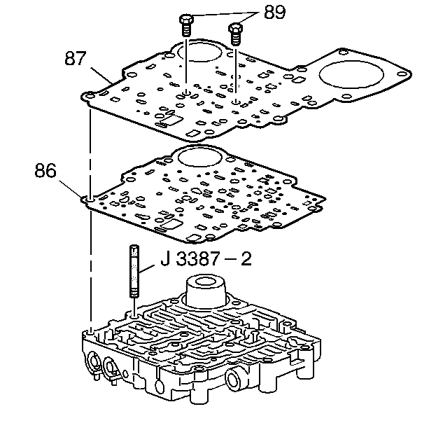
  28. Install the Band Control solenoid (323).
  29. Install the Band Control solenoid retaining pin (322).

  30. Object Number: 175352  Size: SH
  31. Install the check ball (85) into the control valve assembly passage.

  32. Object Number: 175355  Size: SH
  33. Install J 3387-2 .
  34. Install the control valve body to spacer plate gasket (86).
  35. Install the spacer plate (87).
  36. Notice: Use the correct fastener in the correct location. Replacement fasteners must be the correct part number for that application. Fasteners requiring replacement or fasteners requiring the use of thread locking compound or sealant are identified in the service procedure. Do not use paints, lubricants, or corrosion inhibitors on fasteners or fastener joint surfaces unless specified. These coatings affect fastener torque and joint clamping force and may damage the fastener. Use the correct tightening sequence and specifications when installing fasteners in order to avoid damage to parts and systems.

  37. Install the spacer plate bolts (89).
  38. Tighten
    Tighten the bolts to 13 N·m (113 lb in).

  39. Remove J 3387-2 .

  40. Object Number: 175356  Size: SH
  41. Install the manual valve (326).
  42. Install the manual valve link (58) into the manual valve (326). The long side of the manual valve link fits into the manual valve.