GM Service Manual Online
For 1990-2009 cars only
Makes
🢒
Cadillac
🢒
2001
🢒
Catera
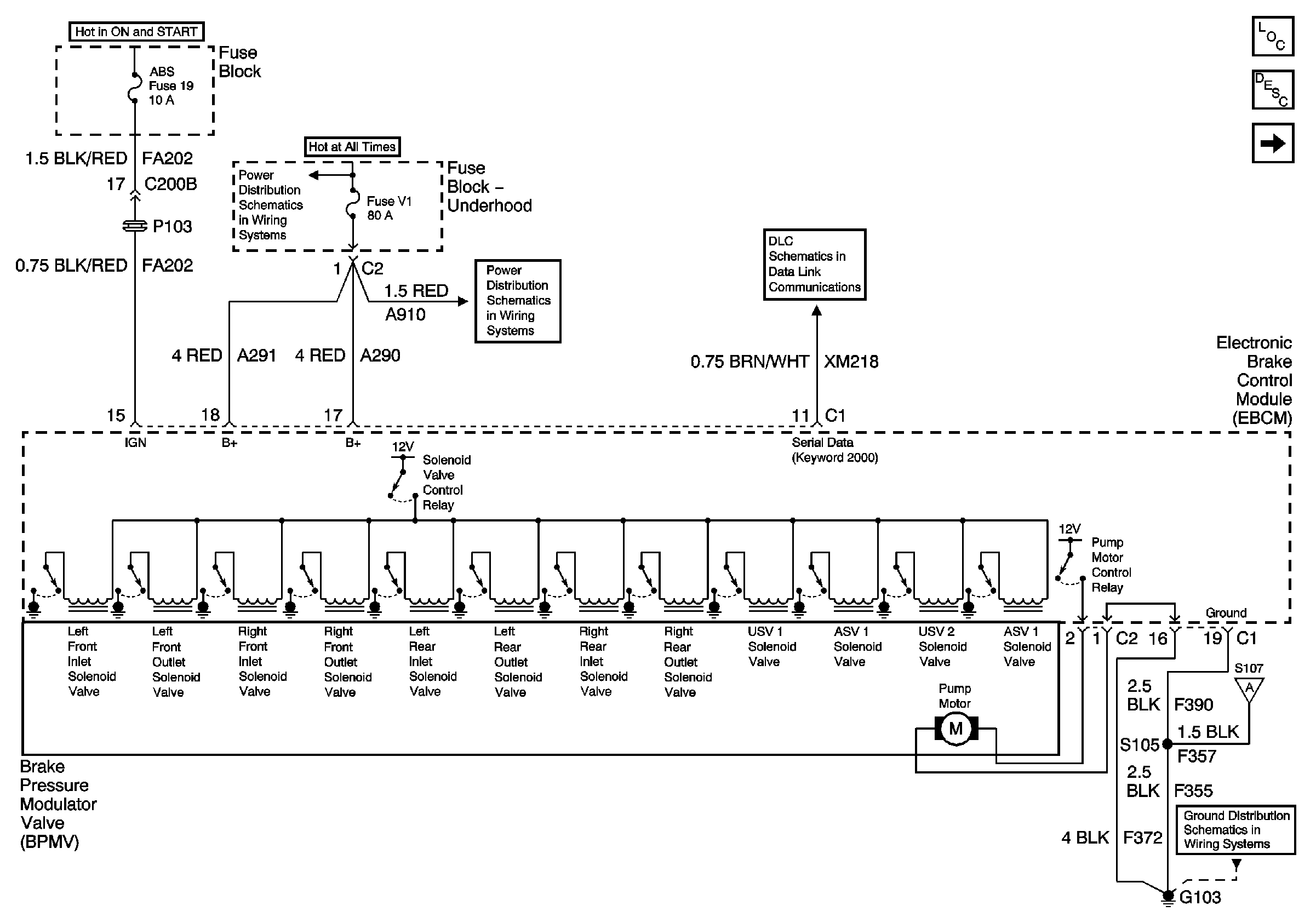
🢒 EBCM Power and Ground, BPMV and Serial Data
EBCM Power and Ground, BPMV and Serial Data
EBCM Power, Ground, and DLC