GM Service Manual Online
For 1990-2009 cars only
Makes
🢒
Cadillac
🢒
2001
🢒
Catera
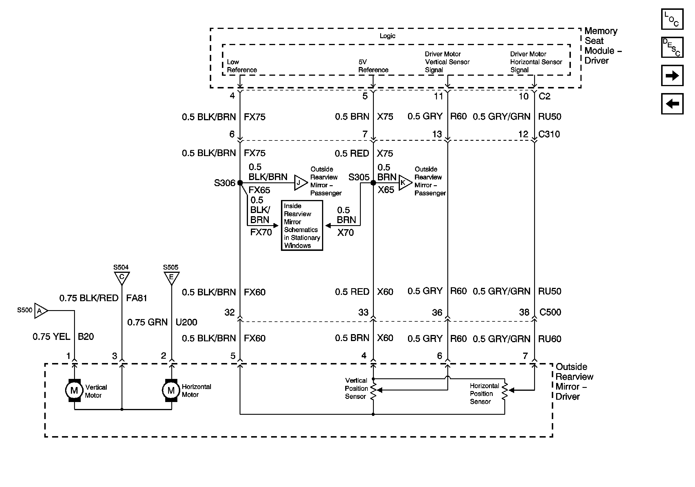
🢒 Memory Seat Module - Driver and Outside Rearview Mirror - Driver
Memory Seat Module - Driver and Outside Rearview Mirror - Driver
Memory Seat Module and Outside Rearview Mirror - Driver
Master Electrical Component List
Outside Mirror Description and Operation
Memory Seat Module - Driver and Outside Rearview Mirror - Passenger
Door Switch Driver and Memory Seat Module - Driver
Memory Seat Module - Driver and Outside Rearview Mirror - Passenger
Memory Seat Module - Driver and Outside Rearview Mirror - Passenger
Mirror Position Memory Controls
Door Switch Driver and Memory Seat Module - Driver
Door Switch Driver and Memory Seat Module - Driver
Door Switch Driver and Memory Seat Module - Driver