GM Service Manual Online
For 1990-2009 cars only

    Object Number: 72096  Size: SH
  1. Using a small screwdriver, pry out the piston pin retainers by using the removal access notch in the side of the piston. Discard the retainers after removal.
  2. Important: Be careful not to nick or gouge the piston or the retaining ring groove with the screwdriver if you plan to reuse the piston. If reusing the piston, DO NOT reuse the retainers after removal. Always use new piston pin retainers for assembly.


    Object Number: 52017  Size: SH
  3. Slide the piston pin out of the piston. The piston will disconnect from the connecting rod.

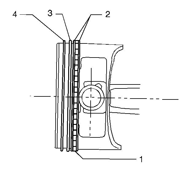
  4. Object Number: 53235  Size: SH

    Notice: You must use a piston ring expander to remove and install the piston rings. Only expand the rings far enough to fit over the piston lands. If the rings are overexpanded, the top ring will shatter and the others will distort.

  5. Remove the piston rings using a piston ring expander. Place each ring in a clean shop towel for storage.