 
REVISION:02/14/96
THIS BULLETIN IS BEING REVISED TO CORRECT THE LABOR OPERATION TIME. PLEASE DISCARD CORPORATE BULLETIN NUMBER 53-64-07 (SECTION 6 - ENGINE). *********************************************************************
BUILT PRIOR TO MODELS VIN BREAKPOINT ====== ==============
CONCOURS/DEVILLE TU242771 ELDORADO TU607345 SEVILLE TU812352
*********************************************************************
SOME OF THE ABOVE LISTED VEHICLES MAY EXHIBIT A LOOSE POSITIVE BATTERY CABLE (WILL NOT TIGHTEN PROPERLY) DURING PRE-DELIVERY INSPECTION.
THE SECONDARY BATTERY CABLE RING TERMINAL IS TOO THIN TO ALLOW PROPER CLAMPING FORCE.
INSTALL WASHER, P/N 10139097 OR EQUIVALENT, IN BATTERY CABLE ASSEMBLY. USE A COPPER OR GALVANIZED PLATED 10MM (3/8 INCH) WASHER, 18MM (11/16 INCH) DIAMETER, MINIMUM OF .6MM (0.025 INCH) THICK.
1. DISCONNECT NEGATIVE BATTERY CABLE FROM BATTERY.
2. DISCONNECT POSITIVE BATTERY CABLES FROM BATTERY.
3. DISASSEMBLE POSITIVE BATTERY CABLES, INNER CABLE FROM OUTER CABLE.
4. REMOVE LEAD RING TERMINAL FROM INNER BATTERY CABLE HOUSING.
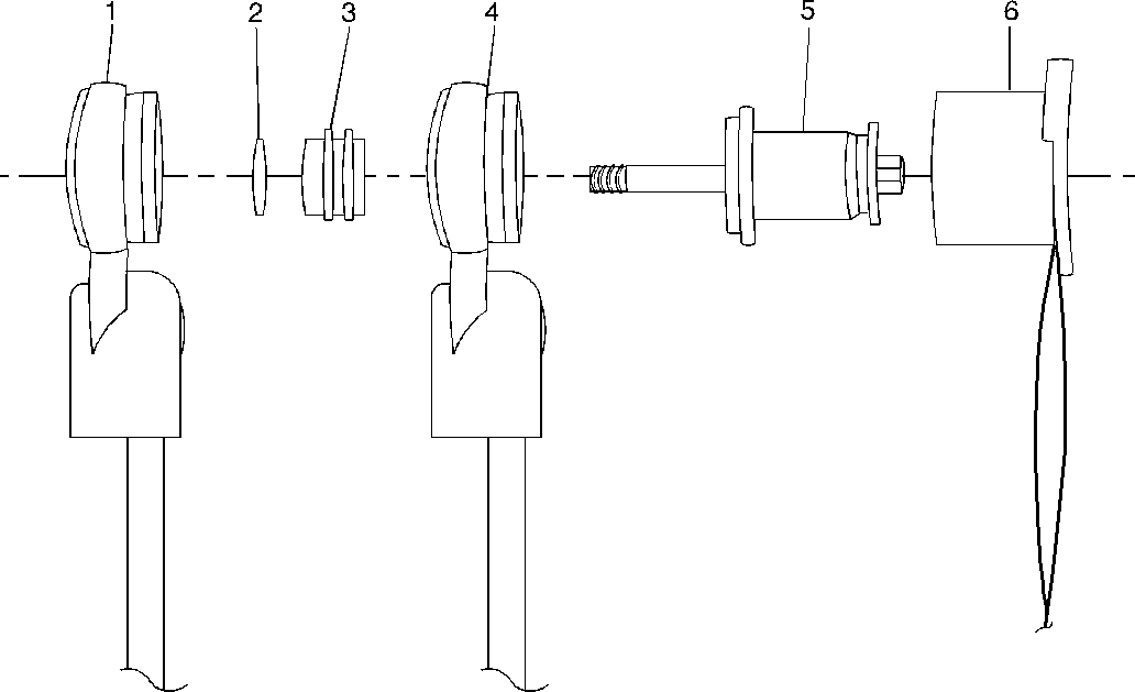
5. INSTALL WASHER, P/N 10139097 OR EQUIVALENT, INTO INNER BATTERY CABLE HOUSING CAVITY. USE A COPPER OR GALVANIZED PLATED 10MM (3/8 INCH) WASHER, 18MM (11/16 INCH) DIAMETER, MINIMUM OF .6MM (0.025 INCH) THICK. REFER TO FIGURE 1.
6. INSTALL LEAD RING TERMINAL INTO INNER BATTERY CABLE HOUSING.
7. REASSEMBLE POSITIVE BATTERY CABLES.
8. RECONNECT POSITIVE BATTERY CABLE TO BATTERY, TIGHTEN TO 18 N.M (13.5 LB FT).
9. RECONNECT NEGATIVE BATTERY CABLE TO BATTERY, TIGHTEN TO 18 N.M (13.5 LB FT).
PARTS ARE CURRENTLY AVAILABLE FROM GMSPO.
FOR VEHICLES REPAIRED UNDER WARRANTY, USE:
LABOR OPERATION NUMBER: N0120 LABOR TIME: 0.2 HR.
FIGURES: 01 ATTACHMENTS: 00
FIGURE 1: 1. INNER BATTERY CABLE 2. WASHER 3. LEAD RING TERMINAL 4. OUTER BATTERY CABLE 5. BATTERY CABLE TERMINAL BOLT 6. BATTERY CABLE TERMINAL COVER
 
 
GENERAL MOTORS BULLETINS ARE INTENDED FOR USE BY PROFESSIONAL TECHNICIANS, NOT A "DO-IT-YOURSELFER". THEY ARE WRITTEN TO INFORM THOSE TECHNICIANS OF CONDITIONS THAT MAY OCCUR ON SOME VEHICLES, OR TO PROVIDE INFORMATION THAT COULD ASSIST IN THE PROPER SERVICE OF A VEHICLE. PROPERLY TRAINED TECHNICIANS HAVE THE EQUIPMENT, TOOLS, SAFETY INSTRUCTIONS AND KNOW-HOW TO DO A JOB PROPERLY AND SAFELY. IF A CONDITION IS DESCRIBED, DO NOT ASSUME THAT THE BULLETIN APPLIES TO YOUR VEHICLE, OR THAT YOUR VEHICLE WILL HAVE THAT CONDITION. SEE A GENERAL MOTORS DEALER SERVICING YOUR BRAND OF GENERAL MOTORS VEHICLE FOR INFORMATION ON WHETHER YOUR VEHICLE MAY BENEFIT FROM THE INFORMATION.
COPYRIGHT 1996 GENERAL MOTORS CORPORATION. ALL RIGHTS RESERVED.