GM Service Manual Online
For 1990-2009 cars only

Object Number: 15698  Size: MF
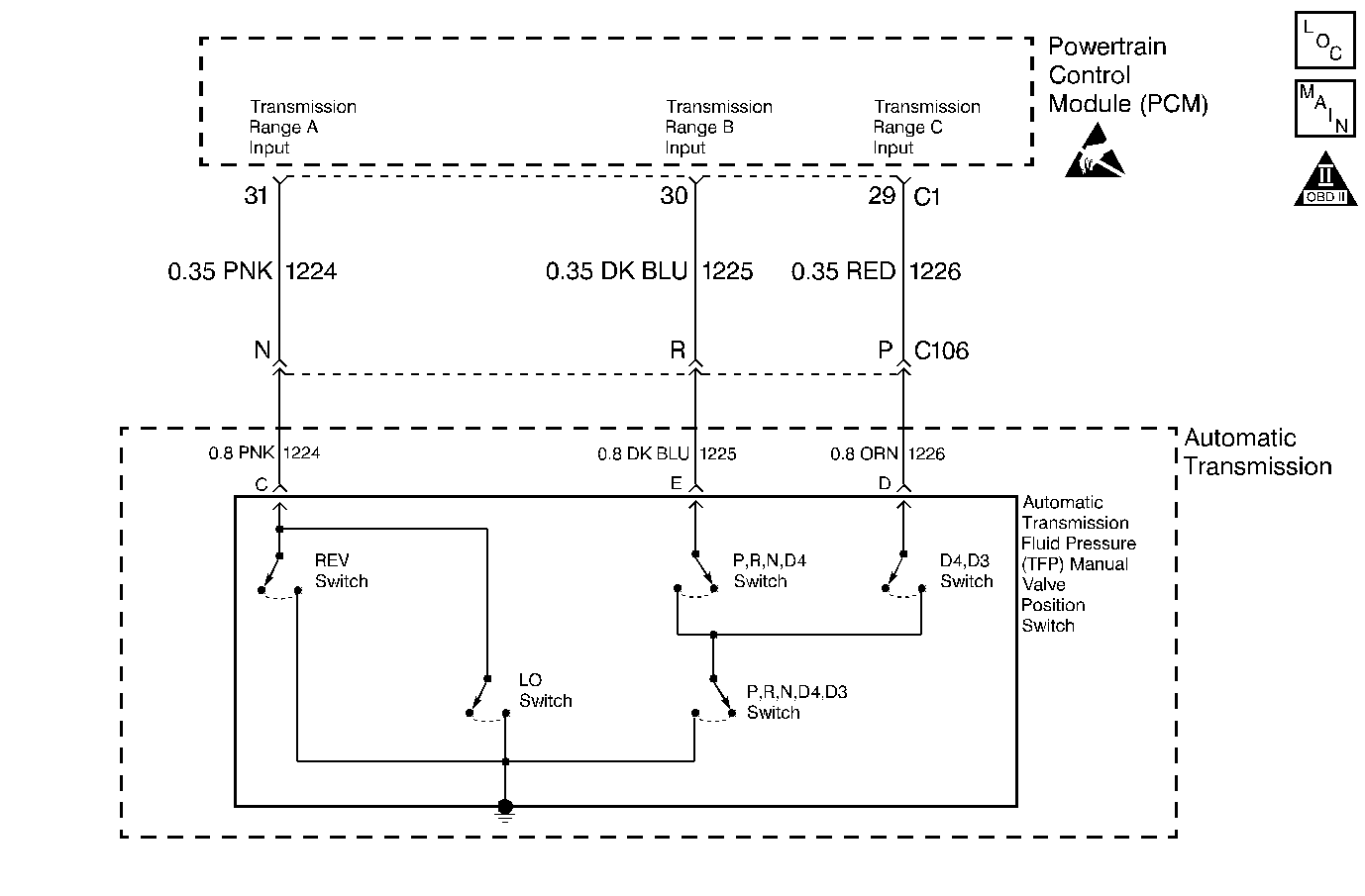
Automatic Transmission Components
TFP Val. Position Sw., TFT Sensor, and A/T ISS Sensor
OBD II Symbol Description Notice
Handling ESD Sensitive Parts Notice

Circuit Description

The Automatic Transmission Fluid Pressure Manual Valve Position switch (TFP Val. Position Sw.) consists of five normally open switches. Ignition voltage is applied to each of the switches. By grounding one or more of these switches with fluid pressure from the manual valve, the PCM can detect which gear range is selected.

When the PCM detects an invalid combination of the TFP Val. Position Sw., then DTC P1810 sets. DTC P1810 is a Type A DTC.

Conditions for Setting the DTC

    • No MAP DTCs P0101, P0102 or P0103 are set.
    • No TP DTCs P0121, P0122 or P0123 are set.
    • No VSS DTCs P0502 or P0503 are set.
    • No A/T ISS DTCs P0716 or P0717 are set.
    • Ignition voltage is between 10 volts and 17 volts.
    • Not in fuel shut off.

Failure Criteria

Case 1

    • Engine running for more than 4 seconds.
    • An illegal TFP Val Position Sw. value of 000 or 010 exists for 4 seconds.

Case 2

    • Engine running for more than 5 seconds.
    • The vehicle speed is greater than 11 km/h (7 mph).
    • The throttle angle is greater than 11°.
    • The delivered torque is 109-270 N·m (80-200 lb ft).
    • The TFP Val. Position Sw. indicates P/N and the ratio indicates Reverse or Drive for 4 seconds.

Case 3

    • Engine running for more than 5 seconds.
    • The vehicle speed is greater than 11 km/h (7 mph).
    • The throttle angle is greater than 11°.
    • The delivered torque is 109-270 N·m (80-200 lb ft).
    • The TFP Val. Position Sw. indicates Reverse and the ratio indicates Drive for 4 seconds.

Case 4

    • Engine running for more than 5 seconds.
    • The vehicle speed is greater than 11 km/h (7 mph).
    • The throttle angle is greater than 12°.
    • The TFP Val. Position Sw. indicates D4, D3, D2 or D1 and the ratio indicates Reverse.

Case 5

    • The engine is OFF.
    • The TFP Val. Position Sw. indicates D2 initially and does not indicate P/N within 4.95 seconds after the engine is running.
    • Discontinue case #5 if the engine is running for 5 seconds.
    • The vehicle speed is less than 8 km/h (5 mph).

Action Taken When the DTC Sets

    • The PCM illuminates the Malfunction Indicator Lamp (MIL).
    • SERVICE ENGINE SOON, SERVICE TRANSMISSION displays on the Driver Information Center (DIC).
    • The PCM substitutes the value of the previous TFP Val. Position Sw. if it is consistent with the Park/Neutral status.
    • The PCM commands default line pressure.
    • The PCM disables steady state adapts.
    • The PCM disables garage shift adapts.
    • The PCM inhibits Torque Converter Clutch.
    • The PCM inhibits torque management.
    • The PCM inhibits garage shift pressure calculation.

Conditions for Clearing the MIL/DTC

    • The PCM turns OFF the MIL after three consecutive ignition cycles without a failure reported.
    • A scan tool can clear the DTC from the PCM history. The PCM clears the DTC from the PCM history if the vehicle completes 40 warm-up cycles without a failure reported.
    • The PCM cancels the DTC default actions when the fault no longer exists and the ignition is OFF long enough in order to power down the PCM.

Diagnostic Aids

    • Inspect the wiring for poor electrical connections at the PCM. Inspect the wiring for poor electrical connections at the transmission 20-way connector. Inspect the wiring for poor electrical connections at the 5-way TFP Val. Position Sw. connector. Look for the following conditions:
       - A bent terminal
       - A backed out terminal
       - A damaged terminal
       - Poor terminal tension
       - A chafed wire
    • When diagnosing for an intermittent short or open condition, massage the wiring harness while watching the test equipment for a change.
    • If a transmission overhaul was performed, ensure that the transmission fluid is at the proper level. A low fluid condition may set this DTC.
    • Diagnose DTC 1520 first, if set.
    • Inspect the TFP Val. Position Sw. seals for damage.
    • Inspect the TFP Val. Position Sw. for debris.

Test Description

The numbers below refer to the step numbers on the diagnostic chart.

  1. This Step ensures that you perform the Powertrain On-Board Diagnostic System Check.

  2. This Step ensures that you verify the transmission fluid level, and that the fluid is at the proper level.

  3. Important: The scan tool display indicates ON and OFF:

    ON = Switch is Closed

    OFF = Switch is Open

    This Step isolates the Automatic Transmission Wiring Harness from the Engine Wiring Harness. If the scan tool display does not match the value column, the source of the DTC may be in the Engine Wiring Harness.

  4. This Step inspects circuit 1224 of the Engine Wiring Harness for a short to ground.

  5. This Step inspects circuit 1225 of the Engine Wiring Harness for a short to ground.

  6. This Step inspects circuit 1226 of the Engine Wiring Harness for a short to ground.

  7. This Step verifies that circuit 1224 and circuit 1225 of the Engine Wiring Harness are shorted together and shorted to ground.

  8. This Step verifies that circuit 1224 and circuit 1226 of the Engine Wiring Harness are shorted together and shorted to ground.

  9. This Step verifies that circuit 1225 and circuit 1226 of the Engine Wiring Harness are shorted together and shorted to ground.

  10. This Step verifies that circuit 1224, circuit 1225 and circuit 1226 of the Engine Wiring Harness are shorted together and shorted to ground.

  11. This Step uses the Jumper Harness in order to test the Engine Wiring Harness circuits. With this Step, the scan tool displays a good circuit 1224.

  12. This Step inspects circuit 1224 of the Engine Wiring Harness for an open.

  13. This Step verifies that circuit 1224 and circuit 1225 of the Engine Wiring Harness are shorted together.

  14. This Step verifies that circuit 1224 and circuit 1226 of the Engine Wiring Harness are shorted together.

  15. This Step moves the fused jumper from terminal N to terminal R in order to test Engine Wiring Harness circuit 1225.

  16. This Step inspects circuit 1225 of the Engine Wiring Harness for an open.

  17. This Step verifies that circuit 1225 and circuit 1224 of the Engine Wiring Harness are shorted together.

  18. This Step verifies that circuit 1225 and circuit 1226 of the Engine Wiring Harness are shorted together.

  19. This Step moves the fused jumper from terminal R to terminal P in order to test Engine Wiring Harness circuit 1226.

  20. This Step inspects circuit 1226 of the Engine Wiring Harness for an open.

  21. This Step inspects circuits 1226 and 1225 of the Engine Wiring Harness for a short together.

  22. This Step inspects circuits 1226 and 1224 of the Engine Wiring Harness for a short together.

  23. This Step uses the jumper harness in order to test the Automatic Transmission Wiring Harness. If the ohmmeter display does not match the value column, then either the Automatic Transmission Wiring Harness or the TFP Val. Position Sw. Assembly is the source of the DTC. One ohmmeter probe is connected to terminal N of the Automatic Transmission Wiring Harness. The other ohmmeter probe is then connected to the transmission case. This Step determines whether circuit 1224 is faulty.

  24. This Step inspects circuit 1224 of the Automatic Transmission Wiring Harness for a short to ground. If you find a short to ground on circuit 1224, you must replace the harness.

  25. This Step moves the meter probe from terminal N to terminal R for testing the Automatic Transmission Wiring Harness.

  26. This Step inspects circuit 1225 of the Automatic Transmission Wiring Harness for a short to ground. If you find a short to ground on circuit 1225, you must replace the harness.

  27. This Step moves the meter probe from terminal R to terminal P for testing the Automatic Transmission Wiring Harness.

  28. This Step inspects circuit 1226 of the Automatic Transmission Wiring Harness for a short to ground. If you find a short to ground on circuit 1226, you must replace the harness.

  29. The engine is running so that transmission fluid is applied to the pressure switches. The ohmmeter verifies that the Automatic Transmission Wiring Harness circuits are open. This Step verifies that circuit 1224 is faulty.

  30. This Step inspects circuit 1224 of the Automatic Transmission Wiring Harness for an open. If you find an open on circuit 1224, you must replace the harness.

  31. This Step moves the meter probe terminal N to terminal R in order to test Automatic Transmission Wiring Harness.

  32. This Step inspects circuit 1225 of the Automatic Transmission Wiring Harness for an open. If you find an open on circuit 1225, you must replace the harness.

  33. This Step moves the meter probe from terminal R to terminal P in order to test Automatic Transmission Wiring Harness.

  34. This Step inspects circuit 1226 of the Automatic Transmission Wiring Harness for an open. If you find an open on circuit 1226, you must replace the harness.

  35. This Step replaces the TFP Val. Position Sw. after you have validated all the circuits of the Engine Wiring Harness and the Automatic Transmission Wiring Harness. A fault within the TFP Val. Position Sw. may set DTC P1810. Debris lodges within the pressure switch could result in the switch being stuck OPEN or stuck CLOSED. Inspect the TFP Val. Position Sw. seals for damage. Damaged seals result in low fluid pressure on the switch.

  36. This Step replaces the PCM after you have validated all the circuits of the Engine Wiring Harness.

DTC P1810 Automatic Transmission Fluid Pressure Switch Assembly Malfunction

Step

Action

Value(s)

Yes

No

1

Was the Powertrain On-Board Diagnostic (OBD) System Check performed?

--

Go to Step 2

Go to A Powertrain On Board Diagnostic (OBD) System Check

2

Have you performed the transmission fluid checking procedure?

--

Go to Step 3

Go to Transmission Fluid Check

3

  1. Install the scan tool (tech 1) .
  2. With the engine OFF, turn the ignition switch to the RUN position.
  3. Important: Before clearing the DTCs, use the scan tool in order to record the Freeze Frame and Failure Records for reference. The Clear Info function will erase the data.

  4. Record the DTC Freeze Frame and Failure Records.
  5. Select the TFP Switch data parameter.
  6. Disconnect the transmission 20-way connector.

Important: The scan tool will display ON and OFF.

ON = Switch is Closed

OFF = Switch is Open

Does the scan tool display match the specified parameters?

Range A/B/C

Off Off Off

Go to Step 18

Go to Step 4

4

Does the scan tool display match the specified parameters?

Range A/B/C

On Off Off

Go to Step 5

Go to Step 6

5

Inspect and repair circuit 1224 of the Engine Wiring Harness. Refer to Electrical Diagnosis, Section 8.

Did you find and correct the condition?

--

Go to Step 53

Go to Step 37

6

Does the scan tool display match the specified parameters?

Range A/B/C

Off On Off

Go to Step 7

Go to Step 8

7

Inspect and repair circuit 1225 of the Engine Wiring Harness. Refer to Electrical Diagnosis, Section 8.

Did you find and correct the condition?

--

Go to Step 53

Go to Step 37

8

Does the scan tool display match the specified parameters?

Range A/B/C

Off Off On

Go to Step 9

Go to Step 10

9

Inspect and repair circuit 1226 of the Engine Wiring Harness. Refer to Electrical Diagnosis, Section 8.

Did you find and correct the condition?

--

Go to Step 53

Go to Step 37

10

Does the scan tool display match the specified parameters?

Range A/B/C

On On Off

Go to Step 11

Go to Step 12

11

Inspect and repair circuit 1224 and circuit 1225 of the Engine Wiring Harness. Refer to Electrical Diagnosis, Section 8.

Did you find and correct the condition?

--

Go to Step 53

Go to Step 52

12

Does the scan tool display match the specified parameters?

Range A/B/C

On Off On

Go to Step 13

Go to Step 14

13

Inspect and repair circuit 1224 and circuit 1226 of the Engine Wiring Harness. Refer to Electrical Diagnosis, Section 8.

Did you find and correct the condition?

--

Go to Step 53

Go to Step 52

14

Does the scan tool display match the specified parameters?

Range A/B/C

Off On On

Go to Step 15

Go to Step 16

15

Inspect and repair circuit 1225 and circuit 1226 of the Engine Wiring Harness. Refer to Electrical Diagnosis, Section 8.

Did you find and correct the condition?

--

Go to Step 53

Go to Step 52

16

Does the scan tool display match the specified parameters?

Range A/B/C

On On On

Go to Step 17

--

17

Inspect and repair circuits 1224, 1225 and 1226 of the Engine Wiring Harness. Refer to Electrical Diagnosis, Section 8.

Did you find and correct the condition?

--

Go to Step 53

Go to Step 52

18

  1. Connect J 39775 Jumper Harness to the Engine Wiring Harness 20-way connector.
  2. Using J 35616-A connector test adapter kit, connect a fused Jumper from terminal N to a known good ground.

Does the scan tool display match the specified parameters?

Range A/B/C

On Off Off

Go to Step 25

Go to Step 19

19

Does the scan tool display match the specified parameters?

Range A/B/C

Off Off Off

Go to Step 20

Go to Step 21

20

Inspect and repair circuit 1224 of the Engine Wiring Harness. Refer to Electrical Diagnosis, Section 8.

Did you find and correct the condition?

--

Go to Step 53

Go to Step 52

21

Does the scan tool display match the specified parameters?

Range A/B/C

On On Off

Go to Step 22

Go to Step 23

22

Inspect and repair circuit 1224 and circuit 1225 of the Engine Wiring Harness. Refer to Electrical Diagnosis, Section 8.

Did you find and correct the condition?

--

Go to Step 53

Go to Step 52

23

Does the scan tool display match the specified parameters?

Range A/B/C

On Off On

Go to Step 24

--

24

Inspect and repair circuit 1224 and circuit 1226 of the Engine Wiring Harness. Refer to Electrical Diagnosis, Section 8.

Did you find and correct the condition?

--

Go to Step 53

Go to Step 52

25

Connect a fused Jumper from terminal R to a known good ground.

Does the scan tool display match the specified parameters?

Range A/B/C

Off On Off

Go to Step 32

Go to Step 26

26

Does the scan tool display match the specified parameters?

Range A/B/C

Off Off Off

Go to Step 27

Go to Step 28

27

Inspect and repair circuit 1225 of the Engine Wiring Harness. Refer to Electrical Diagnosis, Section 8.

Did you find and correct the condition?

--

Go to Step 53

Go to Step 52

28

Does the scan tool display match the specified parameters?

Range A/B/C

On On Off

Go to Step 29

Go to Step 30

29

Inspect and repair circuit 1224 and circuit 1225 of the Engine Wiring Harness. Refer to Electrical Diagnosis, Section 8.

Did you find and correct the condition?

--

Go to Step 53

Go to Step 52

30

Does the scan tool display match the specified parameters?

Range A/B/C

Off On On

Go to Step 31

Go to Step 32

31

Inspect and repair circuit 1225 and circuit 1226 of the Engine Wiring Harness. Refer to Electrical Diagnosis, Section 8.

Did you find and correct the condition?

--

Go to Step 53

Go to Step 52

32

Connect a fused Jumper from terminal P to a known good ground.

Does the scan tool display match the specified parameters?

Range A/B/C

Off Off On

Go to Step 39

Go to Step 33

33

Does the scan tool display match the specified parameters?

Range A/B/C

Off Off Off

Go to Step 34

Go to Step 35

34

Inspect and repair circuit 1226 of the Engine Wiring Harness. Refer to Electrical Diagnosis, Section 8.

Did you find and correct the condition?

--

Go to Step 53

Go to Step 52

35

Does the scan tool display match the specified parameters?

Range A/B/C

Off On On

Go to Step 36

Go to Step 37

36

Inspect and repair circuits 1226 and 1225 of the Engine Wiring Harness. Refer to Electrical Diagnosis, Section 8.

Did you find and correct the condition?

--

Go to Step 53

Go to Step 52

37

Does the scan tool display match the specified parameters?

Range A/B/C

On Off On

Go to Step 38

--

38

Inspect and repair circuits 1226 and 1224 of the Engine Wiring Harness. Refer to Electrical Diagnosis, Section 8.

Did you find and correct the condition?

--

Go to Step 53

Go to Step 52

39

  1. Disconnect J 39775 Jumper Harness from the Engine Wiring Harness.
  2. Connect J 39775 Jumper Harness to the Automatic Transmission 20-way connector.
  3. Connect an ohmmeter probe to terminal N. Connect the other probe to the transmission case.

Is the ohmmeter display less than the specified value?

1000ohms

Go to Step 40

Go to Step 41

40

Inspect circuit 1224 of the Automatic Transmission Wiring Harness. Refer to Electrical Diagnosis, Section 8.

Did you find and correct the condition?

--

Go to Step 53

Go to Step 51

41

Connect an ohmmeter probe to terminal R. Connect the other probe to the transmission case.

Is the ohmmeter display less than the value listed in the Value column?

1000ohms

Go to Step 42

Go to Step 43

42

Inspect circuit 1225 of the Automatic Transmission Wiring Harness. Refer to Electrical Diagnosis, Section 8.

Did you find and correct the condition?

--

Go to Step 53

Go to Step 51

43

Connect an ohmmeter probe to terminal P. Connect the other probe to the transmission case.

Is the ohmmeter display less than the value listed in the Value column?

1000ohms

Go to Step 44

Go to Step 45

44

Inspect circuit 1226 of the Automatic Transmission Wiring Harness. Refer to Electrical Diagnosis, Section 8.

Did you find and correct the condition?

--

Go to Step 53

Go to Step 51

45

  1. With the engine running at IDLE, place the gear select lever in the Reverse position.
  2. Connect an ohmmeter probe from terminal N to the transmission case.

Is the ohmmeter display less than the value listed in the Value column?

5ohms

Go to Step 47

Go to Step 46

46

Inspect circuit 1224 of the Automatic Transmission Wiring Harness. Refer to Electrical Diagnosis, Section 8.

Did you find and correct the condition?

--

Go to Step 53

Go to Step 51

47

Connect an ohmmeter probe from terminal R to the transmission case.

Is the ohmmeter display less than the value listed in the Value column?

5ohms

Go to Step 49

Go to Step 48

48

Inspect circuit 1225 of the Automatic Transmission Wiring Harness. Refer to Electrical Diagnosis, Section 8.

Did you find and correct the condition?

--

Go to Step 53

Go to Step 51

49

  1. Move the gear select lever into the D4 position.
  2. Connect an ohmmeter probe from terminal P to the transmission case.

Is the ohmmeter display less than the value listed in the Value column?

5ohms

Go to Step 52

Go to Step 50

50

Inspect circuit 1226 of the Automatic Transmission Wiring Harness. Refer to Electrical Diagnosis, Section 8.

Did you find and correct the condition?

--

Go to Step 53

Go to Step 51

51

If no opens, shorts to ground or shorts to power were found, replace the TFP Val. Position Switch. Refer to TFP Val. Position Sw. Replacement in On-Vehicle Service.

Is the replacement complete?

--

Go to Step 53

--

52

If no opens, shorts to ground or shorts to power were found, replace the PCM. Refer to PCM Replacement/Programming , Section 6.

Was the replacement complete?

--

Go to Step 53

--

53

In order to verify your repair, perform the following procedure:

  1. Select DTC.
  2. Select Clear Info.
  3. Operate the vehicle under the following conditions:
  4. 3.1. Road test the vehicle.
    3.2. Move the gear select lever through all the gear ranges.
    3.3. In the forward gears the following conditions must be met:
       • The TP is greater than 12°.
       • The vehicle speed is greater than 11 km/h (7 mph).
       • The engine torque is 109-270 N·m(80-200 lb ft).
  5. Select Specific DTC. Enter DTC P1810.

Has the test run and passed?

--

System OK

Begin the diagnosis again. Go to Step 1