GM Service Manual Online
For 1990-2009 cars only
Makes
🢒
Cadillac
🢒
1997
🢒
Concours
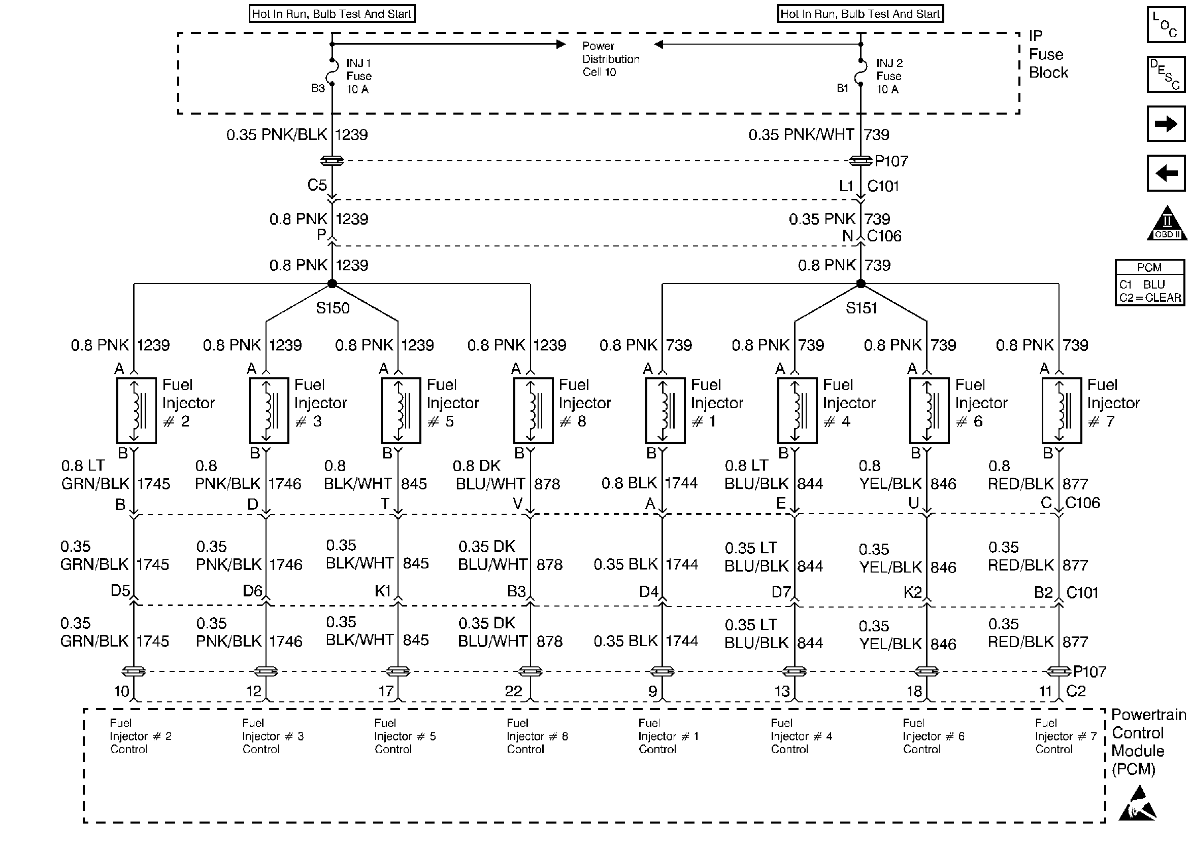
🢒 Fuel Injectors
Fuel Injectors
Fuel Injectors
IAT/ ECT/ TP/ MAP Sensors
Fuel Pump/Vehicle Theft Deterrent
Engine Controls Components
OBD II Symbol Description Notice
ESD Notice