GM Service Manual Online
For 1990-2009 cars only

Removal Procedure

Caution: Refer to Approved Equipment for Collision Repair Caution in the Preface section.


    Object Number: 1705075  Size: SH
  1. Remove all of the related panels and components.
  2. Restore as much of the damage as possible to the factory specifications.
  3. Note the location and remove the following as necessary:
  4. • The sealers
    • The sound deadeners
    • The anti-corrosion materials

    Object Number: 1705077  Size: SH

    Important: Drill through the hinge bracket only.

  5. Locate, and drill out all of the factory welds for installation of the service part.
  6. Use a grease pencil to mark the location of the hinge on the body.
  7. Important: Do not damage any of the inner panels or reinforcements.

  8. Remove the damaged hood hinge bracket.

Installation Procedure


    Object Number: 1705078  Size: SH
  1. In any area with excessive damage, space the plug weld holes 40 mm (1 1/2 in) apart.

  2. Object Number: 1705079  Size: SH

    Important: The new hinge has a dimple at the pivot bolt location.

  3. Drill an 8.5 mm (21/64 in) hole for the pivot bolt.
  4. Drill 8 mm (5/16 in) plug weld holes in the service part as necessary in the locations noted from the original panel.

  5. Object Number: 1705080  Size: SH
  6. Prepare all of the mating surfaces as necessary.
  7. Apply GM-approved Weld-Thru Coating or equivalent to all mating surfaces. Refer to Anti-Corrosion Treatment and Repair .
  8. Position the hinge bracket.

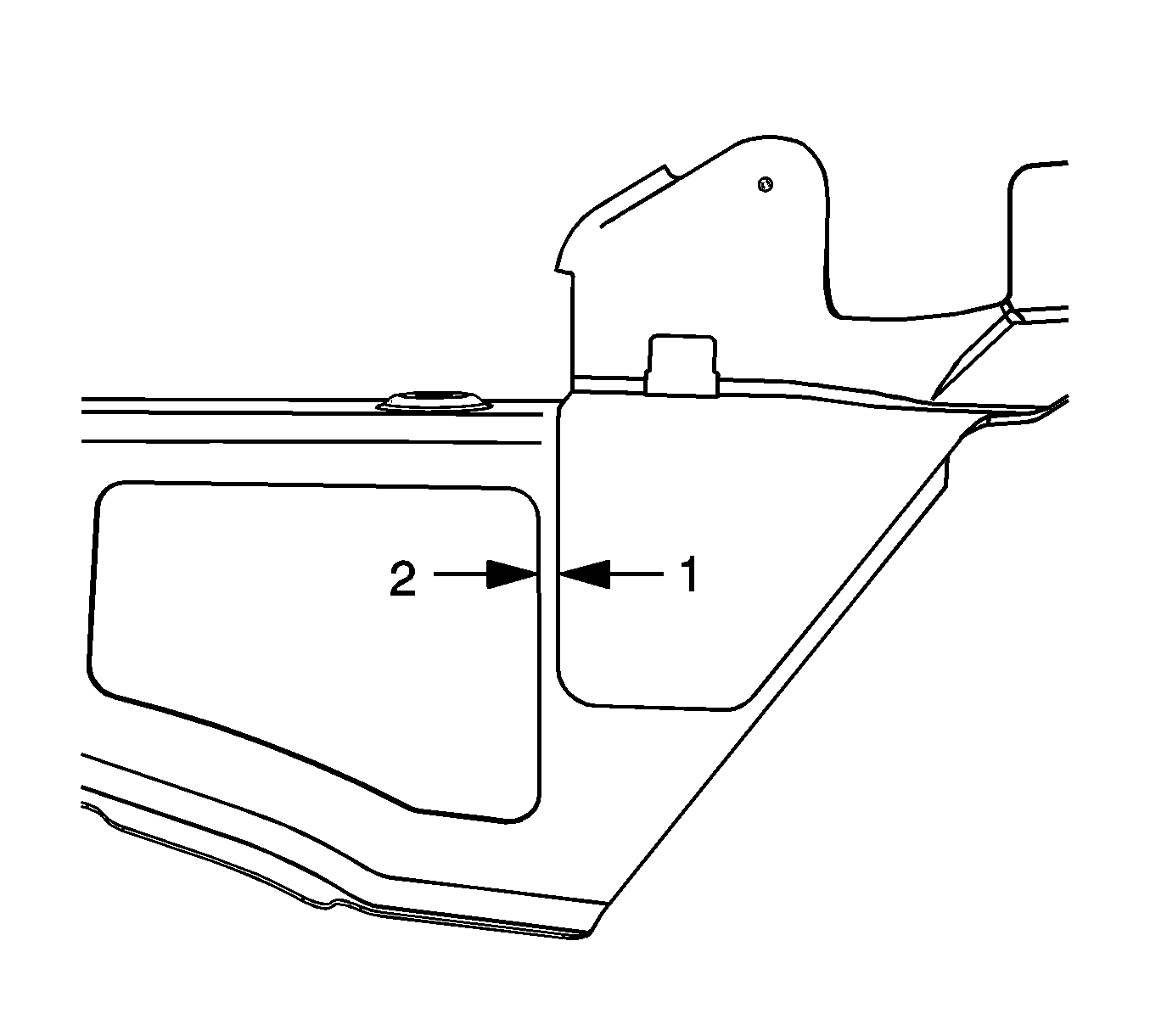
  9. Object Number: 1705081  Size: SH
  10. If the original location of the hinge can not be determined, locate the front edge of the hinge (1) 5.0 mm (3/16 in) from the rear edge of the clearance hole in the fender rail (2).

  11. Object Number: 1705082  Size: SH
  12. Plug weld accordingly.
  13. Apply 25 mm (1 in) stitch welds in two locations, as shown.

  14. Object Number: 1705084  Size: SH
  15. Clean and prepare all of the welded surfaces.
  16. Apply the following as necessary:
  17. •  The sound deadening materials
    • An approved anti-corrosion primer
    • The sealers and refinish as necessary
  18. Install all of the related panels and components.