GM Service Manual Online
For 1990-2009 cars only

Removal Procedure

Caution: Refer to Approved Equipment for Collision Repair Caution in the Preface section.

  1. Disable the SIR system. Refer to SIR Disabling and Enabling .
  2. Disconnect the negative battery cable. Refer to Battery Negative Cable Disconnection and Connection .

  3. Object Number: 1633156  Size: SH

    Caution: Sectioning should be performed only in the recommended areas. Failure to do so may compromise the structural integrity of the vehicle and cause personal injury if the vehicle is in a collision.

  4. Remove all related panels and components.
  5. Restore as much of the damage as possible.
  6. Remove the sealers and anti-corrosion materials from the repair area, as necessary. Refer to Anti-Corrosion Treatment and Repair .
  7. Note the location of the structural adhesive.

  8. Object Number: 619309  Size: SH

    Important: Do not damage any inner panels or reinforcements.

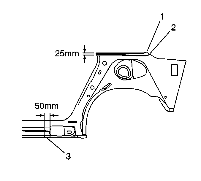
  9. Locate the horizontal laser-weld line (1) in the upper quarter area.
  10. Measure down 25 mm (1 in). Scribe a cut line (2).
  11. On the vehicle rocker area, locate and scribe a vertical cut line in the recommended section area (3).

  12. Object Number: 1633158  Size: SH
  13. Cut the panel to be sectioned.

  14. Object Number: 1633160  Size: SH

    Important: Note the number and location of the factory welds for installation of the inner quarter panel.

  15. Locate, mark, and drill out all the necessary factory welds.

  16. Object Number: 1633161  Size: SH
  17. Remove the damaged wheelhouse section.

Installation Procedure


    Object Number: 1633164  Size: SH
  1. Cut the service part in the corresponding locations to the sectioning cuts. Allow for a 50 mm (2 in) overlap at the wheelhouse (a) and the rocker panel (b).

  2. Object Number: 1633166  Size: SH
  3. At the cut edge of the service rocker panel, measure rearward 50 mm (2 in) (a). Notch out the rocker panel flange to allow an overlap to the rocker.

  4. Object Number: 1633167  Size: SH
  5. Drill 8 mm (5/16 in) plug weld holes along the sectioning cut on the original reinforcement. Locate these holes 25 mm (1 in) from the edge and spaced 40 mm (1½ in) apart.
  6. Important: If the location of the original plug weld holes can not be determined, space the plug weld holes every 40 mm (1 1/2 in) apart.

  7. Drill 8 mm (5/16 in) plug weld holes in the service reinforcement as necessary in the locations noted from the original panel.
  8. Prepare all mating surfaces as necessary.
  9. Apply 3M Weld-Thru Coating P/N 05913 or equivalent to all mating surfaces.

  10. Object Number: 1367195  Size: SH
  11. Align the service part on the vehicle using 3-dimensional measuring equipment.

  12. Object Number: 1633168  Size: SH
  13. Plug weld accordingly.
  14. To create a solid weld with minimum heat distortion, make 25 mm (1 in) stitch welds along the seam with 25 mm (1 in) gaps between them. Go back and complete the stitch weld.
  15. Clean and prepare all of the welded surfaces.
  16. Apply the sealers and anti-corrosion materials to the repair area, as necessary. Refer to Anti-Corrosion Treatment and Repair .
  17. Paint the repaired area. Refer to Basecoat/Clearcoat Paint Systems .
  18. Install all of the related panels and components.
  19. Connect the negative battery cable. Refer to Battery Negative Cable Disconnection and Connection .
  20. Enable the SIR system. Refer to SIR Disabling and Enabling .